欢迎来到知嘟嘟! 联系电话:13336804447 卖家免费入驻,海量在线求购! 卖家免费入驻,海量在线求购!
知嘟嘟
我要发布
联系电话:13336804447
知嘟嘟经纪人
收藏
专利号: 2018107022993
申请人: 芜湖凌梦电子商务有限公司
专利类型:发明专利
专利状态:已下证
专利领域: 医学或兽医学;卫生学
更新日期:2025-12-10
缴费截止日期: 暂无
价格&联系人
年费信息
委托购买

摘要:

权利要求书:

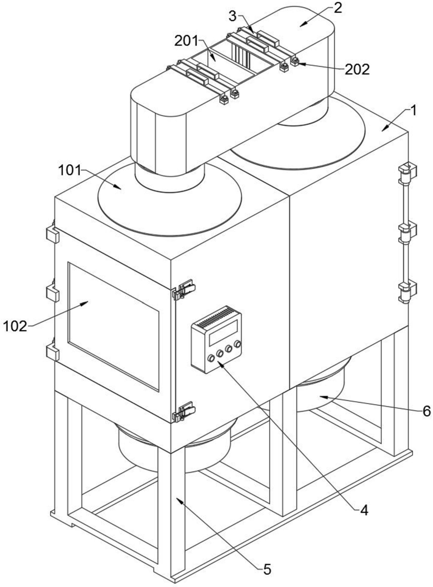
1.一种图书馆多本自助图书杀菌机,其特征在于:该图书馆多本自助图书杀菌机包括杀菌柜,聚风罩,柜门,轨道,定位板,除尘箱,隔板,螺纹台,竖直轨道,提拉板,控制面板盒,支撑框架,风机,紫外线灯管,杀菌框架,支撑螺纹杆,支撑定位轴,滑套,压紧框架,拉紧弹簧,折弯靠板,图书靠板,中间支撑轴,图书定位板,梅花螺帽,集尘滤网和钩环,杀菌机主体结构由左右两处所述杀菌柜焊接组合形成,且两处杀菌柜的底部支撑焊接有一处主体支撑框架;所述风机螺纹锁紧固定于杀菌柜的底板上,且风机的出风端对接于底板中心处的圆形通风口上;两处所述风机的顶板上均连通支撑有一处聚风罩,且此两处聚风罩的顶端又连接贯通支撑有一处除尘箱;所述除尘箱整体呈矩形设置,其中间支撑设置有一处隔板,且此隔板左右两侧的顶板上对称开设有两处矩形出风口;所述杀菌柜的右侧侧壁上转动铰接有一处中间带有视窗的柜门,且此柜门通过杀菌柜的左侧侧壁上两处按压锁扣拉紧定位;

所述杀菌柜的右侧侧壁上安装设置有一处控制面板盒,且控制面板盒与风机和紫外线灯管均为电性控制连接;所述杀菌柜顶端与底部的封闭空间中均支撑排列焊接有五处灯管支架,且此两排上下对应的十处灯管支架上均插接安装有一处紫外线灯管;所述杀菌柜左右内壁的上半部分位置上对称支撑有两处轨道,且杀菌框架就对应滑动插置于两处轨道的内部,进而杀菌框架被滑动支撑于杀菌柜上半部分的空间中;两处所述支撑螺纹杆,支撑定位轴,两处滑套,压紧框架,两处拉紧弹簧,图书靠板,中间支撑轴,图书定位板和两处梅花螺帽共同组成了一组完整的图书支撑压紧定位装置,其中图书靠板,中间支撑轴和图书定位板呈由左往右依次等距排列设置,且两处支撑螺纹杆对称撑于图书靠板的顶端端面上;所述杀菌框架整体呈方形设置,其左右滑动杆为半圆柱结构,且其内部由左往右依次排列焊接有三组图书支撑压紧定位装置;所述压紧框架连接压板外侧端面的左右两侧位置凸出支撑焊接有两处钩挂耳板,两处拉紧弹簧的尾端就转动钩挂于此两处钩挂耳板的中心挂孔中,且图书定位板的顶端端面上对称焊接有两处钩环,此两处钩环与两处钩挂耳板的位置对应,两处拉紧弹簧的首端挂钩就挂接于两处钩环的内部,进而压紧框架被两处拉紧弹簧拉紧定位。

2.如权利要求1所述图书馆多本自助图书杀菌机,其特征在于:所述隔板将除尘箱的内部空间一分为二形成两处除尘腔,此两处除尘腔的顶板上均贯穿开设有两处长条插槽,且两处除尘腔的左右内壁上与四处长条插槽对应焊接设置有四组竖直轨道,四处集尘滤网就通过与四组竖直轨道的对应插接被下滑插置于除尘箱的内部。

3.如权利要求1所述图书馆多本自助图书杀菌机,其特征在于:所述集尘滤网框架的顶端焊接固定有一处提拉板,此提拉板中间处支撑焊接有一处提手,其左右两端还对称焊接有两处向外侧支撑的折弯锁紧板,且除尘箱顶端四处长条插槽左右两侧的外壁上支撑焊接有四组螺纹台,当四处集尘滤网处于下插装配完成的状态时四处提拉板左右两端的四组折弯锁紧板恰好顶靠于四组螺纹台上,四处提拉板就通过其四组折弯锁紧板螺丝锁紧于四组螺纹台上。

4.如权利要求1所述图书馆多本自助图书杀菌机,其特征在于:所述图书靠板,中间支撑轴和图书定位板为图书支撑压紧定位装置的主体支撑结构,且中间支撑轴的左右两侧间隔形成有两处插槽。

5.如权利要求1所述图书馆多本自助图书杀菌机,其特征在于:所述支撑定位轴的左右两端均支撑焊接有一处滑套,其就通过此两处滑套套插于两处支撑螺纹杆上,进而支撑定位轴被滑动支撑于两处支撑螺纹杆之间。

6.如权利要求1所述图书馆多本自助图书杀菌机,其特征在于:所述两处支撑螺纹杆上均螺纹啮合有一处梅花螺帽,且此两处梅花螺帽位置于两处滑套的顶侧。

7.如权利要求1所述图书馆多本自助图书杀菌机,其特征在于:所述压紧框架整体呈凵(kan)字型设置,其左右侧板的尾端对称有两处轴套,且其就通过此两处轴套就转动套插于支撑定位轴上,进而压紧框架可绕支撑定位轴自由旋转。

8.如权利要求1所述图书馆多本自助图书杀菌机,其特征在于:所述杀菌框架左右滑动杆的后端位置支撑焊接有两处折弯靠板,且轨道顶板的前端位置均螺纹锁紧有一处定位板,当杀菌框架向外侧抽动时,随着杀菌框架的持续滑动两处折弯靠板会被顶靠于两处定位板的内侧端面上。

我要求购
我不想找了,帮我找吧
您有专利需要变现?
我要出售
智能匹配需求,快速出售