欢迎来到知嘟嘟! 联系电话:13336804447 卖家免费入驻,海量在线求购! 卖家免费入驻,海量在线求购!
知嘟嘟
我要发布
联系电话:13336804447
知嘟嘟经纪人
收藏
专利号: 2018106524013
申请人: 浙江麦知网络科技有限公司
专利类型:发明专利
专利状态:已下证
专利领域: 磨削;抛光
更新日期:2023-08-24
缴费截止日期: 暂无
价格&联系人
年费信息
委托购买

摘要:

权利要求书:

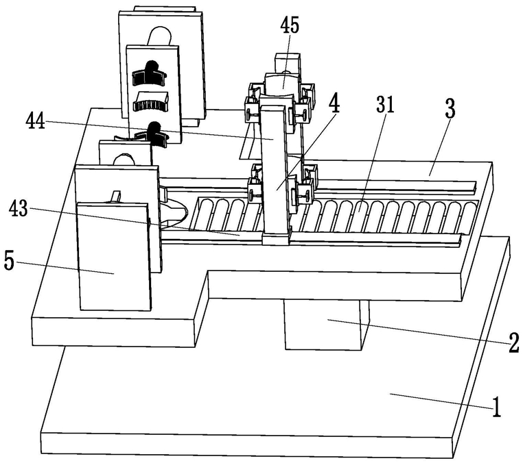
1.一种锂电池的打磨固定设备,包括支撑底板(1)、支撑柱(2)、传送支板(3)、传送装置(4)和固定装置(5),其特征在于:所述的传送支板(3)的左端中部上设置有圆孔,支撑底板(1)的顶部上安装有支撑柱(2),传送支板(3)安装在支撑柱(2)的顶部上,传送支板(3)的右端顶部上安装有传送装置(4),固定装置(5)安装在传送支板(3)的左端顶部上;其中:所述的传送支板(3)的左侧中部设置有方槽,传送支板(3)设置的方槽内均匀设置有传送滚轮(31),传送滚轮(31)通过销轴安装在传送支板(3)上方槽的侧壁上;

所述的传送装置(4)包括传送电动滑块(43)、传送立柱(44)和两个传送夹取支链(45),传送支板(3)的顶部前后两端上均安装有一个传送电动滑块(43),每个传送电动滑块(43)的顶部上均安装有一个传送立柱(44),每个传送立柱(44)的内侧面上均安装有两个传送夹取支链(45);

所述的固定装置(5)包括伸缩固定机构(51)、前侧立板(52)、旋转电机(53)、旋转滑槽(54)、旋转滑杆(55)、夹持机构(56)、后侧立板(57)、后侧转轴(58)和卡位机构(59),伸缩固定机构(51)的上端位于传送支板(3)的上设置的圆孔内,伸缩固定机构(51)的底部安装在支撑底板(1)上,前侧立板(52)安装在传送支板(3)的左端前侧上,前侧立板(52)的后侧面通过电机套安装有旋转电机(53),后侧立板(57)安装在传送支板(3)的左端后侧上,后侧立板(57)的前侧面通过轴承与后侧转轴(58)的后端相连接,夹持机构(56)的数量为二,旋转电机(53)的输出轴上安装有一个夹持机构(56),后侧转轴(58)的前端上安装有一个夹持机构(56),旋转滑槽(54)安装在前侧立板(52)的后侧面上,旋转滑杆(55)对称分布在旋转电机(53)的外侧,旋转滑杆(55)的后端安装在位于传送支板(3)前端的夹持机构(56)上,旋转滑杆(55)的前端通过滑动配合的方式与旋转滑槽(54)相连接,卡位机构(59)安装在后侧立板(57)的前侧面上;

所述的传送夹取支链(45)包括传送推杆(451)、传送弧形架(452)、传送转架(453)、传送侧支板(454)和转架角度推杆(455),传送推杆(451)的底部安装在传送立柱(44)的内侧面上,传送推杆(451)的顶部上安装有传送弧形架(452),传送弧形架(452)的左右两端均通过销轴安装有一个传送转架(453),每个传送转架(453)的内端上均安装有一个传送侧支板(454),转架角度推杆(455)位于传送转架(453)的外侧,转架角度推杆(455)通过铰链安装在传送转架(453)与传送弧形架(452)之间。

2.根据权利要求1所述的一种锂电池的打磨固定设备,其特征在于:所述的伸缩固定机构(51)包括固定液压缸(511)、固定连扳(512)、固定限位块(513)、夹紧推杆(514)和夹紧弧形板(515),固定液压缸(511)的底部安装在支撑底板(1)的左端顶部上,固定液压缸(511)的顶部上安装有固定连扳(512),固定连扳(512)位于传送支板(3)设置的圆孔内,固定连扳(512)为圆柱体结构,固定连扳(512)的中部设置有圆孔,固定连扳(512)的左端设置有弧形凸起,固定连扳(512)的中部前后两端均设置有一个方槽,固定连扳(512)上每个方槽的内侧壁上均与一个夹紧推杆(514)的底部相连接,夹紧推杆(514)的顶部上安装有夹紧弧形板(515),固定连扳(512)的左端顶部上安装有固定限位块(513),固定限位块(513)为弧形结构。

3.根据权利要求1所述的一种锂电池的打磨固定设备,其特征在于:所述的夹持机构(56)包括夹持推杆(561)、夹持板(562)、中部夹块(563)、夹持伸缩杆(564)、夹持弹簧(565)、夹持夹爪(566)、夹持滑柱(567)、滑柱弹簧(568)、伸缩夹爪(569)和夹持连扳(5610),位于传送支板(3)前侧夹持机构(56)上的夹持连扳(5610)安装在旋转电机(53)的输出轴上,位于传送支板(3)后侧夹持机构(56)上的夹持连扳(5610)安装在后侧转轴(58)的前端上,夹持板(562)通过夹持推杆(561)安装在夹持连扳(5610)的内侧面上,中部夹块(563)安装在夹持板(562)的内侧面中部上,中部夹块(563)的内端为弧形结构,中部夹块(563)的上下两端均分布有一个夹持伸缩杆(564),夹持伸缩杆(564)安装在夹持板(562)的内侧面上,每个夹持伸缩杆(564)的顶部上均安装有一个夹持夹爪(566),夹持伸缩杆(564)的外侧套装有夹持弹簧(565),夹持夹爪(566)的内端中部设置有卡齿凸起,夹持夹爪(566)的左右两端均设置有一个夹持滑柱(567),夹持滑柱(567)的中部通过滑动配合的方式与夹持夹爪(566)相连接,夹持滑柱(567)的内端上安装有伸缩夹爪(569),夹持滑柱(567)的外端外侧面设置有滑柱弹簧(568),滑柱弹簧(568)安装在夹持滑柱(567)的外端与夹持夹爪(566)的外侧面之间。

4.根据权利要求1所述的一种锂电池的打磨固定设备,其特征在于:所述的后侧转轴(58)的后端右侧上设置有转杆,后侧转轴(58)上的转杆外侧面为弧形面。

5.根据权利要求1所述的一种锂电池的打磨固定设备,其特征在于:所述的卡位机构(59)包括卡位固定座(591)、卡位伸缩座(592)、卡位伸缩杆(593)和卡位弹簧(594),卡位固定座(591)位于后侧转轴(58)的下方,卡位固定座(591)安装在后侧立板(57)的前侧面上,卡位伸缩座(592)位于后侧转轴(58)的上方,卡位伸缩座(592)为弧形结构,且卡位伸缩座(592)弧形结构的下端面为弧形面,卡位伸缩座(592)的顶部与卡位伸缩杆(593)的下端相连接,卡位伸缩杆(593)的上端安装在后侧立板(57)的上端前侧面上,卡位伸缩杆(593)的外侧上套装有卡位弹簧(594)。

6.根据权利要求1所述的一种锂电池的打磨固定设备,其特征在于:所述的传送侧支板(454)为弧形结构。