欢迎来到知嘟嘟! 联系电话:13336804447 卖家免费入驻,海量在线求购! 卖家免费入驻,海量在线求购!
知嘟嘟
我要发布
联系电话:13336804447
知嘟嘟经纪人
收藏
专利号: 2018106385699
申请人: 安徽工程大学
专利类型:发明专利
专利状态:已下证
专利领域: 工程元件或部件;为产生和保持机器或设备的有效运行的一般措施;一般绝热
更新日期:2023-07-19
缴费截止日期: 暂无
价格&联系人
年费信息
委托购买

摘要:

权利要求书:

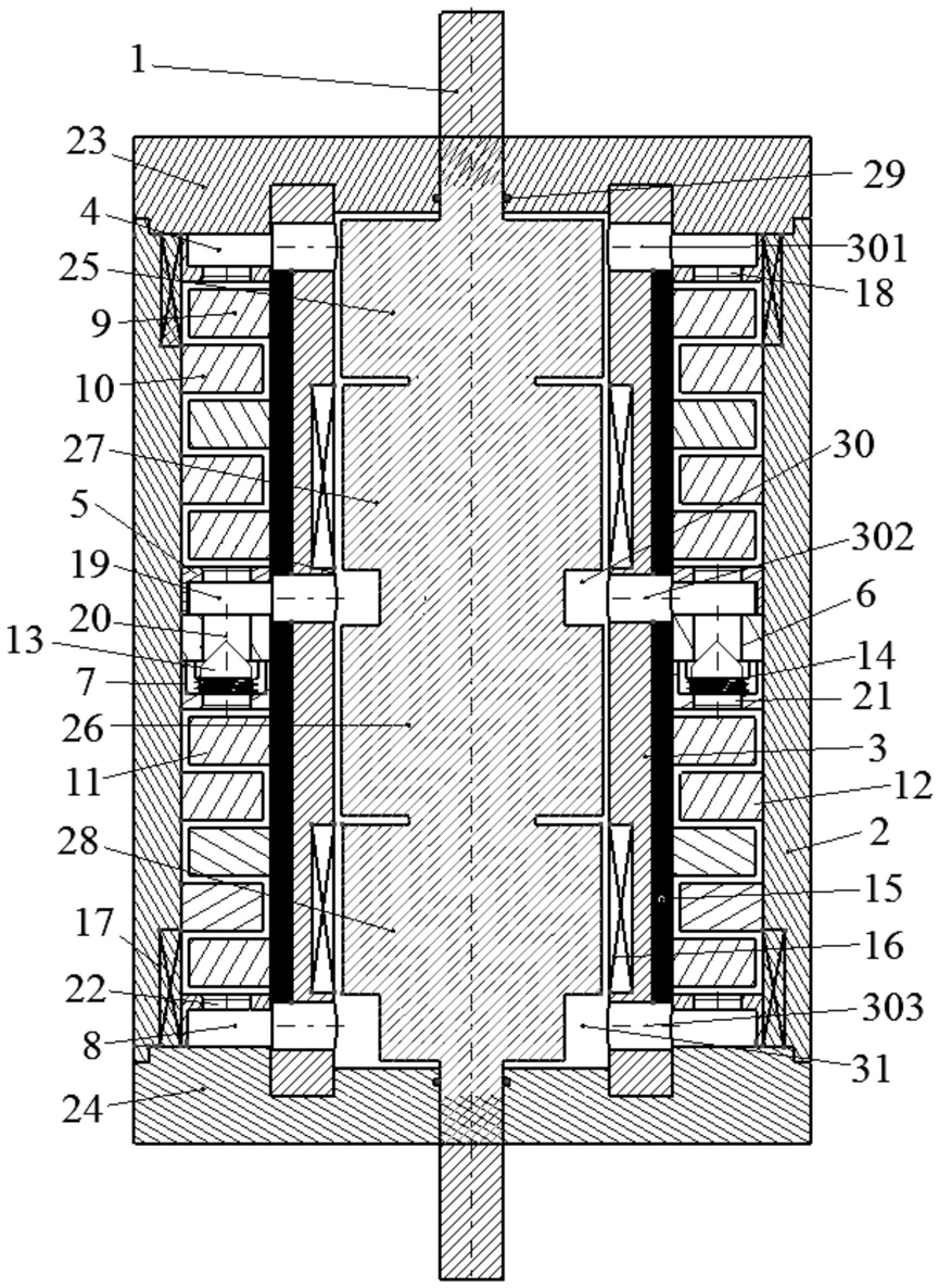
1.旋转式磁流变阻尼器,包括缸筒和可旋转设置的转子总成,其特征在于:还包括套设于所述转子总成上的转轴外环、设置于转轴外环上的第一励磁线圈、设置于所述缸筒上的第二励磁线圈以及设置于转轴外环和缸筒之间的阻尼通道形成装置,阻尼通道形成装置具有让磁流变液通过的第一阻尼通道和第二阻尼通道,第一阻尼通道和第二阻尼通道之间设置成可在连通状态与中断状态之间进行切换;

所述阻尼通道形成装置包括设置于所述第一阻尼通道和所述第二阻尼通道之间且用于控制第一阻尼通道和第二阻尼通道在连通状态与中断状态之间进行切换的单向阀,单向阀包括阀芯和用于对阀芯施加弹性作用力的弹性元件;

所述阀芯设置成可在开启状态和关闭状态之间进行切换,所述弹性元件对阀芯施加的弹性作用力使得阀芯由开启状态切换成关闭状态,所述第一阻尼通道中的磁流变液推动阀芯由关闭状态切换成开启状态;

所述阻尼通道形成装置包括第一导流盘、第二导流盘、第三导流盘、第四导流盘、第五导流盘、套设于所述转轴外环上且与转轴外环连接的第一内圆盘和第二内圆盘以及与所述缸筒连接的第一外圆盘和第二外圆盘,第一内圆盘和第一外圆盘位于第一导流盘和第二导流盘之间且第一内圆盘和第一外圆盘沿转轴外环的轴向设置多个,第三导流盘位于第二导流盘和第四导流盘之间,第二内圆盘和第二外圆盘位于第四导流盘和第五导流盘之间且第二内圆盘和第二外圆盘沿转轴外环的轴向设置多个,第一导流盘、第二导流盘、第三导流盘、第一内圆盘和第一外圆盘配合以形成所述第一阻尼通道,第四导流盘、第五导流盘、第二内圆盘和第二外圆盘配合以形成所述第二阻尼通道,所述单向阀设置于第四导流盘上;

各个所述第一外圆盘位于轴向上相邻的每两个所述第一内圆盘之间且第一外圆盘与第一内圆盘之间具有让磁流变液通过的间隙,所述第一导流盘与距离最近的第一内圆盘之间具有磁流变液通过的间隙,所述第二导流盘与距离最近的第一内圆盘之间具有磁流变液通过的间隙,第一导流盘具有让磁流变液通过的第一导流孔,第二导流盘具有让磁流变液通过的第二导流孔,第三导流盘具有让磁流变液通过且与第二导流孔连通的第三导流孔;

各个所述第二外圆盘位于轴向上相邻的每两个所述第二内圆盘之间且第二外圆盘与第二内圆盘之间具有让磁流变液通过的间隙,所述第四导流盘与距离最近的第二内圆盘之间具有磁流变液通过的间隙,所述第五导流盘与距离最近的第二内圆盘之间具有磁流变液通过的间隙,第四导流盘具有让磁流变液通过的第四导流孔,第五导流盘具有让磁流变液通过的第五导流孔,所述单向阀设置于第四导流孔中;

所述转子总成包括转轴本体以及设置于转轴上的第一活塞、第二活塞、第一旋转叶片和第二旋转叶片,在转轴本体的轴向上,第一活塞位于第一旋转叶片和第二旋转叶片之间,第二旋转叶片位于第一活塞和第二活塞之间,第一活塞和第二活塞与所述转轴外环之间形成让磁流变液通过的内阻尼通道;

所述转轴外环具有使所述内阻尼通道与所述第一阻尼通道连通的第一连通孔和第二连通孔以及与内阻尼通道与所述第二阻尼通道连通的第三连通孔,第一连通孔与所述第一导流孔连通,第二连通孔与所述第二导流孔连通,第三连通孔与所述第五导流孔连通;

所述第一旋转叶片具有用于将磁流变液引导至所述第一连通孔的第一斜导向槽和径向导向槽,径向导向槽为沿所述转轴本体的径向延伸,第一斜导向槽的长度方向与径向导向槽的长度方向之间具有夹角且该夹角为锐角;

径向导向槽和第一斜导向槽设置于第一旋转叶片的同一侧的外壁面上,该外壁面与转轴本体的轴向相平行,所有第一连通孔分布在第一旋转叶片的外侧四周,径向导向槽与第一连通孔处于同一轴向位置处,有利于将磁流变液引导至第一连通孔中;径向导向槽为在第一旋转叶片的外壁面上沿转轴本体的径向延伸的凹槽,第一斜导向槽为在第一旋转叶片的外壁面上相对于转轴本体的轴向为倾斜延伸的凹槽;第一斜导向槽的一端靠近第一活塞,第一斜导向槽的另一端靠近径向导向槽,第一斜导向槽的靠近第一活塞的端部与转轴本体的轴线之间的垂直距离小于第一斜导向槽的靠近径向导向槽的端部与转轴本体的轴线之间的垂直距离,第一斜导向槽位于径向导向槽和第一活塞之间,第一斜导向槽和径向导向槽均设置有多个;

所述第二旋转叶片具有用于引导磁流变液的第二斜导向槽,第二斜导向槽的长度方向与所述转轴本体的轴线之间具有夹角且该夹角为锐角;第二斜导向槽设置于第二旋转叶片的外壁面上,该外壁面与转轴本体的轴向相平行,第二斜导向槽为在第二旋转叶片的外壁面上相对于转轴本体的轴向为倾斜延伸的凹槽,第二斜导向槽的一端靠近第二活塞,第二斜导向槽的另一端靠近第一活塞,第二斜导向槽的靠近第二活塞的端部与转轴本体的轴线之间的垂直距离小于第二斜导向槽的靠近第一活塞的端部与转轴本体的轴线之间的垂直距离,第二斜导向槽并位于第二活塞和第一活塞之间,第二斜导向槽设置有多个;

在转轴本体的轴向上,第一活塞的端面和第二旋转叶片的端面之间具有一定的距离且该距离形成让磁流变液进入的第一导流腔,第一导流腔为圆环形腔体,所有第二连通孔分布在第一导流腔的外侧四周,第一导流腔与第二连通孔处于连通状态;在转轴本体的轴向上,第二活塞的端面和第二缸盖之间具有一定的距离且该距离形成让磁流变液进入的第二导流腔,第二导流腔为圆环形腔体,所有第三连通孔分布在第二导流腔的外侧四周,第二导流腔与第三连通孔处于连通状态。

我要求购
我不想找了,帮我找吧
您有专利需要变现?
我要出售
智能匹配需求,快速出售