欢迎来到知嘟嘟! 联系电话:13336804447 卖家免费入驻,海量在线求购! 卖家免费入驻,海量在线求购!
知嘟嘟
我要发布
联系电话:13336804447
知嘟嘟经纪人
收藏
专利号: 2018106380784
申请人: 温州职业技术学院
专利类型:发明专利
专利状态:已下证
专利领域: 建筑物
更新日期:2024-02-23
缴费截止日期: 暂无
价格&联系人
年费信息
委托购买

摘要:

权利要求书:

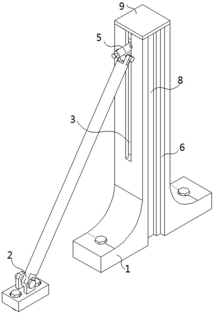
1.一种建筑装配墙体安装结构,包括安装架(1)和支撑机构(2),其特征在于:所述安装架(1)一表面开设有滑槽(3),所述滑槽(3)的底部开设有定位孔(4),所述滑槽(3)内部滑动配合有定位机构(5),所述定位机构(5)一侧通过圆柱销与支撑机构(2)转动连接;

所述安装架(1)两相对面均开设有凹槽(6),所述安装架(1)的底部开设有安装孔(7);

所述定位机构(5)包括滑块(501),所述滑块(501)外表面与滑槽(3)内表面滑动配合,所述滑块(501)一表面固定有连接块(502)和弹簧套(503),所述连接块(502)通过圆柱销与支撑机构(2)转动连接,所述弹簧套(503)上贯穿有定位杆(504),所述定位杆(504)从上到下依次贯穿弹簧套(503)和滑块(501),所述定位杆(504)位于滑块(501)底部的一端与定位孔(4)相配合,所述定位杆(504)周侧面螺旋缠绕有弹簧(505),所述弹簧(505)设置在弹簧套(503)内部。

2.根据权利要求1所述的一种建筑装配墙体安装结构,其特征在于,所述支撑机构(2)包括支撑杆(201),所述支撑杆(201)通过通过圆柱销与连接块(502)转动连接,所述支撑杆(201)远离连接块(502)的一端转动连接有固定块(202),所述固定块(202)一表面开设有固定孔(203)。

3.根据权利要求1所述的一种建筑装配墙体安装结构,其特征在于,所述凹槽(6)的底部开设有卡槽(8),所述滑槽(3)为“凸”字形结构。

4.根据权利要求1所述的一种建筑装配墙体安装结构,其特征在于,所述安装孔(7)为沉头孔,所述安装孔(7)的内部设置有螺栓。

5.根据权利要求1所述的一种建筑装配墙体安装结构,其特征在于,所述安装架(1)为倒“T”形结构,所述安装架(1)的顶部开设有螺纹孔,所述螺纹孔内部螺纹连接有转块,所述转块的顶部固定有挡板(9)。

6.根据权利要求1所述的一种建筑装配墙体安装结构,其特征在于,所述定位杆(504)上设置有限位盘(506),所述限位盘(506)周侧面与弹簧套(503)内壁滑动配合,所述限位盘(506)在滑块(501)顶部和弹簧(505)的底部之间。

7.根据权利要求1所述的一种建筑装配墙体安装结构,其特征在于,所述定位杆(504)位于弹簧套(503)顶部的一端固定有拉块(507)。

8.根据权利要求2所述的一种建筑装配墙体安装结构,其特征在于,所述固定孔(203)为沉头孔,所述固定孔(203)的内部设置有螺栓。