欢迎来到知嘟嘟! 联系电话:13336804447 卖家免费入驻,海量在线求购! 卖家免费入驻,海量在线求购!
知嘟嘟
我要发布
联系电话:13336804447
知嘟嘟经纪人
收藏
专利号: 201810560548X
申请人: 天津商业大学
专利类型:发明专利
专利状态:已下证
专利领域: 液体变容式机械;液体泵或弹性流体泵
更新日期:2024-12-04
缴费截止日期: 暂无
价格&联系人
年费信息
委托购买

摘要:

权利要求书:

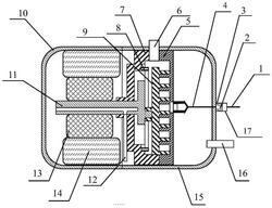
1.一种带内容积比调节的卧式涡旋式制冷压缩机,包括机壳以及安装在所述机壳内的曲柄轴结构的沿轴向开设有偏心油道的主轴,与主轴连接的电机与机座以及由主轴驱动绕定盘的中心回转旋转的动盘,所述机座与动盘之间通过十字联接环相连接,所述动盘与定盘通过涡旋齿以180度的相位差啮合连接并在轴线上接触形成三对封闭的月牙形空间,包括最外层的吸气空间、最内层的排气空间、中间的压缩空间;其特征在于,所述机壳的一侧端设置压力缸机构,所述压力缸机构通过压力管与冷凝器的出口连接,所述压力缸机构与设在所述机壳内的水平移动式的排气机构通过顶架连接,所述排气机构设在所述定盘的中心的排气孔处,可沿所述排气孔的轴线平行移动以使定盘与动盘间的压缩气体排出。

2.根据权利要求1所述带内容积比调节的卧式涡旋式制冷压缩机,其特征在于,所述排气机构包括设置在所述定盘的排气口的边缘处的由四个呈十字布置的导向台形成的导向组件,设在所述导向台内侧的排气塞组件以及与所述排气塞组件的一端对应连接的圆柱组件,所述圆柱组件的另一端连接顶架的支架,所述顶架的顶杆连接所述压力缸机构。

3.根据权利要求2所述带内容积比调节的卧式涡旋式制冷压缩机,其特征在于,所述的排气塞组包括由所述导向台的内壁向内依次贴合布置并可相对滑动的中空的圆柱结构的第三排气塞、第二排气塞、第一排气塞,所述第三排气塞的外圆面与所述导向台的内壁面始终贴合;

所述的圆柱组件包括第一圆柱、第二圆柱、第三圆柱,所述第一圆柱、第二圆柱分别通过拉绳与支架连接。

4.根据权利要求2所述带内容积比调节的卧式涡旋式制冷压缩机,其特征在于,所述支架为四个,四个所述的支架呈人字型两两连接。

5.根据权利要求2所述带内容积比调节的卧式涡旋式制冷压缩机,其特征在于,所述压力缸机构包括压力缸以及设在所述压力缸内的活塞和弹簧,所述活塞的一侧面与压力缸内壁形成的空间与所述压力管连通,另一侧与弹簧的一面贴合,所述弹簧的另一面与所述压力缸的开设通孔的底内壁贴合,所述顶杆的一端与活塞的贴合弹簧的一面焊接,另一端穿过弹簧中心、压力缸的一端侧面和机壳顶部的通孔并与机壳密封配合连接后与所述支架的中心连接固定,所述压力缸的侧面开设的通孔与所述压力管的一端连接,所述压力管的另一端与冷凝器出口接管连接。

6.根据权利要求1所述带内容积比调节的卧式涡旋式制冷压缩机,其特征在于,所述十字联接环上形成有十字形布置的凸台,所述十字联接环通过所述凸台与位于所述机座和动盘的底部的成十字分布的凹槽配合,并相对滑动,以实现连接所述机座和动盘。

7.根据权利要求1所述带内容积比调节的卧式涡旋式制冷压缩机,其特征在于,所述电机包括电机定子及电机转子,所述电机转子与主轴连接,所述电机定子,机座以及定盘分别与机壳配合连接。

8.根据权利要求1所述带内容积比调节的卧式涡旋式制冷压缩机,其特征在于,所述机座的侧壁与定盘之间形成吸气孔,与所述吸气空间相通,所述的吸气孔与吸气管连通并焊接连接,所述吸气管伸出于所述机壳外,所述机壳上设置有与排气空间相通的排气孔,所述排气孔与排气管连接,所述排气管焊接在所述机壳上。

9.根据权利要求1所述带内容积比调节的卧式涡旋式制冷压缩机,其特征在于,所述定盘的涡旋齿的顶端与动盘的底盘内侧接触,所述定盘的底盘内侧表面与动盘的涡旋齿的顶端表面接触。

10.根据权利要求1所述带内容积比调节的卧式涡旋式制冷压缩机,其特征在于,所述机座近电机的一侧中心具有凸台孔,所述主轴穿过该凸台孔与电机连接,所述主轴上径向开设的油道与穿过机座的凸台孔的供油管连接。