欢迎来到知嘟嘟! 联系电话:13336804447 卖家免费入驻,海量在线求购! 卖家免费入驻,海量在线求购!
知嘟嘟
我要发布
联系电话:13336804447
知嘟嘟经纪人
收藏
专利号: 2018105378378
申请人: 绵阳涪泽恩达科技有限公司
专利类型:发明专利
专利状态:已下证
专利领域: 测量;测试
更新日期:2024-02-23
缴费截止日期: 暂无
价格&联系人
年费信息
委托购买

摘要:

权利要求书:

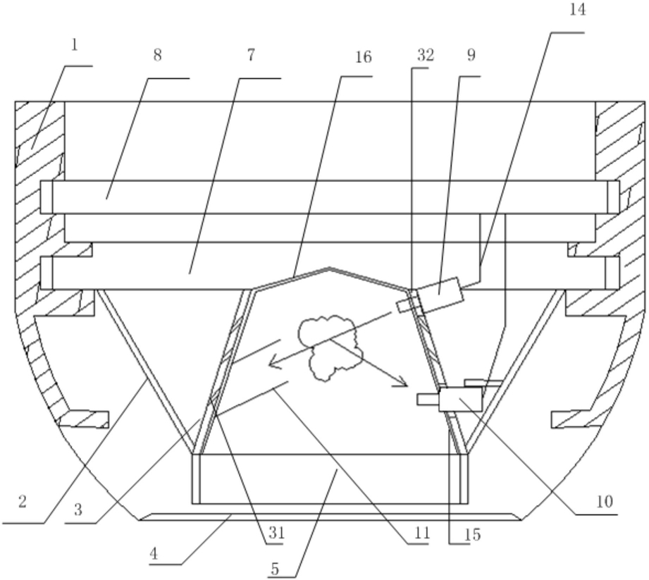
1.竖直布局渗透型厨房专用光电感烟探测器,包括外壳体(1)、以及设置在外壳体内的底盘(7),所述底盘(7)上安装有外集烟罩(2)和内集烟套(3),所述外集烟罩(2)和内集烟套(3)均为圆台形中空套管,内集烟套(3)位于外集烟罩(2)内,所述外集烟罩(2)的大口径端安装在底盘(7)上,内集烟套(3)的小口径端安装在在底盘(7)上,其特征在于,所述内集烟套(3)内壁中部区域设置有一个开口倾斜向上的纳光管(11),所述纳光管开口正对的内集烟套(3)小口径端端部开有器件孔(32),在该器件孔内安装有发射灯(9),在发射灯(9)所在器件孔(32)的正下方的内集烟套(3)的中部区域开有另一器件孔(32),在该器件孔(32)内安装有感光头;

外集烟罩(2)的小口径端以零间隙的方式套接在内集烟套(3)的大口径端上,所述内集烟套(3)上开有排油孔(31),该排油孔(31)位于内集烟套(3)内壁的一端为内端,该排油孔(31)位于内集烟套(3)外壁的一端为外端,内端指向外端的方向为倾斜向下方向;

所述内集烟套(3)内壁设置有侧壁渗透层(15),所述侧壁渗透层包括贴附在内集烟套(3)内壁的纵横棉线网、与纵横棉线网相邻的超疏水超亲油层、与超疏水超亲油层相邻的零施胶度纸层;所述排油孔(31)内置有引导棉线(153)与纵横棉线网搭接在一起,所述纵横棉线网是由横向棉线(151)和纵向棉线(152)纵横交叉编织而成,所述超疏水超亲油层是由木粉、纳米氧化锌、硬脂酸、无水乙醇混合干燥后再与聚苯乙烯和四氢呋喃混合干燥所得粉末进行压铸而成的板状结构,其厚度沿内集烟套(3)小口径端指向大口径端方向逐渐减小。

2.根据权利要求1所述的竖直布局渗透型厨房专用光电感烟探测器,其特征在于,所述内集烟套(3)的侧壁与其大端口底面之间的夹角为45度至70度夹角。

3.根据权利要求1所述的竖直布局渗透型厨房专用光电感烟探测器,其特征在于,所述排油孔为孔径小于或等于1mm的微孔。

4.根据权利要求1所述的竖直布局渗透型厨房专用光电感烟探测器,其特征在于,所述内集烟套(3)的内壁设置有若干采用激光雕刻而成的微槽(33),该微槽采用纵横交叉布局或纵向布局,所述排油孔(31)的内端与微槽纵横交叉处交叉或与纵向槽交叉。

5.根据权利要求1所述的竖直布局渗透型厨房专用光电感烟探测器,其特征在于,还包括电路板(8),所述电路板延伸有电源线(14)和信号反馈线,电源线与发射灯(9)连接并为发射灯(9)供电,信号反馈线与感光头连接并采集感光头的电压信号。

6.根据权利要求1所述的竖直布局渗透型厨房专用光电感烟探测器,其特征在于,所述底盘(7)位于内集烟套(3)小口径端的区域设置有填料凹槽,该填料凹槽内设置有顶部渗透层(16);所述填料凹槽的形状呈开口向下的V形,所述顶部渗透层(16)的形状呈开口向下的V形;所述顶部渗透层(16)为超疏水超亲油层,超疏水超亲油层是由木粉、纳米氧化锌、硬脂酸、无水乙醇混合干燥后再与聚苯乙烯和四氢呋喃混合干燥所得粉末进行压铸而成的板状结构,且该顶部渗透层(16)与侧壁渗透层的超疏水超亲油层之间形成无缝连接。

7.根据权利要求1所述的竖直布局渗透型厨房专用光电感烟探测器,其特征在于,还包括防虫罩(5),所述防虫罩(5)套设在外集烟罩(2)的小口径端上。

8.根据权利要求5所述的竖直布局渗透型厨房专用光电感烟探测器,其特征在于,所述电路板(8)位于所述底盘(7)的上方,且电路板(8)与底盘(7)之间形成间隙。