欢迎来到知嘟嘟! 联系电话:13336804447 卖家免费入驻,海量在线求购! 卖家免费入驻,海量在线求购!
知嘟嘟
我要发布
联系电话:13336804447
知嘟嘟经纪人
收藏
专利号: 2018105105864
申请人: 浙江工贸职业技术学院
专利类型:发明专利
专利状态:已下证
专利领域: 塑料的加工;一般处于塑性状态物质的加工
更新日期:2023-08-24
缴费截止日期: 暂无
价格&联系人
年费信息
委托购买

摘要:

权利要求书:

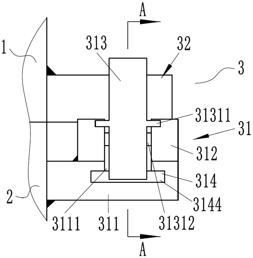
1.一种制备鞋底的制鞋机,包括配合使用的上箱体(1)和下箱体(2),其特征在于,所述上箱体(1)和所述下箱体(2)的一端通过铰接机构连接在一起,所述上箱体(1)和所述下箱体(2)的另一端上分别设有至少一个提拉手环,所述上箱体(1)和所述下箱体(2)上的提拉手环一一对应设置,所述下箱体(2)可通过锁扣(3)与所述上箱体(1)锁合在一起,所述锁扣(3)由上锁板(32)和下锁组件(31)组成,所述上锁板(32)固定在所述上箱体(1)上,所述下锁组件(31)固定在所述下箱体(2)上。

2.根据权利要求1所述的制备鞋底的制鞋机,其特征在于,所述下锁组件(31)包括一座板(311)、一对内卡件(314)和弹簧(315),一对内卡件(314)与所述座板(311)的T型通槽(3111)滑动配合,所述弹簧(315)设置在一对内卡件(314)之间,一对内卡件(314)可穿过所述上锁板(32)的空腔(323)分别与位于所述空腔(323)的对应侧内壁上的横杆(322)卡合连接。

3.根据权利要求2所述的制备鞋底的制鞋机,其特征在于,所述下锁组件(31)还包括一对外卡件(313),一对外卡件(313)分别枢接在所述座板(311)的对应的支柱(312)上,一对外卡件(313)相对设置,且一对内卡件(314)位于一对外卡件(313)之间,所述外卡件(313)的一端抵挡在对应的内卡件(314)的外侧面上,一对内卡件(314)驱动一对外卡件(313)向内翻转使一对外卡件(313)的另一端可与所述上锁板(32)卡合连接。

4.根据权利要求3所述的制备鞋底的制鞋机,其特征在于,所述上锁板(32)包括一门型架(321),所述门型架(321)的门形腔为所述空腔(323),所述上锁板(32)锁定时,所述门型架(321)的侧臂位于对应侧的内卡件(314)与外卡件(313)之间。

5.根据权利要求4所述的制备鞋底的制鞋机,其特征在于,所述内卡件(314)包括支杆(3141),所述支杆(3141)的一端设有锁钩(3142),所述内卡件(314)可穿过所述空腔(323)使所述锁钩(3142)与对应的横杆(322)相卡合,所述支杆(3141)的另一端设有前伸凸台(3143),所述前伸凸台(3143)的两侧壁上分别设有一滑移凸台(3144)形成T型块,所述T型块与所述T型通槽(3111)滑动配合。

6.根据权利要求5所述的制备鞋底的制鞋机,其特征在于,所述外卡件(313)包括转臂(3131),所述转臂(3131)通过转轴(31312)枢接在所述支柱(312)上,所述转臂(3131)的一端设有扣压部(3132),所述转臂(3131)的另一端设有触推部(3133),所述扣压部(3132)可与所述门型架(321)卡合连接,所述触推部(3133)的内侧面抵挡在所述前伸凸台(3143)的外端面上。

7.根据权利要求6所述的制备鞋底的制鞋机,其特征在于,所述转臂(3131)的两侧壁上分别设有一挡臂(31311),所述挡臂(31311)可抵挡在对应的支柱(312)的外侧面上。

8.根据权利要求5所述的制备鞋底的制鞋机,其特征在于,所述支杆(3141)的内侧面上设有一凸柱(3145),所述弹簧(315)的两端分别套设在对应的凸柱(3145)上。