欢迎来到知嘟嘟! 联系电话:13336804447 卖家免费入驻,海量在线求购! 卖家免费入驻,海量在线求购!
知嘟嘟
我要发布
联系电话:13336804447
知嘟嘟经纪人
收藏
专利号: 2018104839377
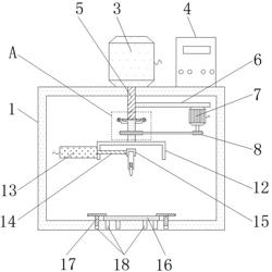
申请人: 江苏中致显科技有限公司
专利类型:发明专利
专利状态:授权未缴费
专利领域: 计算;推算;计数
更新日期:2024-04-28
缴费截止日期: 暂无
价格&联系人
年费信息
委托购买

摘要:

权利要求书:

1.一种触摸屏频点校准装置,包括机壳(1)和控制面板(4),其特征在于:所述机壳(1)的前端安装有开关门(2),且开关门(2)的上端中间处安装有第一液压缸(3),所述控制面板(4)安装在第一液压缸(3)的右方,所述第一液压缸(3)的下端连接有第一伸缩杆(5),且第一伸缩杆(5)贯穿进机壳(1)中,所述第一伸缩杆(5)的右侧连接有第一连接板(6),且第一连接板(6)的右下方安装有步进电机(7),并且步进电机(7)的下端连接有主动轮(8),所述第一伸缩杆(5)的下方连接有限位板(9),且限位板(9)的内部安装有转轴(10),所述转轴(10)的侧面中间处安装有从动轮(11),且转轴(10)的下端连接有第二连接板(12),所述第二连接板(12)的左侧安装有第二液压缸(13),所述第二液压缸(13)的右侧连接有第二伸缩杆(14),且第二伸缩杆(14)的右侧连接有接头(15),并且接头(15)的下端连接有安装杆(19),所述机壳(1)的内部底端中间位置安装有平板电脑(16),且平板电脑(16)的两侧均安装有固定装置(17),所述机壳(1)内部底端关于机壳(1)的竖直轴线均匀的对称设置有内螺纹孔(18),所述安装杆(19)的下端内部安装有弹簧(20),所述安装杆(19)的下端安装有校准笔(21),所述第一液压缸(3)、步进电机(7)和第二液压缸(13)均与控制面板(4)之间电连接。2.根据权利要求1所述的一种触摸屏频点校准装置,其特征在于:所述转轴(10)贯穿限位板(9),且转轴(10)和限位板(9)构成转动结构,并且第一伸缩杆(5)和限位板(9)构成拆卸结构。3.根据权利要求1所述的一种触摸屏频点校准装置,其特征在于:所述从动轮(11)和主动轮(8)之间的连接方式为皮带轮连接。4.根据权利要求1所述的一种触摸屏频点校准装置,其特征在于:所述第二伸缩杆(14)和接头(15)构成一体式结构,且接头(15)和安装杆(19)之间的连接方式为螺纹连接。5.根据权利要求1所述的一种触摸屏频点校准装置,其特征在于:所述固定装置(17)的形状为“T”形,并且固定装置(17)通过内螺纹孔(18)与机壳(1)螺纹连接。6.根据权利要求1所述的一种触摸屏频点校准装置,其特征在于:所述弹簧(20)的上下两端分别与安装杆(19)和校准笔(21)固定连接,且校准笔(21)贯穿进安装杆(19)中,并且校准笔(21)和安装杆(19)构成伸缩结构。7.一种触摸屏频点校准装置的校准方法,其特征在于:具体方法为:在使用该触摸屏频点校准装置时,先将平板电脑(16)的屏幕尺寸量好后,将数据输入进控制面板(4)中,此时可以将平板电脑(16)利用固定装置(17)和内螺纹孔(18)进行固定,保证屏幕朝上,不同的内螺纹孔(18)的设置,能够固定不同尺寸的平板电脑(16),但需要对屏幕进行校准时,可以通过控制面板(4)控制步进电机(7)和第二液压缸(13)工作,步进电机(7)能够通过主动轮(8)和从动轮(11)带动转轴(10)转动,而第二液压缸(13)能够通过第二伸缩杆(14)带动接头(15)水平移动,使得接头(15)下方的安装杆(19)和校准笔(21)的水平位置发生改变,两种位移方式相互配合,使得校准笔(21)能够准确的找到屏幕上的校准点,当校准点找到后,可以驱动第一液压缸(3),使得第二连接板(12)带动校准笔(21)向下移动,进而当校准笔(21)和屏幕接触后,能够对屏幕上的校准点进行校准,此时弹簧(20)的设置,能够避免校准笔(21)损坏屏幕,起到保护作用,当校准完成时,将平板电脑(16)取下即可。