欢迎来到知嘟嘟! 联系电话:13336804447 卖家免费入驻,海量在线求购! 卖家免费入驻,海量在线求购!
知嘟嘟
我要发布
联系电话:13336804447
知嘟嘟经纪人
收藏
专利号: 2018104419718
申请人: 南京慧瞳作物表型组学研究院有限公司
专利类型:发明专利
专利状态:已下证
专利领域: 破碎、磨粉或粉碎;谷物碾磨的预处理
更新日期:2024-12-11
缴费截止日期: 暂无
价格&联系人
年费信息
委托购买

摘要:

权利要求书:

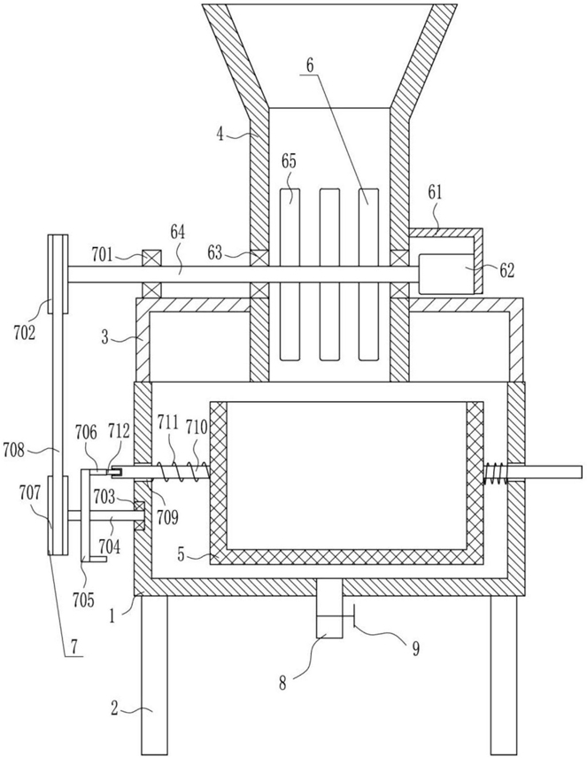
1.一种农业用红薯切碎洗淀粉装置,其特征在于,包括有箱体(1)、支腿(2)、L型杆(3)、下料斗(4)、网框(5)、破碎装置(6)、驱动装置(7)、出料管(8)和阀门(9),箱体(1)底部四角处均安装有支腿(2),箱体(1)顶部为敞口设置,箱体(1)顶部左右两方均安装有L型杆(3),L型杆(3)上部内侧之间安装有下料斗(4),箱体(1)内设有网框(5),箱体(1)底部中间安装有出料管(8),出料管(8)与箱体(1)连通,出料管(8)上设有阀门(9),下料斗(4)内中部设有破碎装置(6),箱体(1)外左方设有驱动装置(7),网框(5)与驱动装置(7)连接。

2.根据权利要求1所述的一种农业用红薯切碎洗淀粉装置,其特征在于,破碎装置(6)包括有L型板(61)、第一电机(62)、第一轴承座(63)、第一转轴(64)和破碎叶片(65),下料斗(4)外右侧中部安装有L型板(61),L型板(61)内左侧安装有第一电机(62),下料斗(4)中部左右两方均嵌入式的安装有第一轴承座(63),第一轴承座(63)内的轴承连接有第一转轴(64),第一转轴(64)右端通过联轴器与第一电机(62)的输出轴连接,第一转轴(64)上均匀间隔的焊有破碎叶片(65),破碎叶片(65)位于下料斗(4)内。

3.根据权利要求2所述的一种农业用红薯切碎洗淀粉装置,其特征在于,驱动装置(7)包括有第二轴承座(701)、第一皮带轮(702)、第三轴承座(703)、第二转轴(704)、转盘(705)、凸起(706)、第二皮带轮(707)、平皮带(708)、导杆(710)、第一弹簧(711)和接触轮(712),左方L型杆(3)顶部安装有第二轴承座(701),第一转轴(64)位于第二轴承座(701)内,第一转轴(64)左端安装有第一皮带轮(702),箱体(1)外左侧下部嵌入式的安装有第三轴承座(703),第三轴承座(703)内的轴承连接有第二转轴(704),第二转轴(704)中部安装有转盘(705),转盘(705)右侧的偏圆心位置均匀间隔的设有凸起(706),第二转轴(704)左端安装有第二皮带轮(707),第一皮带轮(702)与第二皮带轮(707)之间连接有平皮带(708),箱体(1)左右两方中部均开有导孔(709),导孔(709)内均设有导杆(710),导杆(710)内端与网框(5)左右两方中部连接,箱体(1)内两侧与网框(5)外两侧之间连接有第一弹簧(711),第一弹簧(711)绕在导杆(710)上,左方导杆(710)左端转动式的安装有接触轮(712),接触轮(712)与凸起(706)接触配合。

4.根据权利要求3所述的一种农业用红薯切碎洗淀粉装置,其特征在于,还包括有搅拌装置(10),搅拌装置(10)包括有第四轴承座(101)、第三转轴(102)、齿轮(103)、搅拌叶片(104)和齿条(105),下料斗(4)底部左右两方均嵌入式的安装有第四轴承座(101),第四轴承座(101)内的轴承连接有第三转轴(102),第三转轴(102)上部安装有齿轮(103),第三转轴(102)下部均匀间隔的焊有搅拌叶片(104),搅拌叶片(104)位于网框(5)内,网框(5)内后侧上部安装有齿条(105),齿条(105)位于齿轮(103)后方,齿条(105)与齿轮(103)啮合。

5.根据权利要求4所述的一种农业用红薯切碎洗淀粉装置,其特征在于,还包括有安装板(11)和第二弹簧(12),右方导杆(710)右端安装有安装板(11),安装板(11)左侧与箱体(1)外右侧之间连接有第二弹簧(12)。

6.根据权利要求5所述的一种农业用红薯切碎洗淀粉装置,其特征在于,还包括有环形卡块(14)和过滤网(15),箱体(1)外底部中间开有环形卡槽(13),出料管(8)位于环形卡槽(13)内,环形卡槽(13)内设有环形卡块(14),环形卡块(14)底部连接有过滤网(15)。