欢迎来到知嘟嘟! 联系电话:13336804447 卖家免费入驻,海量在线求购! 卖家免费入驻,海量在线求购!
知嘟嘟
我要发布
联系电话:13336804447
知嘟嘟经纪人
收藏
专利号: 2018104311281
申请人: 鲁东大学
专利类型:发明专利
专利状态:已下证
专利领域: 测量;测试
更新日期:2024-01-05
缴费截止日期: 暂无
价格&联系人
年费信息
委托购买

摘要:

权利要求书:

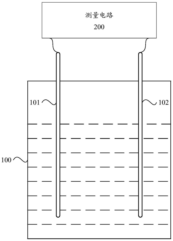
1.射频导纳物位仪中基于温度补偿的物位测量单元,其特征在于,包括:第一测量电极、第二测量电极以及与第一、第二测量电极电连接的测量电路,所述第一、第二测量电极的下端皆插入至物位待测的物料容器中,上端电连接至所述测量电路;其中,将第一、第二测量电极分别等效为一电容的两个极板,第一、第二测量电极之间的物料为电介质,以该电容为待测电容C测;

所述测量电路包括:第一选频网络、第二选频网络、第三选频网络、温度补偿电路、激励信号产生电路、π/4相移窄脉冲产生电路、以及π/4相位点幅值信号的采集电路;

所述温度补偿电路包括标准电容C标、电阻R0’以及模拟开关K,其中,所述标准电容C标为低温度系数的电容,所述模拟开关K为单刀双掷开关,所述标准电容C标与电阻R0’并联,并联组合的第一端连接至所述模拟开关K的第一静触点;

所述第一选频网络包括并联的电容C1和电感L1,所述第二选频网络包括并联的电容C2和电感L2,所述第三选频网络包括并联的电容C3和电感L3;所述第一选频网络经电阻R1电连接至所述激励信号产生电路的第一输出端,所述第二选频网络经电阻R2电连接至所述激励信号产生电路的第二输出端,所述第三选频网络的第一端经一电阻R3接地;所述第一选频网络经并联的电容C4和电阻R4、再经并联的电容C5和电阻R5电连接至所述第二选频网络;设并联的电容C4、电阻R4与并联的电容C5、电阻R5之间的电连接处为Q1,待测电容C测与电阻R0并联后,一端电连接至Q1,另一端电连接至所述模拟开关K的第二静触点;所述标准电容C标与电阻R0’并联组合的第二端亦电连接至Q1;所述模拟开关K的动触点电连接至所述第三选频网络的第二端,设所述模拟开关K的动触点为待测点Q0,所述π/4相位点幅值信号的采集电路电连接至待测点Q0,接收来自待测点Q0引出的待测信号S0;

所述激励信号产生电路用于产生正弦波激励信号S1并输出;

所述π/4相移窄脉冲产生电路电连接至所述激励信号产生电路的第三输出端,接收来自所述激励信号产生电路发出的正弦波激励信号S1;所述π/4相移窄脉冲产生电路还电连接至所述π/4相位点幅值信号的采集电路,所述π/4相位点幅值信号的采集电路接收来自所述π/4相移窄脉冲产生电路的、与Q0点信号相比相移π/4的窄脉冲信号S4,输出待测信号在π/4相位点的幅值信号S5。

2.根据权利要求1所述的物位测量单元,其特征在于,所述π/4相移窄脉冲产生电路中设有:数字电位器U1、运算放大器U2、运算放大器U3、单稳态触发器U4,电阻R6~R13,电容C6~C10,且所述π/4相移窄脉冲产生电路的供电电源为直流电源Vcc;其中,所述数字电位器U1的输入端电连接至外接的单片机,接地端接地,电源端电连接至电源Vcc,该电源端还经电容C10接地;所述数字电位器U1的W输出端电连接至所述运算放大器U2的同相输入端,该输出端还经电阻R13电连接至电源Vcc,且经电容C9接地;所述数字电位器U1的L输出端接地;

所述运算放大器U2的反相输入端经电阻R12电连接至所述运算放大器U2的输出端;所述运算放大器U2的电源端电连接至电源Vcc,接地端接地;所述运算放大器U2的输出端经电阻R11、再经电阻R10电连接至所述运算放大器U3的同相输入端,其中,电阻R11与电阻R10之间的电连接处经电容C8接地;

所述运算放大器U3的同相输入端还经电阻R7电连接至所述运算放大器U3的输出端;所述运算放大器U3的反相输入端经电阻R9接地,还经电阻R8电连接至电源Vcc,且经电容C7电连接至所述激励信号产生电路的输出端,接收来自所述激励信号产生电路发出的正弦波激励信号S1;所述运算放大器U3的电源端电连接至电源Vcc,接地端接地;所述运算放大器U3的输出端电连接至所述单稳态触发器U4的输入端;

所述单稳态触发器U4的Rext端子经电阻R6电连接至电源Vcc,还经电容C6电连接至Cext端子;所述单稳态触发器U4的输出端输出与Q0点信号相比相移π/4的窄脉冲信号S4至所述采集电路;所述单稳态触发器U4的电源端电连接至电源Vcc,接地端接地。

3.根据权利要求1或2所述的物位测量单元,其特征在于,所述π/4相位点幅值信号的采集电路中设有:运算放大器U5、运算放大器U6、模拟开关U7、运算放大器U8,电阻R14~R21,电容C11~C13,且所述π/4相位点幅值信号的采集电路的供电电源为直流电源Vcc;其中,所述运算放大器U5的同相输入端经电阻R21电连接至待测点Q0,接收来自待测点Q0引出的待测信号S0;所述运算放大器U5的反相输入端电连接至所述运算放大器U5的输出端;

所述运算放大器U5的电源端电连接至电源Vcc,接地端接地;所述运算放大器U5的输出端经电容C13、再经电阻R20电连接至所述运算放大器U6的同相输入端;

所述运算放大器U6的同相输入端还经电阻R18电连接至电源Vcc,且经电阻R19接地;所述运算放大器U6的反相输入端经电阻R17电连接至所述运算放大器U6的输出端;所述运算放大器U6的电源端电连接至电源Vcc,接地端接地;所述运算放大器U6的输出端电连接至所述模拟开关U7的输入端;

所述模拟开关U7的控制端电连接至所述单稳态触发器U4的输出端,接收与Q0点信号相比相移π/4的窄脉冲信号S4;所述模拟开关U7的常开输出端经电容C12接地;所述模拟开关U7的电源端电连接至电源Vcc,接地端接地;所述模拟开关U7的常开输出端还经电阻R16电连接至所述运算放大器U8的同相输入端;

所述运算放大器U8的反相输入端经并联的电阻R14和电容C11电连接至所述运算放大器U8的输出端,所述运算放大器U8的反相输入端还经电阻R15接地;所述运算放大器U8的输出端输出π/4相位点幅值信号S5,发送至外接的单片机;所述运算放大器U8的电源端电连接至电源Vcc,接地端接地。

4.根据权利要求2所述的物位测量单元,其特征在于,所述数字电位器U1为MAX540IEKA-T。

5.根据权利要求2所述的物位测量单元,其特征在于,所述运算放大器U2和/或U8为TLV2451。

6.根据权利要求2所述的物位测量单元,其特征在于,所述运算放大器U3、U5和/或U6为OPA835。

7.根据权利要求2所述的物位测量单元,其特征在于,所述单稳态触发器U4为SN74LVC1G123。

8.根据权利要求3所述的物位测量单元,其特征在于,所述模拟开关U7为

TS5A3160DCUR。

9.一种射频导纳物位仪,其特征在于,包括权利要求1~8任一项所述的物位测量单元,以及,

与所述物位测量单元电连接的单片机;

用于容纳所述物位测量单元及单片机的外壳;

嵌设于所述外壳表面、与所述单片机电连接的显示单元。

10.根据权利要求9所述的射频导纳物位仪,其特征在于,所述单片机中设有与上位机进行有线通讯的通讯接口,或与上位机进行无线通讯的通讯模块。