欢迎来到知嘟嘟! 联系电话:13336804447 卖家免费入驻,海量在线求购! 卖家免费入驻,海量在线求购!
知嘟嘟
我要发布
联系电话:13336804447
知嘟嘟经纪人
收藏
专利号: 2018104123761
申请人: 宁波卫生职业技术学院
专利类型:发明专利
专利状态:已下证
专利领域: 破碎、磨粉或粉碎;谷物碾磨的预处理
更新日期:2024-01-05
缴费截止日期: 暂无
价格&联系人
年费信息
委托购买

摘要:

权利要求书:

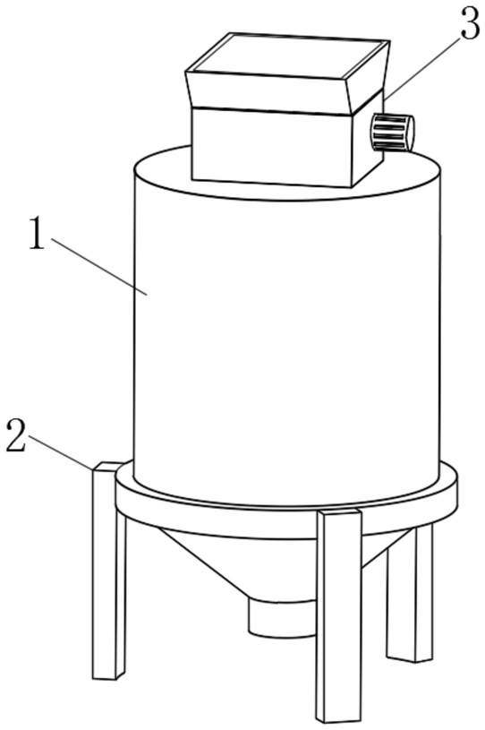
1.一种中草药粉碎装置,包括圆筒体(1)、圆形固定支撑板(7)和研磨装置(8),其特征在于:所述圆筒体(1)外侧的底部固定有三角架(2),所述圆筒体(1)的顶部固定有碾揉装置(3),所述碾揉装置(3)的底部设有下料漏斗(4),所述下料漏斗(4)的顶部与圆筒体(1)顶部的内壁固定,所述下料漏斗(4)的底部固定有下料管路(5),所述下料管路(5)远离下料漏斗(4)的一端连接有伸缩调节管路(6),所述伸缩调节管路(6)的顶部与圆形固定支撑板(7)固定,所述圆形固定支撑板(7)与圆筒体(1)的内壁固定,所述伸缩调节管路(6)的底部与研磨装置(8)的输入端连接,所述研磨装置(8)包括调节机构(9)、上研磨转盘(10)、下研磨转盘(11)和动力装置(12),所述调节机构(9)设有两个,且两个调节机构(9)对称固定在圆形固定支撑板(7)的顶部,所述调节机构(9)的输出端与上研磨转盘(10)固定,所述上研磨转盘(10)的顶部设有进料口(13),所述进料口(13)与伸缩调节管路(6)的底部固定,所述下研磨转盘(11)的顶部与上研磨转盘(10)的底部配合,且下研磨转盘(11)的顶部为锥形结构,所述下研磨转盘(11)与动力装置(12)的输出端固定,所述动力装置(12)与圆筒体(1)的内壁固定,所述圆筒体(1)的底部固定有呈倒锥形的排料漏斗,在排料漏斗内设有筛网板、鼓风机和紫外线消毒灯,在排料漏斗底端固定安装有排料管(14),所述排料管(14)与圆筒体(1)的内部连通;所述碾揉装置(3)包括主动碾揉辊(15)、从动碾揉辊(16)、碾揉电机(17)和安装框(18),所述安装框(18)固定在圆筒体(1)的顶部,所述圆筒体(1)顶部与安装框(18)对应的位置设有开口,所述安装框(18)通过开口与下料漏斗(4)连通,所述主动碾揉辊(15)和从动碾揉辊(16)的两端均分别通过轴承与安装框(18)的内壁转动连接,所述碾揉电机(17)的输出端与主动碾揉辊(15)的一端固定,所述主动碾揉辊(15)与安装框(18)的外壁固定;

所述安装框(18)的顶部固定有投料框(19),所述投料框(19)为锥形结构,且投料框(19)小端面的一端与安装框(18)固定。

2.根据权利要求1所述的一种中草药粉碎装置,其特征在于:所述伸缩调节管路(6)包括外套筒(20)和内套筒(21),所述外套筒(20)的顶部套接在下料管路(5)的外侧,且与圆形固定支撑板(7)固定,所述外套筒(20)的底部滑动套接在内套筒(21)的外侧,所述内套筒(21)的底部与进料口(13)固定。

3.根据权利要求1所述的一种中草药粉碎装置,其特征在于:所述调节机构(9)包括调节电机(22)、主动齿轮(23)、从动齿轮(24)、丝杆(25)、螺纹筒(26)和固定杆(27),所述调节电机(22)固定在圆形固定支撑板(7)上,所述调节电机(22)的输出轴与主动齿轮(23)固定,所述主动齿轮(23)与从动齿轮(24)啮合连接,所述从动齿轮(24)固定套接在螺纹筒(26)的外侧,所述螺纹筒(26)的外侧通过轴承与圆形固定支撑板(7)转动连接,所述螺纹筒(26)通过内螺纹与丝杆(25)活动连接,所述丝杆(25)的底部与固定杆(27)固定,所述固定杆(27)的底部与上研磨转盘(10)固定。

4.根据权利要求3所述的一种中草药粉碎装置,其特征在于:所述圆形固定支撑板(7)的内部对称固定有连接筒(28),所述螺纹筒(26)的外侧通过轴承与连接筒(28)的内壁转动连接。

5.根据权利要求4所述的一种中草药粉碎装置,其特征在于:所述固定杆(27)的底部固定有连接块(29),所述连接块(29)的底部与上研磨转盘(10)固定,所述连接块(29)为锥形结构,且连接块(29)大端面的一侧与上研磨转盘(10)固定。

6.根据权利要求1所述的一种中草药粉碎装置,其特征在于:所述动力装置(12)包括驱动电机(30)、支撑板(31)、支撑杆(32)和支撑滚珠(33),所述支撑板(31)的外侧通过支撑杆(32)与圆筒体(1)的内壁固定,所述驱动电机(30)固定在支撑板(31)的底部,所述驱动电机(30)的输出轴穿过支撑板(31)与下研磨转盘(11)固定,且驱动电机(30)的输出轴与支撑板(31)滑动连接,所述支撑板(31)的顶部设有滚珠槽(34),所述支撑滚珠(33)滑动连接在滚珠槽(34)内,所述支撑滚珠(33)的顶部与下研磨转盘(11)滑动连接;所述支撑滚珠(33)设有八个,且八个支撑滚珠(33)等角度分布在支撑板(31)的顶部。

7.根据权利要求1所述的一种中草药粉碎装置,其特征在于:所述圆筒体(1)的底部为锥形结构。