欢迎来到知嘟嘟! 联系电话:13336804447 卖家免费入驻,海量在线求购! 卖家免费入驻,海量在线求购!
知嘟嘟
我要发布
联系电话:13336804447
知嘟嘟经纪人
收藏
专利号: 2018104110511
申请人: 华侨大学
专利类型:发明专利
专利状态:已下证
专利领域: 测量;测试
更新日期:2024-01-05
缴费截止日期: 暂无
价格&联系人
年费信息
委托购买

摘要:

权利要求书:

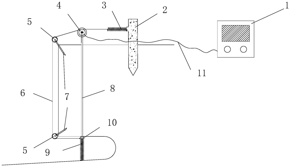
1.一种在台风波浪作用下海蚀洞洞高发育实时测量装置,其特征在于包括:立杆、压缩弹簧、拉伸弹簧、托盘、拉绳、滑轮、支架、线传感器、固定桩、读数仪、数据线与电源线;

所述立杆从海崖崖顶沿着竖直方向伸入海蚀洞中,并与海蚀洞的内侧壁底部顶抵;立杆暴露在海崖崖顶外的一端、以及与海蚀洞的内侧壁底部顶抵的另一端分别通过砂浆固定;

所述立杆位于海蚀洞中的部分套设有所述压缩弹簧和托盘;所述压缩弹簧的两端分别连接托盘的底部和海蚀洞侧壁底部;

所述滑轮包括第一滑轮和第二滑轮,其中第一滑轮通过支架固定于海崖崖壁,第二滑轮通过支架固定于海蚀洞的洞口;所述第一滑轮、第二滑轮和托盘通过拉绳连接,其中第二滑轮和托盘之间的拉绳沿着水平方向布置;

所述立杆暴露在海崖崖顶外的一端设置有所述线传感器,其通过拉绳与第一滑轮连接;所述线传感器远离第一滑轮的一侧设置有固定桩,固定桩的一端打入海崖崖顶中固定安装;所述线传感器通过拉绳和拉绳弹簧连接至所述固定桩,所述线传感器还通过数据线和电源线连接至所述读数仪。

2.根据权利要求1所述的一种在台风波浪作用下海蚀洞洞高发育实时测量装置,其特征在于:所述压缩弹簧弹性系数大于拉伸弹簧的弹性系数。

3.根据权利要求1所述的一种在台风波浪作用下海蚀洞洞高发育实时测量装置,其特征在于:所述拉绳由高强纤维丝制成。

4.一种在台风波浪作用下海蚀洞洞高发育实时测量方法,其特征在于包括如下步骤:

1)天气良好时,在目标海蚀洞正上方定点,点位与海崖边距离小于海蚀洞洞深,采用钻机钻孔,孔径稍大于立杆的直径,一直钻通到海蚀洞;

2)将立杆从崖顶穿到海蚀洞内,使其与海蚀洞的侧壁底部顶抵;同时在立杆位于海蚀洞内部分中套入托盘与压缩弹簧,压缩弹簧的两端分别连接托盘的底部和海蚀洞侧壁底部;立杆暴露在海崖崖顶外的一端、以及与海蚀洞的内侧壁底部顶抵的另一端分别通过砂浆固定;

3)先在海崖崖壁岩石上钻孔,打入钢筋作为支架;支架为两个,一个位于海崖崖壁的上端,一个位于海蚀洞的洞口;将第一、第二滑轮固定在支架上,并且使得第二滑轮与托盘连接的拉绳处于水平状态;

4)在立杆暴露在海崖崖顶外的一端设置线传感器;

5)在线传感器远离第一滑轮的一侧安放固定桩,将拉伸弹簧固定在固定桩上;

6)第六步安装拉绳,所述拉绳先连接托盘,再通过两个滑轮,连接至线传感器,最后连接至连接拉伸弹簧;

7)将线传感器数据线和电源线接进读数仪;

8)当台风来临时,海蚀洞被海浪侵蚀,洞顶岩土体脱落,压缩弹簧将托盘向上顶,托盘拉动拉绳形成斜线,拉伸弹簧被拉长,可由线传感器测出其拉伸长度,设该长度为Δ,托盘到拉绳与下滑轮接触点的水平距离为a,则斜线长度为a+Δ,海蚀洞发育高度b为: