欢迎来到知嘟嘟! 联系电话:13336804447 卖家免费入驻,海量在线求购! 卖家免费入驻,海量在线求购!
知嘟嘟
我要发布
联系电话:13336804447
知嘟嘟经纪人
收藏
专利号: 2018103762024
申请人: 江苏大学
专利类型:发明专利
专利状态:已下证
专利领域: 发电、变电或配电
更新日期:2025-12-12
缴费截止日期: 暂无
价格&联系人
年费信息
委托购买

摘要:

权利要求书:

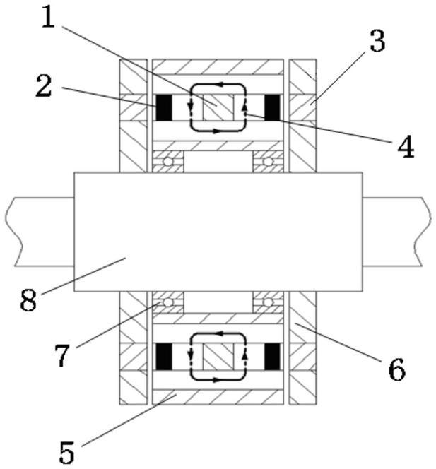
1.一种纯电动汽车用轴向磁通混合励磁开关磁阻电机,定子(1)的轴向两端各正对一个转子(3),其特征是:定子(1)由轴向截面呈工字型、沿圆周均匀分布的Ns个工字型定子分块组成,每个工字型定子分块的中间是定子轭(1-2)且具有轴向上的两个定子槽(1-3)和4个定子齿(1-1),定子轭(1-2)上绕有绕组(4),每个工字型定子分块都在轴向上对称布置,定子轭(1-2)沿其中心点所在圆周的切线方向布置;在每个定子槽(1-3)内都固定嵌有一块长方体的永磁体(2);每个转子(3)都由沿圆周均匀分布的Nr个转子分块组成;径向相对的两个工字型定子分块上的绕组(4)构成一相,每相的两个定子轭(1-2)上的绕组(4)并联;当绕组(4)励磁时,磁回路只经过自身励磁的定子轭(1-2),一个定子轭(1-2)上的绕组(4)励磁产生的磁回路分为4条回路,各有两条回路关于定子的轴向中心面对称,绕组(4)通电产生的磁通和永磁体(2)在轴向气隙处磁通沿轴向分布,工字型定子分块与转子分块之间不产生径向力。

2.根据权利要求1所述的一种纯电动汽车用轴向磁通混合励磁开关磁阻电机,其特征是:Ns个工字型定子分块的数量Ns和转子分块的数量Nr满足LCM(Ns,Nr)=mNr,LCM为取最小公倍数,电机相数为m。

3.根据权利要求1所述的一种纯电动汽车用轴向磁通混合励磁开关磁阻电机,其特征是:永磁体(2)与定子齿(1-1)紧密接触,与定子槽(1-3)不接触。

4.根据权利要求1所述的一种纯电动汽车用轴向磁通混合励磁开关磁阻电机,其特征是:Nr个转子分块都固定嵌在同一个转子支架(6)上的对应轴向通孔内,转子支架(6)同轴固定套在转轴(8)上。

5.根据权利要求1所述的一种纯电动汽车用轴向磁通混合励磁开关磁阻电机,其特征是:Ns个工字型定子分块都固定嵌在同一个定子支架(5)的对应轴向通孔内,定子支架(5)通过轴承(7)支撑在转轴(8)上。

6.根据权利要求1所述的一种纯电动汽车用轴向磁通混合励磁开关磁阻电机,其特征是:转子分块的内径与工字型定子分块、永磁体(2)的内径都相等,转子分块的外径与工字型定子分块、永磁体(2)的外径都相等,转子分块和工字型定子分块的切向长度相等。

7.根据权利要求1所述的一种纯电动汽车用轴向磁通混合励磁开关磁阻电机,其特征是:定子支架(5)的轴向长度与工字型定子分块的轴向长度相同,转子支架(6)的轴向长度与转子分块的轴向长度相同。