欢迎来到知嘟嘟! 联系电话:13336804447 卖家免费入驻,海量在线求购! 卖家免费入驻,海量在线求购!
知嘟嘟
我要发布
联系电话:13336804447
知嘟嘟经纪人
收藏
专利号: 2018102809447
申请人: 浙江工业大学
专利类型:发明专利
专利状态:已下证
专利领域: 基本电气元件
更新日期:2023-08-24
缴费截止日期: 暂无
价格&联系人
年费信息
委托购买

摘要:

权利要求书:

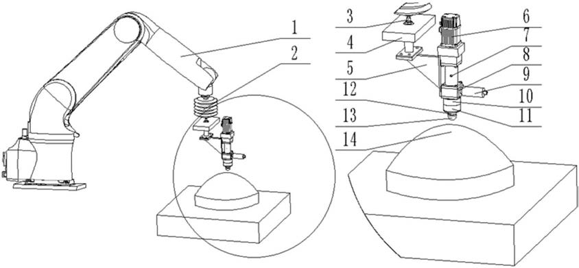
1.一种芬顿与超声辅助变刚度气压砂轮抛光SIC曲面方法,其特征在于:先将SIC工件不需要加工的表面套上隔绝材料,然后完全浸没在装有芬顿试剂的反应池中,待一段时间反应,在SIC工件的表面生成等厚均匀的SIO2表层后,将SIC工件取出,用限位装置固定在工作台上,通过浮动连接装置可以保证抛光力是恒力,进而保证发生反应后生成的SIO2表层均匀去除;通过机械臂可以调节工具系统相对于于工件的位置及姿势,通过改变进入变刚度气压砂轮的压缩空气的气压可以调节变刚度气压砂轮的刚度,这可以更好的使变刚度气压砂轮与自由曲面的SIC工件贴合;最后使用超声振动装置辅助变刚度气压砂轮对自由曲面的SIC工件进行恒力随形抛光。

2.如权利要求1所述的一种芬顿与超声辅助变刚度气压砂轮抛光SIC曲面方法,其特征在于:在整个的抛光过程中,先将SIC工件不需要加工的表面套上隔绝材料,然后用负泊松比材料的紧固件密封,之后整个放入装有芬顿试剂的反应池中,使之完全浸没,这样可以保证非反应区域与芬顿试剂完全的隔绝,使得反应区域发生芬顿反应,生成等厚均匀的SIO2表层,保证材料均匀去除。

3.如权利要求2所述的一种芬顿与超声辅助变刚度气压砂轮抛光SIC曲面方法,其特征在于:所述的负泊松比材料在受到压缩时,材料在垂直于应力方向发生收缩,而不是通常的膨胀,即在宏观上,负泊松比材料在受力时,在受力方向为膨胀而不是收缩,其作为紧固件,可以更好的密封,保证反应区域与非反应区域隔绝,其负泊松比材料为楔块结构、多孔固体或聚合体。

4.如权利要求1~3之一所述的一种芬顿与超声辅助变刚度气压砂轮抛光SIC曲面方法,其特征在于:所述芬顿试剂中的强氧化剂羟基自由基,其是通过催化剂和氧化剂反应生成的,其催化剂为氯化铁FeCl3、氯化亚铁FeCl2、四氧化三铁Fe3O4、氧化铁Fe2O3、硫酸铁Fe2(SO4)3或硫酸亚铁FeSO4;其氧化剂为过氧化氢H2O2、高锰酸钾KMNO4和次氯酸HCLO。

5.如权利要求4所述的一种芬顿与超声辅助变刚度气压砂轮抛光SIC曲面方法,其特征在于:所述芬顿反应发生所需的环境最好为酸性环境,在酸性环境中其芬顿反应的氧化作用最强,但是在芬顿反应中会产生氢氧离子,会使得反应酸性不断减弱,因此在芬顿反应的环境中需要加入酸性的试剂使其保持酸性环境。在此次设计抛光的方法中,可以在反应池中添加酸性的试剂,使之芬顿反应在弱酸的环境中进行。

6.如权利要求4所述的一种芬顿与超声辅助变刚度气压砂轮抛光SIC曲面方法,其特征在于:先将选择好的氧化剂与催化剂按照设定的浓度和比例倒入反应池中,让其反应生成强氧化剂羟基自由基,再将套好隔绝材料的SIC工件完全浸没在反应池中,让裸露在外的SIC曲面表面与羟基自由基反应,生成硬度比SIC小,且等厚均匀的SIO2表层。

7.如权利要求1~3之一所述的一种芬顿与超声辅助变刚度气压砂轮抛光SIC曲面方法,其特征在于:在整个加工抛光过程中所使用的变刚度气压砂轮,其是由类似橡胶的空心半球柔性基体和粘结在基体的磨粒层构成的,磨粒的硬度要大于SIO2,小于SIC。其刚性可以通过进入变刚度气压砂轮的压缩空气的气压来控制,且可以实时在线可调,可以实现更好的与自由曲面的SIC工件贴合。

8.如权利要求1~3之一所述的一种芬顿与超声辅助变刚度气压砂轮抛光SIC曲面方法,其特征在于:所述浮动连接装置包括气缸、位移传感器、导轨、,压缩弹簧、上基座和下基座,所述气缸、位移传感器、导轨、压缩弹簧都位于上基座与下基座之间;其在浮动连接装置下方外接了一个比例阀,比例阀中装有压力传感器。

9.如权利要求8所述的一种芬顿与超声辅助变刚度气压砂轮抛光SIC曲面方法,其特征在于:所述浮动连接装置中,当工作时,上基座对于下基座会发生相对位移,位移传感器会返回给控制器一个信号,然后控制器会给比例阀一个信号,比例阀的值会被重新设定,然后给气缸充气产生一个驱动力,使其带动上基座相对于下基座发生线性位移,在其过程中,比例阀中的压力传感器会实时监测气缸内的压强。上基座会带动与其固定的导轨运动,使压缩弹簧受到压缩而产生一个恢复力,驱动力与恢复力之差通过位移传感器与压力传感器的信号输送给控制器,然后与设定需要的值比较,若相同,则不变,若不同,则在改变比例阀的设定值,以此来保证恒力。

10.如权利要求1~3之一所述的一种芬顿与超声辅助变刚度气压砂轮抛光SIC曲面方法,其特征在于:所述超声振动辅助装置包括压电陶瓷换能器前(后)盖板、堆叠压电陶瓷片以及变幅杆,其外接了一个超声波发生器,由超声波发生器产生一个高频轴向振动信号,再通过换能器将高频振动信号转换为机械振动,之后通过变幅杆将机械振动放大,最后由变幅杆将高频机械振动传递给变刚度气压砂轮,变刚度气压砂轮以很高的频率不断冲击SIC工件表面,从而实现超声振动辅助变刚度气压砂轮抛光。