欢迎来到知嘟嘟! 联系电话:13336804447 卖家免费入驻,海量在线求购! 卖家免费入驻,海量在线求购!
知嘟嘟
我要发布
联系电话:13336804447
知嘟嘟经纪人
收藏
专利号: 2018102660381
申请人: 王嘉炜
专利类型:发明专利
专利状态:已下证
专利领域: 水、废水、污水或污泥的处理
更新日期:2023-08-24
缴费截止日期: 暂无
价格&联系人
年费信息
委托购买

摘要:

权利要求书:

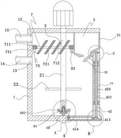
1.一种污水的絮凝沉淀池,包括池体(1)、搅拌部件(2)、加料室(31)及与所述加料室 (31)相配合的放料开关(31),所述池体(1)内设有一传动机构(4),所述搅拌部件(2)通过该 传动机构(4)开启所述放料开关(31);其特征在于:所述池体(1)内设有沉降装置(7),所述 池体(1)上对应于沉降装置上方设有出水口(12),对应于沉降装置下方设有进水口(13);所述进水口连接进水管(14),所述出水口连接出水管(15);所述搅拌部件(2)包括旋转件(21)和搅拌桨(22);所述的传动机构(4)包括传动部件(41)和放料部件(42),所述的传动部件(41)包括承接件(411)和液压件(412),所述的承接件(411)包括转动盘(401)、固定在转动盘(401)上的转轴(402)及减速齿轮(403);所述的转动盘(401)为一金属盘,且该转动盘(401)的侧壁上设有咬齿,该转动盘(401)的下端面与所述轴承(101)的外金属环固定连接,因此可相对定位柱(10)转动,在所述转动盘(401)的中间部分设有一凸柱(403),所述的转轴(402)套设在该凸柱(403)上,且可相对凸座(403)转动,在所述的转轴(402)外壁上设有咬齿;所述的减速齿轮(404)一侧和转动盘(401)的侧壁咬齿相咬合,另一侧和转轴(402)的侧壁相咬合,从而形成一个太阳行星齿轮组;所述的转轴(402)上部为六菱柱,所述的旋转件(21)上设有一六菱柱形的空腔,所述旋转件(21)下部套设在转轴(402)上,转轴(402)可随着旋转件(21)转动,进而转动盘(401)随着转动;所述转动盘(401)下端面上设有一推动凸部(413),该推动凸部(413)的下部为弧形的面,推动凸部(413)在转动盘(401)的下部为偏心设置;所述液压件(412)设在放置腔(11)内,该液压件(412)包括第一活塞(416)、第二活塞(418)及筒体(414),所述的第一活塞(416)设在筒体(414)的一端,第二活塞(418)设在筒体(414)的另一端,在第一活塞(416)和第二活塞(418)之间填充有液压油,在所述的池体(1)底部设有一开口,第一活塞(416)从该开口当中伸出,并且第一活塞(416)和开口的侧壁之间为密封连接,具体的密封连接可以为设置一薄弹片,该弹片中间具有通孔,所述第一活塞(416)的上端穿过该通孔,然后弹片和第一活塞(416)焊接,弹片的外缘和开口边缘焊接;所述的推动凸部(413)在随着转动盘(401)转动过程中,与第一活塞(416)上端部相接触,将第一活塞(416)向下按压从而推动第二活塞(418)向外运动,同时在所述第一活塞(416)下端部连接有一复位弹簧(417),复位弹簧(417)的端部与筒体(414)的内壁相接触,因此复位弹簧(417)可重新将第一活塞(416)顶起,推动凸部(413)再次推动第一活塞(416);所述旋转件(21)带动转轴(402)转动,转轴(402)转动时带动减速齿轮(403)转动从而带动所述的转动盘(401)转动;在转动盘(401)转动期间,推动凸部(413)与第一活塞(416)的上端部相碰撞,推动凸部(413)的下部和第一活塞(416)的上部都为弧形设置,推动凸部(413)压制第一活塞(416)向下活动,进而第一活塞(416)压制筒体(414)内的液压油,通过液压油推动第二活塞(418)向外运动,第二活塞(418)推动推动件(422)向右运动,从而滚珠(424)沿着推动斜面(423)向上活动,活动杆(421)向上运动,活动杆(421)推动放料开关(32)打开,在打开过程中,因凸起部(427)的设置,因此活动杆(421)会不断的进行上下抖动,使得放料开关(32)不断抖动。2.根据权利要求1所述的一种污水的絮凝沉淀池,其特征在于:所述沉降装置(7)包括 支撑架(71)、间隔分布于支撑架上的多组沉降组件(72)及设于所述池体内与该支撑架相配 合的支撑部(73)。3.根据权利要求2所述的一种污水的絮凝沉淀池,其特征在于:所述支撑架(71)包括两

横杆(711)和设于两横杆之间的多个间隔分布的连接杆(712),每个连接杆(712)对应设置 一组沉降组件(72)。4.根据权利要求3所述的一种污水的絮凝沉淀池,其特征在于:所述沉降组件(72)包括 多个沿所述连接杆(712)长度方向上间隔均匀分布的沉降板(721)。5.根据权利要求4所述的一种污水的絮凝沉淀池,其特征在于:所述沉降板(721)为倾 斜设置,该沉降板(721)轴线与连接杆(712)轴线之间的夹角为60°。6.根据权利要求3所述的一种污水的絮凝沉淀池,其特征在于:所述支撑部(73)为由所 述池体内壁向外延伸形成的凸条(731),所述放料室(3)侧壁上具有与所述横杆相配合的条 形凸部(33)。7.根据权利要求1所述的一种污水的絮凝沉淀池,其特征在于:所述传动机构(4)包括 与所述搅拌部件(2)相配合的传动部件(41)和用于开启所述放料开关(32)的开关部件 (42),所述开关部件(42)与所述传动部件(41)相配合。8.根据权利要求7所述的一种污水的絮凝沉淀池,其特征在于:所述开关部件(42)包括 用于开启所述放料开关(31)的活动杆(421)和用于推动所述活动杆(421)向上动作的推动 件(422)。