欢迎来到知嘟嘟! 联系电话:13336804447 卖家免费入驻,海量在线求购! 卖家免费入驻,海量在线求购!
知嘟嘟
我要发布
联系电话:13336804447
知嘟嘟经纪人
收藏
专利号: 2018102519923
申请人: 西安工业大学
专利类型:发明专利
专利状态:已下证
专利领域: 弹药;爆破
更新日期:2024-01-05
缴费截止日期: 暂无
价格&联系人
年费信息
委托购买

摘要:

权利要求书:

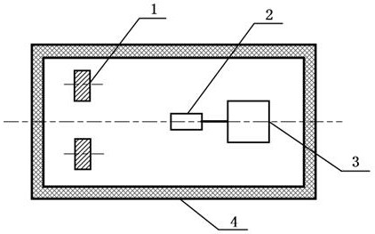
1.一种用于侵彻引信的磁敏感计层装置,由磁钢阵列(1)、磁阻传感器(2)、信号处理电路(3)和管壳(4)构成,其特征在于:管壳(4)的形状为空心的圆柱体,采用磁导率约为1的非磁性金属材料制备,所述磁钢阵列(1)、磁阻传感器(2)和信号处理电路(3)固定于管壳(4)内部,磁钢阵列(1)的磁钢单元数量至少为2个,均布于管壳(4)一个端部的同一平面的中轴线周围且使用非磁性材料固定安装;磁阻传感器(2)位于管壳(4)的中轴线上。

2.如权利要求1所述的一种用于侵彻引信的磁敏感计层装置,其特征在于,所述磁钢阵列(1)所使用材料为钕铁硼磁铁材料。

3.如权利要求2所述的一种用于侵彻引信的磁敏感计层装置,其特征在于,所述信号处理电路(3),包括高精度的基准电源、偏置电流源、置位/复位电路、仪表放大器和微控制器,高精度的基准电源与磁阻传感器相连,置位/复位电路与磁阻传感器相连,偏置电流源与磁阻传感器相连,磁阻传感器与仪表放大器相连,仪表放大器与微控制器相连。