欢迎来到知嘟嘟! 联系电话:13336804447 卖家免费入驻,海量在线求购! 卖家免费入驻,海量在线求购!
知嘟嘟
我要发布
联系电话:13336804447
知嘟嘟经纪人
收藏
专利号: 2018102014609
申请人: 浙江工贸职业技术学院
专利类型:发明专利
专利状态:已下证
专利领域: 教育;密码术;显示;广告;印鉴
更新日期:2023-08-24
缴费截止日期: 暂无
价格&联系人
年费信息
委托购买

摘要:

权利要求书:

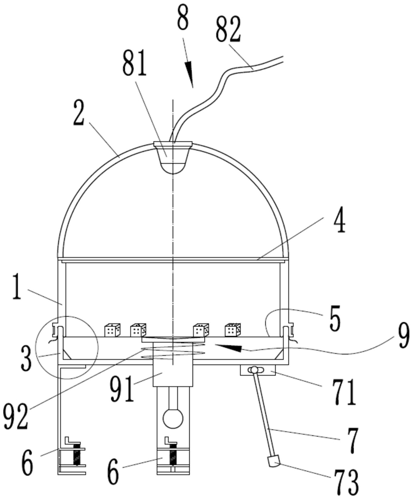
1.一种高等数学概率演示装置,其特征在于,包括:

筒体(1),所述筒体(1)的底部外周设有环槽(11),所述环槽(11)内卡设有紧箍(12),所述筒体(1)的底部设有开口朝下的U型槽(13);

透明上盖(2),所述透明上盖(2)扣合于所述筒体(1)上,所述透明上盖(2)与所述筒体(1)之间设有透明隔板(4),所述透明上盖(2)的顶部设有影像装置(8),所述影像装置(8)包括一摄像头(81)和一可以将信号传输给投影仪的数据线(82);

底罩(3),所述底罩(3)的顶部一周插合于所述U型槽(13)中,所述底罩(3)内腔底部一周设有加强筋(31),所述底罩(3)和所述筒体(1)之间设有鼓皮(5),所述鼓皮(5)被所述底罩(3)的顶部和所述U型槽(13)绷紧;

两个用于夹持桌子边缘的夹持支脚(6),两个所述夹持支脚(6)固定于所述底罩(3)的底面圆周外侧,且两个所述夹持支脚(6)之间的圆周夹角为直角;

调整支脚(7),所述调整支脚(7)固定于所述底罩(3)的底面圆周外侧,且位于两个所述夹持支脚(6)所夹直角区域之外;

振动装置(9),所述振动装置(9)包括导柱(91)和弹簧(92),所述导柱(91)可滑动的穿插于所述底罩(3)的底板中心处,所述导柱(91)的顶端设有挡肩(913),所述弹簧(92)的顶端抵挡在所述挡肩(913)的底面上,所述弹簧(92)的底端抵挡在所述底罩(3)的底板内表面上。

2.根据权利要求1所述的高等数学概率演示装置,其特征在于,所述夹持支脚(6)的外轮廓呈“匚”字型结构,包括水平设置的顶板(61)、竖直设置的支板(62)以及底板(63),所述顶板(61)固定于所述底罩(3)的底面圆周外侧,平行于所述顶板(61)和所述底板(63)且位于二者之间设有与所述支板(62)一体连接的中板(64),所述中板(64)上设有竖直走向的螺杆(65),所述螺杆(65)的顶端设有手动驱动的摇臂(651),所述螺杆(65)的底端枢接于一滑动板(66)上,摇动所述摇臂(651),所述螺杆(65)带动所述滑动板(66)上下移动。

3.根据权利要求2所述的高等数学概率演示装置,其特征在于,所述支板(62)在所述中板(64)和所述底板(63)之间设有滑道(621),所述滑动板(66)的左端设有与所述滑道(621)相适配的滑头(661)。

4.根据权利要求1所述的高等数学概率演示装置,其特征在于,所述导柱(91)的底面向下延伸有空心连杆(912),所述空心连杆(912)的底端设有空心橡皮头(911),所述导柱(91)在其轴线方向上上下贯通有通孔(914),所述通孔(914)的底端连接所述空心橡皮头(911)的内腔,所述挡肩(913)的顶面外周一圈设有柔性的凸缘(915),所述凸缘(915)的顶端紧贴所述鼓皮(5)的底面,所述凸缘(915)与所述挡肩(913)的顶面以及所述鼓皮(5)的底面构成了腔体(916)。

5.根据权利要求1所述的高等数学概率演示装置,其特征在于,所述调整支脚(7)包括固定板(71)、连杆(72)和紧固螺母(74),所述固定板(71)固定于所述底罩(3)的底面圆周外侧,所述固定板(71)上设有腰孔(711),所述连杆(72)的顶端通过所述紧固螺母(74)可调节的设置于所述腰孔(711)内,所述连杆(72)的底端设有脚垫(73)。

6.根据权利要求4所述的高等数学概率演示装置,其特征在于,所述鼓皮(5)上放置有若干个骰子或硬币。

7.根据权利要求6所述的高等数学概率演示装置,其特征在于,挤压所述空心橡皮头(911)后并释放,所述腔体(916)内的压强减小,所述鼓皮(5)的底面被吸附在所述凸缘(915)上,同步地,向下拉动所述空心橡皮头(911),所述鼓皮(5)从中心位置向下拉伸呈锥形,所述鼓皮(5)上的骰子或硬币向中心位置靠拢。