欢迎来到知嘟嘟! 联系电话:13336804447 卖家免费入驻,海量在线求购! 卖家免费入驻,海量在线求购!
知嘟嘟
我要发布
联系电话:13336804447
知嘟嘟经纪人
收藏
专利号: 2018101720559
申请人: 温州职业技术学院
专利类型:发明专利
专利状态:已下证
专利领域: 将固体从固体中分离;分选
更新日期:2026-03-02
缴费截止日期: 暂无
价格&联系人
年费信息
委托购买

摘要:

权利要求书:

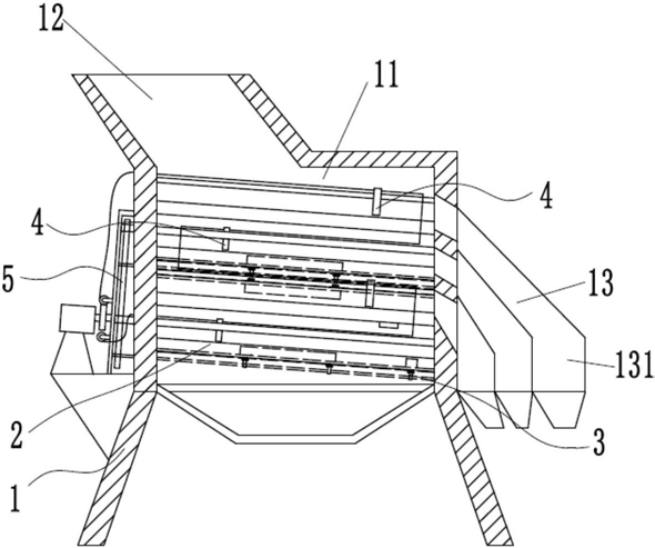
1.一种建筑用砂砾筛选装置,其特征在于,包括:

外壳(1);

若干层筛网(2),若干层筛网(2)从上到下依次平行倾斜设置在所述外壳(1)的腔体(11)内壁上,筛网(2)的孔径从上到下依次减小,所述外壳(1)的进料口(12)位于顶层的筛网(2)的上方,筛选过后不同直径的砂砾通过位于所述外壳(1)的出料口(13)内的对应的出料通道(131)排出;

若干个振动机构(3),相邻的两层筛网(2)之间设有一对振动机构(3),所述振动机构(3)的凸轮(32)驱动所述振动机构(3)的一对浮动块(34)分别运动使所述浮动块(34)撞击到对应的筛网(2)上;

搅拌机构(4),所述搅拌机构(4)包括与所述筛网(2)数目相同的搅拌板(41)和拉绳(42),所述搅拌板(41)滑动设置在位于所述腔体(11)的导柱(14)上,所述搅拌板(41)与所述筛网(2)相互垂直,所述搅拌板(41)位于对应的筛网(2)的上方,所述拉绳(42)将所有搅拌板(41)依次连接在一起;

驱动机构(5),所述驱动机构(5)包括电机(51)、第一传动机构(52)和第二传动机构(53),所述拉绳(42)的两端均连接在所述第二传动机构(53)上,所述电机(51)固定设置在所述外壳(1)上,所述电机(51)通过所述第一传动机构(52)带动所有振动机构(3)一起工作,同时,所述电机(51)通过所述第二传动机构(53)带动所有搅拌板(41)一起往复移动。

2.根据权利要求1所述的建筑用砂砾筛选装置,其特征在于,所述筛网(2)包括平面段(21)、设置在所述平面段(21)两侧上的斜面段(22)和设置在所述斜面段(22)的悬空侧上的凸缘段(23),所述凸缘段(23)与所述平面段(21)平行设置,一对斜面段(22)的横截面呈八字形,所述振动机构(3)设置在相邻的凸缘段(23)之间,所述搅拌板(41)作用在所述平面段(21)和一对斜面段(22)上。

3.根据权利要求2所述的建筑用砂砾筛选装置,其特征在于,所述振动机构(3)还包括转轴(31)、一对固定杆(33)和若干个弹簧(35),所述转轴(31)枢接在所述腔体(11)内,一对固定杆(33)对称固定设置在所述腔体(11)内,所述凸轮(32)固定设置在所述转轴(31)上,所述浮动块(34)设置在对应的固定杆(33)的导孔(331)内,所述弹簧(35)用于所述浮动块(34)的复位。

4.根据权利要求1所述的建筑用砂砾筛选装置,其特征在于,所述搅拌板(41)的下边缘上设有若干个U形槽(413),使所述搅拌板(41)形成梳状。

5.根据权利要求2所述的建筑用砂砾筛选装置,其特征在于,所述搅拌板(41)包括直段(411)和一对斜段(412),一对斜段(412)分别连接在所述直段(411)的两端,所述斜段(412)与对应侧的斜面段(22)平行。

6.根据权利要求3所述的建筑用砂砾筛选装置,其特征在于,所述第一传动机构(52)包括主动链轮(521)、与所述振动机构(3)数目相同的从动链轮(522)和链条(523),所述主动链轮(521)固定设置在所述电机(51)的输出轴上,所述从动链轮(522)固定设置在对应的转轴(31)的一端,所述主动链轮(521)和所有的从动链轮(522)均与所述链条(523)啮合。

7.根据权利要求1所述的建筑用砂砾筛选装置,其特征在于,所述第二传动机构(53)包括扇形蜗轮(531)、第一蜗杆(532)和第二蜗杆(533),所述扇形蜗轮(531)固定设置在所述电机(51)的输出轴上,所述第一蜗杆(532)和第二蜗杆(533)相互平行地枢接在所述外壳(1)上,所述扇形蜗轮(531)位于所述第一蜗杆(532)和第二蜗杆(533)之间,所述扇形蜗轮(531)与所述第一蜗杆(532)、第二蜗杆(533)交叉啮合,所述拉绳(42)的两端分别缠绕在所述第一蜗杆(532)和第二蜗杆(533)上。

8.根据权利要求7所述的建筑用砂砾筛选装置,其特征在于,所述第一蜗杆(532)和第二蜗杆(533)上均设有卷扬轮(534),所述拉绳(42)的两端分别缠绕在对应的卷扬轮(534)上。

9.根据权利要求8所述的建筑用砂砾筛选装置,其特征在于,所述第一蜗杆(532)的外周上和第二蜗杆(533)的外周上均设有呈环形分布的若干个卡槽(535),所述外壳(1)上设有一对弹件(536),所述弹件(536)用于阻止所述第一蜗杆(532)和第二蜗杆(533)在惯性作用下自转。