欢迎来到知嘟嘟! 联系电话:13336804447 卖家免费入驻,海量在线求购! 卖家免费入驻,海量在线求购!
知嘟嘟
我要发布
联系电话:13336804447
知嘟嘟经纪人
收藏
专利号: 2018101255684
申请人: 潍坊学院
专利类型:发明专利
专利状态:已下证
专利领域: 机床;其他类目中不包括的金属加工
更新日期:2024-01-05
缴费截止日期: 暂无
价格&联系人
年费信息
委托购买

摘要:

权利要求书:

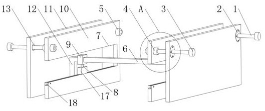
1.一种机床控制用可调式校准导轨,包括调节杆(1)、导轨支撑板(10)、导轨固定板(11)和滑杆(6),其特征在于:所述滑杆(6)呈矩形杆状结构,滑杆(6)的两端均设有与之相垂直的导轨支撑板(10),所述导轨支撑板(10)呈矩形板状结构,导轨支撑板(10)的中间位置设有导轨槽(7),导轨槽(7)的高度为滑杆(6)的高度的四倍,所述滑杆(6)的两端分别贯穿设在两端的导轨支撑板(10)上的导轨槽(7)中,所述导轨槽(7)的底部设有滑槽(18),滑槽(18)中活动设有与之相匹配的滑块(19),所述滑块(19)的上端固定设有移动块(17),所述移动块(17)呈矩形块状结构,移动块(17)的内部设有调高槽(16),调高槽(16)中设有调高件(8),所述调高件(8)呈工字型结构,调高件(8)的工字型下端和调高槽(16)之间通过螺纹配合连接,调高件(8)的工字型上端贯穿移动块(17)的上表面并活动设在移动固定框(9)的下端内部,两端的导轨支撑板(10)的外侧均设有导轨固定板(11),所述导轨固定板(11)呈与导轨支撑板(10)相同规格的矩形板状结构,导轨固定板(11)的下端靠近导轨支撑板(10)的一侧面贴合设有导向轮(14),所述导向轮(14)通过转轴(15)转动连接在导向杆(12)的下端,所述导向杆(12)呈矩形板状结构,导向杆(12)的上端固定设在滑杆(6)的端部,导向杆(12)设在导轨固定板(11)和导轨支撑板(10)之间,所述导轨固定板(11)的上端前后两侧均设有安装槽(13),安装槽(13)的横截面为横向放置的T字形结构,安装槽(13)中贯穿设有调节杆(1),所述调节杆(1)的直径小于限位帽(3)的小端直径,调节杆(1)靠近导轨支撑板(10)的一端活动贯穿导轨支撑板(10)设置,且调节杆(1)贯穿导轨支撑板(10)的一端通过螺纹配合连接有压紧螺母(5),调节杆(1)上还固定设有固定环(4),调节杆(1)远离导轨支撑板(10)和导轨固定板(11)的一端固定设有限位帽(3),所述安装槽(13)的大端通过螺钉固定有安装环(2)。

2.根据权利要求1所述的一种机床控制用可调式校准导轨,其特征在于:所述导轨槽(7)的前端贯穿导轨支撑板(10)的前端表面设置,导轨槽(7)的后端未贯穿导轨支撑板(10)的后端表面。

3.根据权利要求1所述的一种机床控制用可调式校准导轨,其特征在于:所述滑槽(18)呈T字形槽体状结构,滑槽(18)贯穿导轨支撑板(10)前端表面的一侧呈横向贯穿设有限位螺钉。

4.根据权利要求1所述的一种机床控制用可调式校准导轨,其特征在于:所述移动固定框(9)呈矩形框体状结构,移动固定框(9)活动套设在滑杆(6)上。

5.根据权利要求1所述的一种机床控制用可调式校准导轨,其特征在于:所述固定环(4)贴合设在导轨支撑板(10)靠近导轨固定板(11)的一侧,压紧螺母(5)贴合设在导轨支撑板(10)远离导轨固定板(11)的一侧。

6.根据权利要求1所述的一种机床控制用可调式校准导轨,其特征在于:所述限位帽(3)呈圆板状结构,限位帽(3)的直径大于调节杆(1)的直径。

7.根据权利要求1所述的一种机床控制用可调式校准导轨,其特征在于:所述安装环(2)呈圆环状结构,安装环(2)的厚度为导轨固定板(11)的宽度的一半,安装环(2)套设在调节杆(1)的外圈处,且安装环(2)和调节杆(1)之间通过螺纹配合连接。