欢迎来到知嘟嘟! 联系电话:13336804447 卖家免费入驻,海量在线求购! 卖家免费入驻,海量在线求购!
知嘟嘟
我要发布
联系电话:13336804447
知嘟嘟经纪人
收藏
专利号: 2018101091896
申请人: 王星昊
专利类型:发明专利
专利状态:已下证
专利领域: 木材或类似材料的加工或保存;一般钉钉机或钉U形钉机
更新日期:2024-11-21
缴费截止日期: 暂无
价格&联系人
年费信息
委托购买

摘要:

权利要求书:

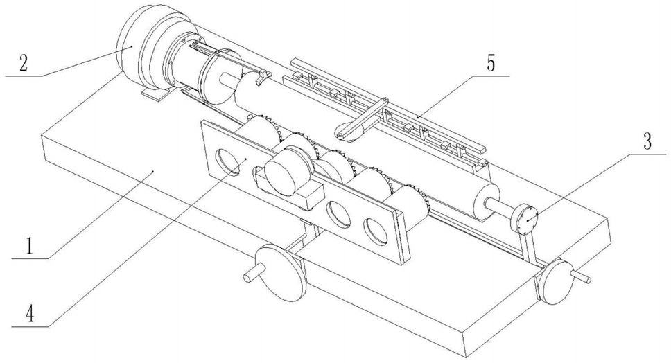
1.一种木质滚珠加工机,包括机架(1)、驱动卡盘(2)、顶针组件(3)、刀具组件(4)和卸料助推器(5),其特征在于:所述驱动卡盘(2)固定连接在机架(1)的左端,所述顶针组件(3)滑动连接在机架(1)的右端,所述刀具组件(4)滑动连接在机架(1)的后端,所述卸料助推器(5)固定连接在机架(1)的前端。

2.根据权利要求1所述的一种木质滚珠加工机,其特征在于:所述机架(1)包括支撑板(1-1)、T形滑槽Ⅰ(1-2)、T形滑槽Ⅱ(1-3)、滑槽端盖Ⅰ(1-4)、滑槽端盖Ⅱ(1-5)、螺杆驱动组件Ⅰ(1-6)和螺杆驱动组件Ⅱ(1-7),T形滑槽Ⅰ(1-2)设置在支撑板(1-1)上端面的右端,所述T形滑槽Ⅱ(1-3)设置在在支撑板(1-1)上端面的后端,所述滑槽端盖Ⅰ(1-4)和滑槽端盖Ⅱ(1-5)均固定连接在支撑板(1-1)上,所述滑槽端盖Ⅰ(1-4)正对T形滑槽Ⅰ(1-2)设置,所述滑槽端盖Ⅱ(1-5)正对T形滑槽Ⅱ(1-3)设置,所述螺杆驱动组件Ⅰ(1-6)转动连接在滑槽端盖Ⅰ(1-4)上的圆形通孔Ⅰ内,所述螺杆驱动组件Ⅱ(1-7)转动连接在滑槽端盖Ⅱ(1-5)上的圆形通孔Ⅱ内,所述顶针组件(3)滑动连接在T形滑槽Ⅰ(1-2)内,所述顶针组件(3)与螺杆驱动组件Ⅰ(1-6)通过螺纹配合连接,所述刀具组件(4)滑动连接在T形滑槽Ⅱ(1-3)内,所述刀具组件(4)与螺杆驱动组件Ⅱ(1-7)通过螺纹配合连接。

3.根据权利要求2所述的一种木质滚珠加工机,其特征在于:所述螺杆驱动组件Ⅰ(1-6)和螺杆驱动组件Ⅱ(1-7)结构相同,所述螺杆驱动组件Ⅱ(1-7)包括螺杆(1-7-1)、卡环(1-

7-2)、转盘(1-7-3)和摇杆(1-7-4),所述卡环(1-7-2)通过螺纹配合连接在螺杆(1-7-1)上,所述转盘(1-7-3)固定连接在螺杆(1-7-1)的一端,所述滑槽端盖Ⅱ(1-5)位于卡环(1-7-2)和转盘(1-7-3)之间,所述摇杆(1-7-4)固定连接在转盘(1-7-3)外端面的偏心位置,所述螺杆(1-7-1)转动连接在滑槽端盖Ⅱ(1-5)上的圆形通孔Ⅱ内,所述螺杆(1-7-1)与刀具组件(4)通过螺纹配合连接。

4.根据权利要求2所述的一种木质滚珠加工机,其特征在于:所述驱动卡盘(2)包括电机座(2-1)、主轴电动机(2-2)、联轴器(2-3)、卡盘架(2-4)、中轴顶针Ⅰ(2-5)、多个连杆(2-

6)、多个压杆(2-7)和多个卡爪(2-8),所述电机座(2-1)固定连接在机架(1)的左端,所述主轴电动机(2-2)固定连接在电机座(2-1)上,所述联轴器(2-3)的一端固定连接在主轴电动机(2-2)的传动轴上,所述联轴器(2-3)的另一端固定连接卡盘架(2-4),所述中轴顶针Ⅰ(2-

5)滑动连接在卡盘架(2-4)的中端,所述中轴顶针Ⅰ(2-5)的左端铰接连接多个连杆(2-6),多个连杆(2-6)的外端分别铰接连接在多个压杆(2-7)左端,多个压杆(2-7)的中端均铰接连接在卡盘架(2-4)上,所述多个压杆(2-7)右端分别固定连接多个卡爪(2-8)。

5.根据权利要求4所述的一种木质滚珠加工机,其特征在于:所述卡盘架(2-4)包括卡盘架本体(2-4-1)和卡盘架端盖(2-4-2),所述卡盘架端盖(2-4-2)固定连接在卡盘架本体(2-4-1)的右端,所述卡盘架本体(2-4-1)的侧壁上设置有多个连杆槽(2-4-3),多个连杆槽(2-4-3)绕卡盘架本体(2-4-1)的轴线均匀分布,所述卡盘架端盖(2-4-2)上设置有顶针滑孔(2-4-4),所述顶针滑孔(2-4-4)与卡盘架本体(2-4-1)同轴,多个连杆(2-6)分别间隙配合在多个连杆槽(2-4-3)内,所述中轴顶针Ⅰ(2-5)滑动连接在顶针滑孔(2-4-4)内。

6.根据权利要求4所述的一种木质滚珠加工机,其特征在于:所述顶针组件(3)包括顶针支架(3-1)、盖板(3-2)和中轴顶针Ⅱ(3-3),所述盖板(3-2)固定连接在顶针支架(3-1)右端面的上端,所述中轴顶针Ⅱ(3-3)转动连接在顶针支架(3-1)和盖板(3-2)之间,所述中轴顶针Ⅱ(3-3)与中轴顶针Ⅰ(2-5)同轴,所述顶针支架(3-1)的下端为T形结构,所述顶针支架(3-1)的下端滑动连接在T形滑槽Ⅰ(1-2)内,所述顶针支架(3-1)的下端与螺杆驱动组件Ⅰ(1-6)通过螺纹配合连接。

7.根据权利要求2所述的一种木质滚珠加工机,其特征在于:所述刀具组件(4)包括刀具支架(4-1)、附板(4-2)、刀具安装板(4-3)、多个圆筒刀(4-4)、切削电动机(4-5)、驱动齿轮(4-6)和摩擦锥轮Ⅰ(4-7),所述刀具支架(4-1)的下端为T形结构,所述刀具支架(4-1)的下端滑动连接在T形滑槽Ⅱ(1-3)内,所述刀具支架(4-1)的下端与螺杆驱动组件Ⅱ(1-7)通过螺纹配合连接,所述刀具支架(4-1)的上端固定连接附板(4-2)和刀具安装板(4-3),多个圆筒刀(4-4)转动连接在附板(4-2)和刀具安装板(4-3)之间,所述切削电动机(4-5)固定连接在附板(4-2)上,所述驱动齿轮(4-6)固定连接在切削电动机(4-5)的传动轴上,所述驱动齿轮(4-6)与一个圆筒刀(4-4)通过齿轮传动连接,多个圆筒刀(4-4)依次通过齿轮传动连接,所述摩擦锥轮Ⅰ(4-7)固定连接在中端的圆筒刀(4-4)上。

8.根据权利要求7所述的一种木质滚珠加工机,其特征在于:所述附板(4-2)上设置有多个排料通孔(4-2-1)和一个电机轴孔(4-2-2),多个排料通孔(4-2-1)分别与多个圆筒刀(4-4)同轴,所述切削电动机(4-5)的传动轴转动连接在电机轴孔(4-2-2)内。

9.根据权利要求7所述的一种木质滚珠加工机,其特征在于:所述圆筒刀(4-4)包括圆筒刀本体(4-4-1)和刀具齿轮(4-4-2),所述刀具齿轮(4-4-2)固定连接在圆筒刀本体(4-4-

1)上,所述刀具齿轮(4-4-2)位于附板(4-2)和刀具安装板(4-3)之间,多个刀具齿轮(4-4-

2)依次啮合,所述驱动齿轮(4-6)与中端的刀具齿轮(4-4-2)啮合。

10.根据权利要求1或7所述的一种木质滚珠加工机,其特征在于:所述卸料助推器(5)包括助推器支撑板(5-1)、多个柱料推板(5-2)、上肋板(5-3)、摩擦轮架(5-4)、摩擦锥轮Ⅱ(5-5)、卸料连杆(5-6)、推杆架(5-7)和多个L形推杆(5-8),所述助推器支撑板(5-1)的下端固定连接机架(1),所述助推器支撑板(5-1)的上端固定连接多个柱料推板(5-2),多个柱料推板(5-2)的上端固定连接上肋板(5-3),所述摩擦轮架(5-4)的一端固定连接上肋板(5-

3),摩擦轮架(5-4)的另一端转动连接有摩擦锥轮Ⅱ(5-5),所述卸料连杆(5-6)的一端铰接连接在摩擦锥轮Ⅱ(5-5)的偏心位置,卸料连杆(5-6)的另一端铰接连接推杆架(5-7),多个L形推杆(5-8)的上端均铰接连接在推杆架(5-7)上,多个L形推杆(5-8)的中端均铰接连接在柱料推板(5-2)上。