欢迎来到知嘟嘟! 联系电话:13336804447 卖家免费入驻,海量在线求购! 卖家免费入驻,海量在线求购!
知嘟嘟
我要发布
联系电话:13336804447
知嘟嘟经纪人
收藏
专利号: 2018101040019
申请人: 宁波大学
专利类型:发明专利
专利状态:已下证
专利领域: 一般的物理或化学的方法或装置
更新日期:2023-08-24
缴费截止日期: 暂无
价格&联系人
年费信息
委托购买

摘要:

权利要求书:

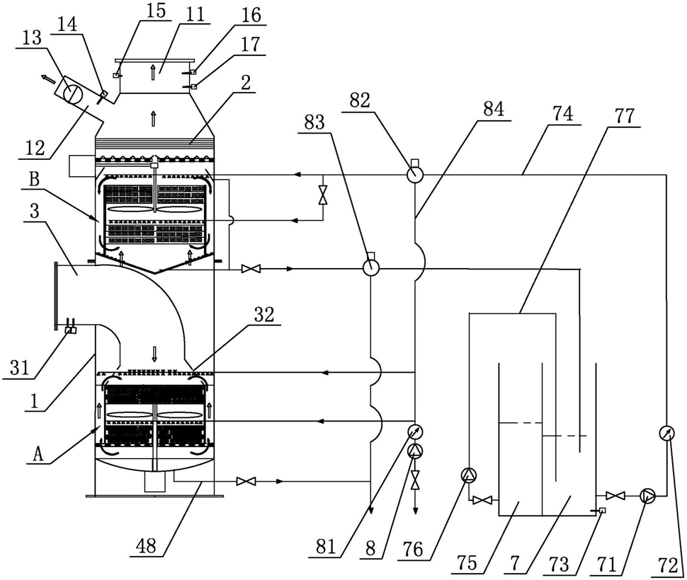
1.一种小型化的船舶脱硫降硝除尘装置,其特征在于包括洗涤塔、海水循环系统、碱液循环系统和控制系统,所述的洗涤塔内从下至上设置有海水脱硫除尘层、碱液脱硫层和除湿层,所述的海水脱硫除尘层与所述的碱液脱硫层之间设置有尾气接入管,所述的尾气接入管的一端与船舶柴油机排烟管相连接,所述的尾气接入管的另一端与所述的海水脱硫除尘层的上端相对接,所述的尾气接入管上固定设置有高压接头,所述的洗涤塔的上端设置有排气口和排气歧管,所述的排气口和所述的排气歧管位于所述的除湿层的上方,所述的排气歧管与船舶中的柴油机扫气箱相连接,所述的排气歧管上设置有电控阀和CO2传感器,所述的排气口处设置有低压接头和SO2传感器,所述的高压接头和所述的低压接头均与压差传感器电连接,所述的海水循环系统分别与所述的海水脱硫除尘层、所述的碱液脱硫层相连接,所述的碱液循环系统与所述的碱液脱硫层相连接。

2.如权利要求1所述的一种小型化的船舶脱硫降硝除尘装置,其特征在于:所述的海水脱硫除尘层包括上端开口的湍流球箱、第一风叶组、第一电机、第一污水收集盒和第一喷淋组件,所述的尾气接入管的另一端与所述的湍流球箱的上端相对接,所述的尾气接入管的另一端的端部设置有多个第一通气孔,所述的湍流球箱固定在所述的洗涤塔中且与所述的洗涤塔之间具有间隙,所述的第一风叶组设置在所述的湍流球箱的中部,所述的第一电机的驱动轴与所述的第一风叶组固定连接,所述的湍流球箱的上部和下部内分别填充有湍流球,所述的第一喷淋组件包括第一上喷淋组和第一下喷淋组,所述的第一上喷淋组设置在所述的湍流球箱的上方,所述的第一上喷淋组包括多个下喷头和上喷头,所述的下喷头朝向所述的湍流球箱的上部,所述的上喷头位于所述的尾气接入管中且朝向所述的尾气接入管,所述的第一下喷淋组设置在所述的湍流球箱中且朝向所述的湍流球箱的下部,所述的湍流球箱的下端面设置有多个漏液孔,所述的第一污水收集盒固定设置在所述的洗涤塔内且位于所述的湍流球箱的下方,所述的第一污水收集盒的下端连接有第一排污管。

3.如权利要求2所述的一种小型化的船舶脱硫降硝除尘装置,其特征在于:所述的碱液脱硫层包括填料箱、第二风叶组、第二电机、第二污水收集盒、第二喷淋组件和汽液分离板,所述的第二污水收集盒固定在所述的洗涤塔中,所述的第二污水收集盒的外边缘处设置有第二通气孔,所述的第二通气孔的上方设置有第一挡液板,所述的第二污水收集盒的下端连接有第二排污管,所述的填料箱上下贯通且与所述的第二污水收集盒固定连接,所述的填料箱与所述的洗涤塔之间具有间隙,所述的第二风叶组设置在所述的填料箱的中部,所述的第二电机驱动所述的第二风叶组转动,所述的填料箱的上部和下部分别填充有矩鞍环,所述的填料箱的下端设置有第三通气孔,所述的第二喷淋组件包括第二上喷淋组和第二下喷淋组,所述的第二上喷淋组位于所述的填料箱的上方且朝向所述的填料箱的上部,所述的第二下喷淋组位于所述的填料箱的中部且朝向所述的填料箱的下部,所述的汽液分离板固定设置在所述的洗涤塔内且位于所述的第二上喷淋组的上方,所述的汽液分离板的下方设置有倾斜的环形导流板,所述的环形导流板固定在所述的洗涤塔的侧壁上,所述的环形导流板处连接有第三排污管,所述的第三排污管与所述的第二排污管相连通。

4.如权利要求3所述的一种小型化的船舶脱硫降硝除尘装置,其特征在于:所述的汽液分离板包括隔板,所述的隔板上设置有多个第四通气孔,所述的第四通气孔的上方设置有第二挡液板。

5.如权利要求3所述的一种小型化的船舶脱硫降硝除尘装置,其特征在于:所述的碱液循环系统包括碱液循环柜、碱液泵、碱液流量计和pH传感器,所述的碱液泵与所述的碱液循环柜相连接,所述的碱液泵通过碱液进水管与所述的第二喷淋组件相连接,所述的碱液流量计设置在所述的碱液进水管上,所述的第二排污管通入所述的碱液循环柜中,所述的pH传感器固定在所述的碱液循环柜上。

6.如权利要求5所述的一种小型化的船舶脱硫降硝除尘装置,其特征在于:所述的碱液循环系统中还设置有储碱柜和加碱泵,所述的加碱泵与所述的储碱柜相连接,所述的加碱泵上连接有加碱管,所述的加碱管通入所述的碱液循环柜中。

7.如权利要求5所述的一种小型化的船舶脱硫降硝除尘装置,其特征在于:所述的海水循环系统包括海水泵、海水流量计、第一电磁三通阀和第二电磁三通阀,所述的海水泵通过海水进水管与所述的第一喷淋组件相连接,所述的海水流量计设置在所述的海水进水管上,所述的第一电磁三通阀分别与所述的海水进水管、所述的碱液进水管、所述的第二喷淋组件相连接,所述的第二电磁三通阀分别与所述的第一排污管、所述的第二排污管相连接。

8.如权利要求1所述的一种小型化的船舶脱硫降硝除尘装置,其特征在于:所述的除湿层为除湿丝网层。

9.如权利要求1所述的一种小型化的船舶脱硫降硝除尘装置,其特征在于:所述的排气口处设置有温度传感器。