欢迎来到知嘟嘟! 联系电话:13336804447 卖家免费入驻,海量在线求购! 卖家免费入驻,海量在线求购!
知嘟嘟
我要发布
联系电话:13336804447
知嘟嘟经纪人
收藏
专利号: 2018100940462
申请人: 中国地质大学(武汉)
专利类型:发明专利
专利状态:已下证
专利领域: 光学
更新日期:2024-01-05
缴费截止日期: 暂无
价格&联系人
年费信息
委托购买

摘要:

权利要求书:

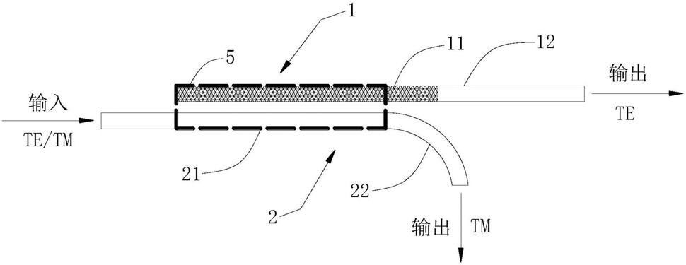
1.一种偏振分束器,包括两个波导芯,其特征在于:

两个所述波导芯分别为条形波导和J形波导;

所述条形波导包括有依次连接的狭缝波导和第一输出波导,所述狭缝波导包括有上覆盖层、狭缝和下覆盖层,所述狭缝位于上覆盖层和下覆盖层之间,所述狭缝采用的材料是氧化铟锡,所述上覆盖层、下覆盖层和第一输出波导采用的材料均为硅;

所述J形波导包括有依次连接的输入波导和第二输出波导,所述第二输出波导为弧形波导,所述J形波导采用的材料为硅;

所述条形波导与所述J形波导之间平行交错设置且存在间隔,在条形波导或J形波导侧面的长度垂直方向上,所述狭缝波导和输入波导交错重叠的部分及之间的间隔形成耦合区。

2.如权利要求1所述的一种偏振分束器,其特征在于:还包括位于所述条形波导顶部及底部、所述J形波导顶部及底部、所述条形波导和所述J形波导之间的包层,以及位于包层底部的衬底。

3.如权利要求2所述的一种偏振分束器,其特征在于:所述条形波导及J形波导折射率均大于所述包层折射率。

4.如权利要求2所述的一种偏振分束器,其特征在于:所述包层的材料为二氧化硅。

5.如权利要求1所述的一种偏振分束器,其特征在于:所述条形波导的高度为340nm,所述条形波导的宽度为312nm;所述狭缝的高度为1nm-20nm;所述J形波导的高度为340nm,所述J形波导的宽度为300nm;所述第二输出波导是度数为 半径为2μm的弧形波导;所述条形波导与J形波导之间的间隔是200nm;所述耦合区长度为5.6μm。

6.如权利要求1所述的一种偏振分束器,其特征在于:所述狭缝材料氧化铟锡的载流子浓度为2.0*1020cm-3—6.5*1020cm-3,所述狭缝材料氧化铟锡的介电常数接近零。