欢迎来到知嘟嘟! 联系电话:13336804447 卖家免费入驻,海量在线求购! 卖家免费入驻,海量在线求购!
知嘟嘟
我要发布
联系电话:13336804447
知嘟嘟经纪人
收藏
专利号: 2018100816183
申请人: 中国矿业大学
专利类型:发明专利
专利状态:已下证
专利领域: 土层或岩石的钻进;采矿
更新日期:2024-01-05
缴费截止日期: 暂无
价格&联系人
年费信息
委托购买

摘要:

权利要求书:

1.一种电脉冲辅助机械钻进的煤层快速钻孔方法,首先利用带有一定压力的导电离子溶液浸泡钻孔前方的煤体,使煤体导电性增强,然后利用高压电脉冲发生器,对钻孔前方煤体进行放电,产生巨大的能量直接作用在煤体上,使煤体产生裂缝,降低机械钻进阻力,最后启动钻机,进一步延伸钻孔。

2.根据权利要求1所述的一种电脉冲辅助机械钻进的煤层快速钻孔方法,其特征是:具体操作步骤如下:

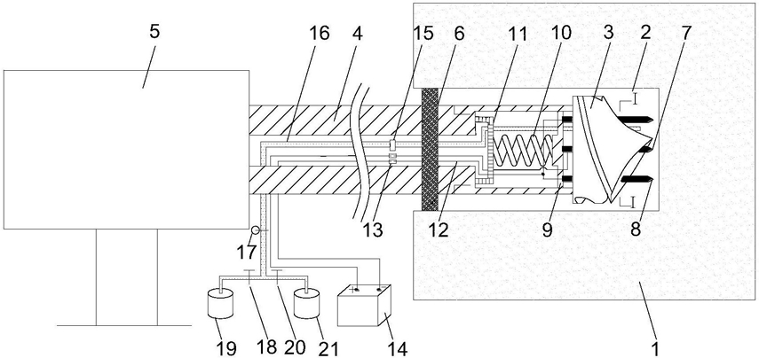
a、在煤层(1)内施工一个2m深的钻孔(2);

b、安装高压电脉冲发生器(14)、高压注水泵站(19)和排水泵站(21),连接钻头(3)、螺旋钻杆(4)和钻机(5),在钻头(3)内部镶嵌针状正电极(7)、针状负电极(8)和高压注水管(16),针状正电极(7)和针状负电极(8)嵌入钻头(3)尾部内腔的一端经电缆(12)和压线鼻子(13)与高压电脉冲发生器(14)的正负极连接,针状正电极(7)和针状负电极(8)伸出钻头(3)的另一端紧挨着煤层(1),高压注水管(16)经高压管接头(15)连接至高压注水泵站(19)和排水泵站(21);

c、利用封孔器(6)对钻孔(2)进行密封,通过高压注水泵站(19)和高压注水管(16)向钻孔(2)内注入一定压力的离子溶液,保持钻孔(2)内水压力恒定1-2h,然后通过排水泵站(21)抽出钻孔(2)内的剩余离子溶液,从而使钻孔(2)前方煤体浸入导电离子溶液;

d、开启高压电脉冲发生器(14)进行充电,当电压达到设定值时,通过针状正电极(7)和针状负电极(8)对钻孔(2)前方煤体进行放电,多次放电后,关闭高压电脉冲发生器(14);

e、开启钻机(5),利用螺旋钻杆(4)和钻头(3)继续推进钻孔(2),当钻进阻力增大、排渣量减小的时候,停止钻进;

f、当螺旋钻杆(4)长度不够时,停止钻进,续接螺旋钻杆(4),安装时,将电缆(12)和高压注水管(16)分别用压线鼻子(13)和高压管接头(15)连接,安装完成后,继续钻进;

g、重复c-d-e-f,直至钻孔(2)达到预定深度。

3.根据权利要求1或2所述的一种电脉冲辅助机械钻进的煤层快速钻孔方法,其特征是:所述导电离子溶液的压力范围为10-50MPa。

4.根据权利要求1或2所述的一种电脉冲辅助机械钻进的煤层快速钻孔方法,其特征是:所述高压电脉冲发生器(14)设定的放电频率为10-50Hz,电压范围为20-200kV。

5.根据权利要求2所述的一种电脉冲辅助机械钻进的煤层快速钻孔方法,其特征是:所述钻头(3)具有一个中心孔,中心孔周围均匀分布四个旁孔,中心孔嵌入针状正电极(7),四个旁孔嵌入针状负电极(8),在钻头(3)上还设有一个用于嵌入高压注水管(16)的旁孔。

6.根据权利要求2所述的一种电脉冲辅助机械钻进的煤层快速钻孔方法,其特征是:所述钻头(3)尾部设有一个腔体,腔体内设有伸缩结构,伸缩结构包括绝缘弹簧支架(11)、绝缘弹簧(10)和绝缘活塞(9),绝缘活塞(9)安装在腔体内,针状正电极(7)、针状负电极(8)和高压注水管(16)伸入腔体的一端固定在绝缘活塞(9)上,绝缘活塞(9)与绝缘弹簧(10)相连,绝缘弹簧(10)固定于绝缘弹簧支架(11)上,绝缘弹簧支架(11)支撑在腔体底部的端面,针状正电极(7)和针状负电极(8)分别与电缆(12)连接。

7.根据权利要求5或6所述的一种电脉冲辅助机械钻进的煤层快速钻孔方法,其特征是:所述的螺旋钻杆(4)为中空钻杆,其中部安装有高压注水管(16)和电缆(12),多个螺旋钻杆(4)间通过螺纹连接。