欢迎来到知嘟嘟! 联系电话:13336804447 卖家免费入驻,海量在线求购! 卖家免费入驻,海量在线求购!
知嘟嘟
我要发布
联系电话:13336804447
知嘟嘟经纪人
收藏
专利号: 2018100228069
申请人: 重庆交通大学
专利类型:发明专利
专利状态:已下证
专利领域: 手动工具;轻便机动工具;手动器械的手柄;车间设备;机械手
更新日期:2024-01-05
缴费截止日期: 暂无
价格&联系人
年费信息
委托购买

摘要:

权利要求书:

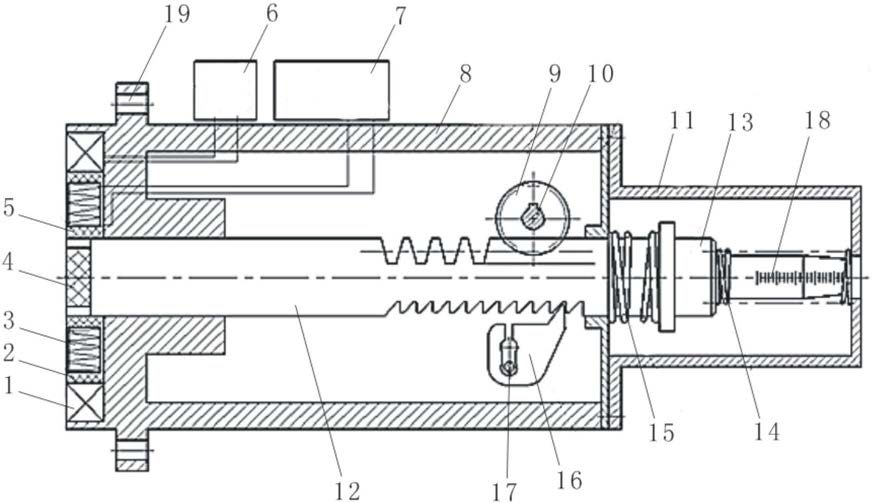
1.一种感应加热磁力冲击锤,包括冲击锤壳体和前后横向贯穿所述冲击锤壳体的冲击锤锤体,其特征在于,所述冲击锤壳体的前端设有用于对加工工件的加工区域进行加热的加热组件。

2.根据权利要求1所述的感应加热磁力冲击锤,其特征在于,所述加热组件为设置在所述壳体的前端部并环绕环所述冲击锤锤体的感应线圈。

3.根据权利要求2所述的感应加热磁力冲击锤,其特征在于,所述感应线圈形成的加热区域与所述待加工区域的形状相配合。

4.根据权利要求1-3任一所述的感应加热磁力冲击锤,其特征在于,所述冲击锤还包括设置在所述冲击锤壳体内用于驱动所述冲击锤锤体向冲击锤壳体的后部移动的驱动单元;

所述驱动单元包括齿轮,所述齿轮通过齿轮轴与动力输入组件连接,所述冲击锤锤体上设有与所述齿轮相啮合的轴向齿条。

5.根据权利要求4所述的感应加热磁力冲击锤,其特征在于,所述冲击锤壳体的后端部还设有端盖,所述端盖的后壁上设有可供所述冲击锤锤体的尾部穿过的通孔;所述冲击锤锤体的尾部延伸入所述端盖内的一端设有弹簧安装座,所述弹簧安装座与所述冲击锤壳体之间的冲击锤锤体段上设有拉伸弹簧,所述弹簧安装座与端盖之间的冲击锤锤体段上设有压缩弹簧。

6.根据权利要求4或5所述的感应加热磁力冲击锤,其特征在于,所述冲击锤还包括设置在所述冲击锤壳体内的止锁单元;所述止锁单元包括棘爪,所述冲击锤锤体上设有沿其轴向设置的限位齿,所述棘爪的限位部通过紧固件固定在所述冲击锤壳体内,棘爪的止锁部卡在所述限位齿的齿槽内,用于防止所述冲击锤锤体向冲击锤壳体的前端移动。

7.根据权利要求6所述的感应加热磁力冲击锤,其特征在于,所述棘爪的限位部设有滑槽,所述滑槽可沿所述紧固件滑动,使棘爪在紧固件的引导下脱离冲击锤。

8.根据权利要求1所述的感应加热磁力冲击锤,其特征在于,所述冲击锤锤体的前端部设有减震垫。

9.根据权利要求1所述的感应加热磁力冲击锤,其特征在于,所述加热组件安装在所述冲击锤壳体的前端部的加热组件安装槽内,所述加热组件安装槽的侧壁上设有隔热层。

10.根据权利要求5所述的感应加热磁力冲击锤,其特征在于,所述弹簧安装座与端盖之间的冲击锤锤体段上设有刻度线。