欢迎来到知嘟嘟! 联系电话:13336804447 卖家免费入驻,海量在线求购! 卖家免费入驻,海量在线求购!
知嘟嘟
我要发布
联系电话:13336804447
知嘟嘟经纪人
收藏
专利号: 201810007782X
申请人: 福州市长乐区古槐星际商务咨询服务部
专利类型:发明专利
专利状态:无效专利
专利领域: 农业;林业;畜牧业;狩猎;诱捕;捕鱼
更新日期:2024-02-26
缴费截止日期: 暂无
价格&联系人
年费信息
委托购买

摘要:

权利要求书:

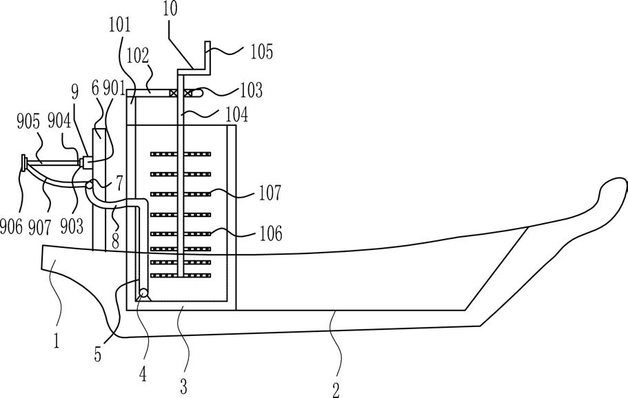
1.一种清理水葫芦用自动喷洒杂竹净设备,其特征在于,包括有船体(1)、水箱(3)、水泵(4)、出水管(5)、第一支撑板(6)、空心管(7)、第一软管(8)、喷洒机构(9)和搅拌机构(10),船体(1)顶部开有第一凹槽(2),第一凹槽(2)内底部左侧设有水箱(3),水箱(3)内底部左侧设有水泵(4),水泵(4)上端设有出水管(5),出水管(5)上端穿过水箱(3)左壁上部,船体(1)顶部左侧设有第一支撑板(6),第一支撑板(6)左侧中部设有空心管(7),空心管(7)底部中间设有第一软管(8),第一软管(8)右端与出水管(5)左端连接,第一支撑板(6)左侧上部设有喷洒机构(9),喷洒机构(9)位于空心管(7)上方,水箱(3)左壁顶部设有搅拌机构(10);喷洒机构(9)包括有连接架(901)、电动推杆(902)、滑轨(903)、滑块(904)、摆动杆(905)、喷头(906)、第二软管(907)、移动杆(908)和连接杆(909),第一支撑板(6)左侧上部设有连接架(901),连接架(901)左侧前后对称设有滑轨(903),滑轨(903)上滑动式设有滑块(904),前后两方的滑块(904)左端对称设有摆动杆(905),前后两方的摆动杆(905)左端对称设有喷头(906),喷头(906)右侧下部设有第二软管(907),第二软管(907)右端与空心管(7)左侧连接,电动推杆(902)左侧设有移动杆(908),移动杆(908)前后两端转动式设有连接杆(909),前方的连接杆(909)前端与前方的滑块(904)上端转动式连接,后方的连接杆(909)后端与后方的滑块(904)上端转动式连接;搅拌机构(10)包括有支撑架(101)、固定架(102)、轴承座(103)、转轴(104)、转杆(105)和叶片(106),水箱(3)左壁顶部设有支撑架(101),支撑架(101)顶部设有固定架(102),固定架(102)右部镶嵌式设有轴承座(103),轴承座(103)上安装有转轴(104),转轴(104)上端设有转杆(105),转轴(104)下部均匀设有叶片(106),叶片(106)前侧均匀开有第一通孔(107);还包括有气缸(13)、第二支撑板(14)、船锚(15)、电动绕线轮(17)和拉绳(18),船体(1)底部右侧开有第二凹槽(11),第二凹槽(11)内左壁下部开有第三凹槽(12),第三凹槽(12)内左壁中间设有气缸(13),气缸(13)右侧设有第二支撑板(14),第二凹槽(11)内放置有船锚(15),船锚(15)底部与第二支撑板(14)顶部接触,船体(1)顶部右侧开有第二通孔(16),船体(1)顶部右侧设有电动绕线轮(17),电动绕线轮(17)上绕有拉绳(18),拉绳(18)下端穿过第二通孔(16),拉绳(18)下端与船锚(15)顶部连接;还包括有电机(19),固定架(102)顶部右侧设有电机(19),电机(19)的输出轴与转轴(104)上端连接;还包括有固定块(20)、盖板(21)和拉手(23),水箱(3)左壁内侧上部设有固定块(20),水箱(3)顶部设有盖板(21),盖板(21)底部左侧与固定块(20)上端接触,盖板(21)左侧中间开有第三通孔(22),转轴(104)位于第三通孔(22)内,盖板(21)右侧中间设有拉手(23)。