欢迎来到知嘟嘟! 联系电话:13336804447 卖家免费入驻,海量在线求购! 卖家免费入驻,海量在线求购!
知嘟嘟
我要发布
联系电话:13336804447
知嘟嘟经纪人
收藏
专利号: 2017218266511
申请人: 浙江医药高等专科学校
专利类型:实用新型
专利状态:已下证
专利领域: 测量;测试
更新日期:2023-08-24
缴费截止日期: 暂无
价格&联系人
年费信息
委托购买

摘要:

权利要求书:

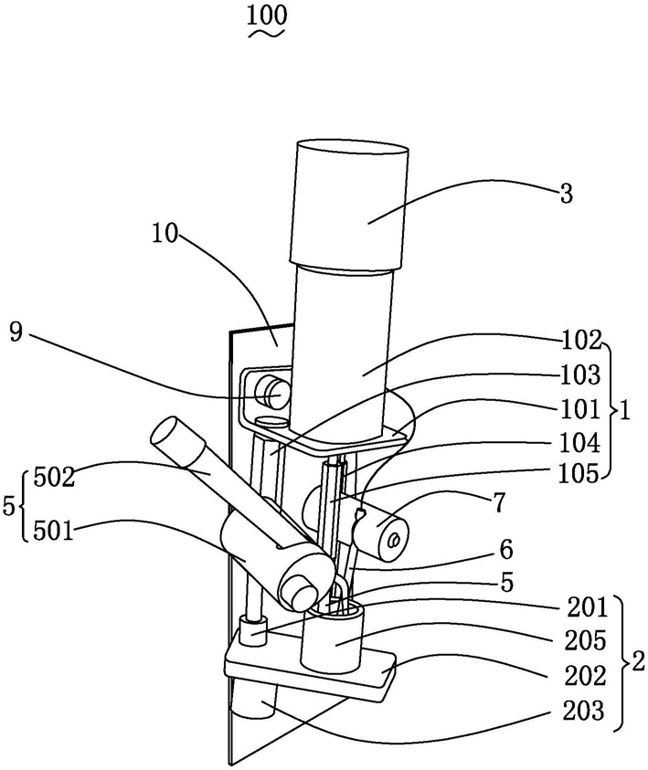
1.一种三电极旋转电极装置,其特征在于:所述三电极旋转电极装置包括机箱、旋转电机主架、信号丝组件、参比丝组件、电解池组件、双碳触点、玻碳电极、参比电极架、对电极以及对电极架,所述旋转电机主架包括电机支架、直流电机、池转杆、对电极立杆以及电极座,所述电机支架通过所述信号丝组件和所述参比丝组件固定安装于所述机箱,所述直流电机安装于所述电机支架,所述直流电机为两侧双出轴直流电机,所述直流电机包括长轴和短轴,所述电极座安装于所述长轴并与所述电解池组件正对间隔设置,所述池转杆和所述对电极立杆均固定于所述电机支架并沿竖直方向延伸,所述电解池组件和所述参比电极架均可移动的安装于所述池转杆,所述参比电极架设置于所述电解池组件与所述电机支架之间,所述双碳触点安装于所述短轴,所述玻碳电极安装于所述电极座,所述对电极架可移动的安装于所述对电极立杆,所述对电极安装于所述对电极架。

2.根据权利要求1所述的三电极旋转电极装置,其特征在于:所述电解池组件包括池台套、池台、定高柱、定高柱紧固丝以及电解池,所述池台套套设于所述池转杆,所述池台安装于所述池台套,所述定高柱安装于所述池转杆远离所述电机支架的一端,所述定高柱紧固丝安装于所述定高柱内,所述电解池安装于所述池台,所述电解池与所述玻碳电极正对间隔设置。

3.根据权利要求1所述的三电极旋转电极装置,其特征在于:所述玻碳电极包括电极套、导电柱、导电弹簧、碳纤维束以及第一玻碳,所述导电柱安装于所述电极套内与所述电极座连接,所述导电弹簧与所述导电柱固定连接,所述第一玻碳与所述导电弹簧连接,所述碳纤维束设置于所述导电弹簧内并与所述第一玻碳连接。

4.根据权利要求1所述的三电极旋转电极装置,其特征在于:所述参比电极架包括固定安装于所述池转杆的参比电极夹以及安装于所述参比电极夹上的饱和甘汞电极。

5.根据权利要求1所述的三电极旋转电极装置,其特征在于:所述对电极架包括定高套、参比套芯、对电极夹以及定高垫,所述定高套固定安装于所述对电极立杆上,所述参比套芯安装于所述定高套内,所述对电极夹安装于所述定高套,所述定高垫安装于所述对电极夹。

6.根据权利要求4所述的三电极旋转电极装置,其特征在于:所述对电极包括对电极套管、第二玻碳、探针、探针套以及对电极端子,所述第二玻碳安装于所述对电极套管内,所述探针与所述第二玻碳点接触连接,所述探针套包覆所述探针,所述对电极端子一端与所述探针套连接,另一端与所述参比丝组件连接。

7.根据权利要求1-6任意一项所述的三电极旋转电极装置,其特征在于:所述信号丝组件包括空心信号螺丝、绝缘片以及第一焊片,所述绝缘片安装于所述空心信号螺丝,所述第一焊片夹设于所述空心信号螺丝和所述绝缘片之间,所述直流电机的电源线穿过所述空心信号螺丝延伸至所述机箱外。

8.根据权利要求6所述的三电极旋转电极装置,其特征在于:所述参比丝组件包括参比丝、参考导电丝和第二焊片,所述参比丝包覆所述参考导电丝,所述第二焊片安装于所述参比丝,所述参比丝组件为两个,两所述参比丝组件分别与所述饱和甘汞电极和所述对电极端子连接。