欢迎来到知嘟嘟! 联系电话:13336804447 卖家免费入驻,海量在线求购! 卖家免费入驻,海量在线求购!
知嘟嘟
我要发布
联系电话:13336804447
知嘟嘟经纪人
收藏
专利号: 2017216305649
申请人: 四川红土地农业开发有限公司
专利类型:实用新型
专利状态:已下证
专利领域: 一般的物理或化学的方法或装置
更新日期:2025-01-31
缴费截止日期: 暂无
价格&联系人
年费信息
委托购买

摘要:

权利要求书:

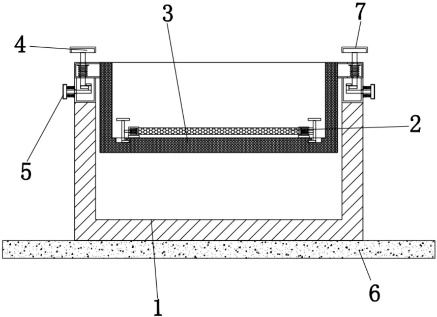
1.一种红酒生产过滤装置,包括箱体(1)和第一筛网(3),其特征在于:所述箱体(1)的左右两侧顶部均安装有第一连接柱(13),所述第一连接柱(13)的外侧上下均安装有固定板(8),所述固定板(8)的外侧安装有第一支杆(9),所述第一支杆(9)的外壁套有第一弹簧(10),所述第一弹簧(10)的外侧安装有第二固定块(5),所述第二固定块(5)的内侧安装有第五连接杆(22),所述第五连接杆(22)贯穿固定板(8),所述第五连接杆(22)的顶部安装有第三连接杆(20),所述第三连接杆(20)的顶部安装有第二连接杆(18),所述第二连接杆(18)的底部安装有第二硅胶垫(19),所述箱体(1)的顶部设有第二筛网(2),所述第二筛网(2)的左右两侧均安装有第二连接柱(15),所述第二连接柱(15)的顶部设有第一固定块(4),所述第一固定块(4)的底部安装有第一连接杆(16),所述第一连接杆(16)贯穿第二连接柱(15),所述第一连接杆(16)的左右两侧均安装有第一挡板(14),所述第一连接杆(16)的外壁套有第二弹簧(17),所述第一连接杆(16)的底部安装有第四连接杆(21),所述第四连接杆(21)的顶部安装有第一硅胶垫(12)。

2.根据权利要求1所述的一种红酒生产过滤装置,其特征在于:所述第一筛网(3)的内腔顶部左右两侧均设有卡槽(26),所述第一筛网(3)的顶部设有第二筛网(2),所述第二筛网(2)的左右两侧均安装有第三连接柱(30),所述第三连接柱(30)的内腔内侧安装有第二挡板(23),所述第二挡板(23)的外侧安装有第二支杆(27),所述第二支杆(27)的外壁套有第三弹簧(24),所述第二支杆(27)贯穿第三连接柱(30),所述第二支杆(27)的外侧安装有第三支杆(28),所述第三支杆(28)的顶部安装有第三固定块(29),所述第三支杆(28)的底部安装有卡块(25),所述卡块(25)与卡槽(26)卡接相连。

3.根据权利要求1所述的一种红酒生产过滤装置,其特征在于:所述箱体(1)的底部安装有橡胶垫(6)。

4.根据权利要求1所述的一种红酒生产过滤装置,其特征在于:所述第一固定块(4)的外壁套有橡胶套(7)。

5.根据权利要求1所述的一种红酒生产过滤装置,其特征在于:所述第一固定块(4)的外壁套有硅胶套(11)。

我要求购
我不想找了,帮我找吧
您有专利需要变现?
我要出售
智能匹配需求,快速出售