欢迎来到知嘟嘟! 联系电话:13336804447 卖家免费入驻,海量在线求购! 卖家免费入驻,海量在线求购!
知嘟嘟
我要发布
联系电话:13336804447
知嘟嘟经纪人
收藏
专利号: 201721311792X
申请人: 温州大学
专利类型:实用新型
专利状态:已下证
专利领域: 测量;测试
更新日期:2023-08-24
缴费截止日期: 暂无
价格&联系人
年费信息
委托购买

摘要:

权利要求书:

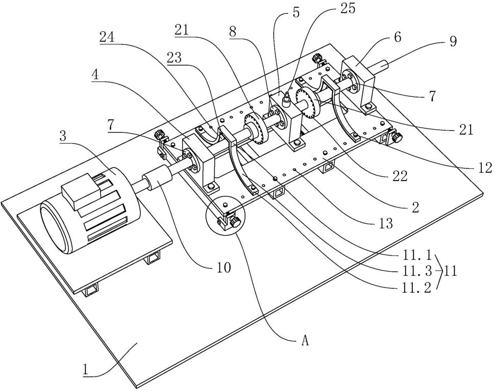
1.一种高效滚动轴承故障诊断平台,包括底板(1)以及设置在底板(1)上的固定座(2)与电机(3),所述固定座(2)上依次设置第一轴承座(4)、第二轴承座(5)以及第三轴承座(6),所述第一轴承座(4)与第三轴承座(6)内均安装有正常轴承(7),所述第二轴承座(5)内安装有故障轴承(8),两个所述正常轴承(7)与故障轴承(8)内穿设有同一根主轴(9),所述电机(3)与主轴(9)之间连接有传动件,其特征在于:所述固定座(2)上位于第一轴承座(4)与第二轴承座(5)之间、第二轴承座(5)与第三轴承座(6)之间均设有围绕于主轴(9)的框架(11),所述框架(11)与主轴(9)之间形成有间隙(24),所述框架(11)与固定座(2)之间连接有用于固定框架(11)的定位件。

2.根据权利要求1所述的高效滚动轴承故障诊断平台,其特征在于:所述定位件包括第一螺栓(12),所述固定座(2)上开设有供第一螺栓(12)穿设的安装孔(13),所述第一螺栓(12)穿过框架(11)与安装孔(13)螺纹连接,所述安装孔(13)沿主轴(9)的轴向排列设置于固定座(2)。

3.根据权利要求1所述的高效滚动轴承故障诊断平台,其特征在于:所述框架(11)包括罩设于主轴(9)的限位部(11.1)以及连接限位部(11.1)的安装部(11.2),所述限位部(11.1)与安装部(11.2)之间设有朝向固定座(2)方向凸出的弧形部(11.3)。

4.根据权利要求1所述的高效滚动轴承故障诊断平台,其特征在于:所述底板(1)上位于固定座(2)朝主轴(9)径向方向的两侧壁均设有连接板(14),所述连接板(14)与固定座(2)的侧壁之间间隔设置,所述连接板(14)上设有压持固定座(2)且用于调节固定座(2)沿主轴(9)的径向方向实现移动的调节件。

5.根据权利要求4所述的高效滚动轴承故障诊断平台,其特征在于:所述调节件包括与连接板(14)螺纹连接且抵触固定座(2)侧壁的第二螺栓(15),所述第二螺栓(15)的头部设有驱动第二螺栓(15)实现转动的手轮(16)。

6.根据权利要求4所述的高效滚动轴承故障诊断平台,其特征在于:所述固定座(2)上设有穿过底板(1)的第三螺栓(17),所述底板(1)上设有供第三螺栓(17)穿设的腰行孔(18),所述腰行孔(18)的长度方向与主轴(9)的径向平行设置,所述腰行孔(18)内滑移设有与第三螺栓(17)螺纹连接的螺母(19)且限制螺母(19)周向转动,所述螺母(19)与腰行孔(18)之间设有用于限制螺母(19)沿轴向方向实现移动的限位件(20)。

7.根据权利要求6所述的高效滚动轴承故障诊断平台,其特征在于:所述限位件(20)包括设置在螺母(19)上的滑条(20.1)以及设置在腰行孔(18)侧壁的滑槽(20.2)。

8.根据权利要求1所述的高效滚动轴承故障诊断平台,其特征在于:所述主轴(9)上设有负载圆盘(21),所述负载圆盘(21)上设有用于安装配重块的通孔(22)。

9.根据权利要求1所述的高效滚动轴承故障诊断平台,其特征在于:所述框架(11)朝向主轴(9)的一面设有缓冲层(23)。

我要求购
我不想找了,帮我找吧
您有专利需要变现?
我要出售
智能匹配需求,快速出售