欢迎来到知嘟嘟! 联系电话:13336804447 卖家免费入驻,海量在线求购! 卖家免费入驻,海量在线求购!
知嘟嘟
我要发布
联系电话:13336804447
知嘟嘟经纪人
收藏
专利号: 2017211224698
申请人: 浙江盛越电子科技有限公司
专利类型:实用新型
专利状态:已下证
专利领域: 发电、变电或配电
更新日期:2023-08-24
缴费截止日期: 暂无
价格&联系人
年费信息
委托购买

摘要:

权利要求书:

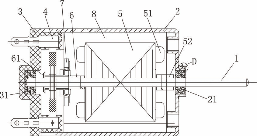
1.低噪音高稳定性电机,包括转轴(1)、相互配合连接的机壳(2)和端盖(3),所述端盖(3)上设置有电刷(4),其特征在于:所述机壳(2)上设置有机壳轴承(21),所述端盖(3)上设置有端盖轴承(31),所述转轴(1)两端分别与所述机壳轴承(21)和所述端盖轴承(31)配合转动连接,所述转轴(1)前部穿过所述机壳轴承(21)并延伸至所述机壳(2)外,所述转轴(1)中部设置有铁芯片(5),所述转轴(1)后部设置有换向器(6)和压敏电阻(7),所述铁芯片(5)上设置有线圈(51),所述线圈(51)与所述压敏电阻(7)电接触,所述机壳(2)内壁上设置有磁钢(8),所述铁芯片(5)上设置有减振套管(52),所述减振套管(52)套设在所述转轴(1)上,所述减振套管(52)内壁上设置有若干橡胶凸点(521),同时在所述减振套管(52)内壁上设置有海绵填充层(522)。

2.根据权利要求1所述的低噪音高稳定性电机,其特征在于:所述换向器(6)上设置有垫片(61)。

我要求购
我不想找了,帮我找吧
您有专利需要变现?
我要出售
智能匹配需求,快速出售