欢迎来到知嘟嘟! 联系电话:13095918853 卖家免费入驻,海量在线求购! 卖家免费入驻,海量在线求购!
知嘟嘟
我要发布
联系电话:13095918853
知嘟嘟经纪人
收藏
专利号: 2017210929259
申请人: 漳浦比速光电科技有限公司
专利类型:实用新型
专利状态:已下证
专利领域: 测量;测试
更新日期:2023-11-05
缴费截止日期: 暂无
价格&联系人
年费信息
委托购买

摘要:

权利要求书:

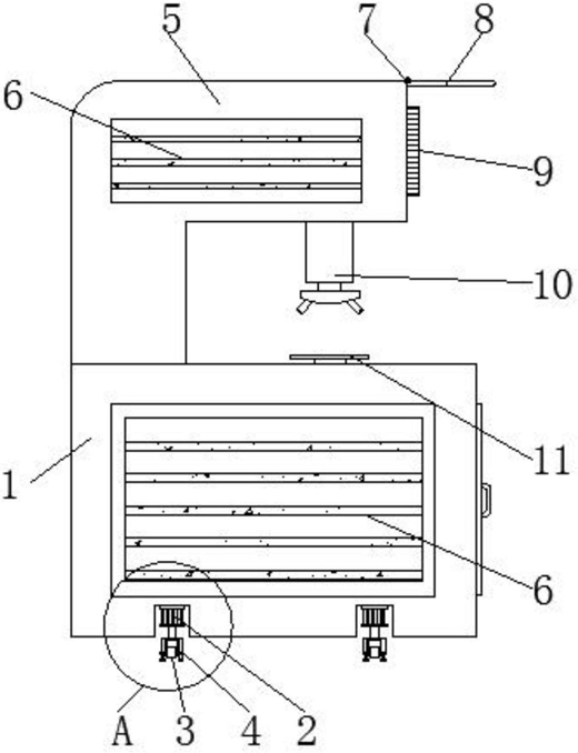
1.一种便于移动的可调节电缆测量投影仪,包括机座(1)机架(5)和散热孔(6),其特征在于:所述机座(1)下端内部安装有液压缸(2),且液压缸(2)下端安装万向轮(3),所述万向轮(3)外侧安装有调节机构(4),所述机架(5)设置于机座(1)上端,且挡板(8)内侧通过轴销(7)与机架(5)相连接,所述机架(5)右侧固定有显示器(9),且机架(5)右侧下端安装有显微镜(10),所述显微镜(10)下端设置有载物台(11),且载物台(11)位于机座(1)右侧上端。

2.根据权利要求1所述的一种便于移动的可调节电缆测量投影仪,其特征在于:所述机座(1)下端内部为凹形结构,且机座(1)下端内部凹形结构的高度与液压缸(2)和万向轮(3)的原高之和相等。

3.根据权利要求1所述的一种便于移动的可调节电缆测量投影仪,其特征在于:所述调节机构(4)包括外壳(401)、限位槽(402)、限位块(403)、第一轴承(404)、调节螺母(405)、螺纹杆(406)、第二轴承(407)和支撑脚(408),且外壳(401)内部设置有限位槽(402),外壳(401)下端通过第一轴承(404)与调节螺母(405)相连接,第一轴承(404)和调节螺母(405)内部贯穿有螺纹杆(406),螺纹杆(406)上端外侧固定有限位块(403),限位块(403)位于限位槽(402)内部,螺纹杆(406)下端通过第二轴承(407)和支撑脚(408)相连接,并且外壳(401)内侧与万向轮(3)的外侧相连接。

4.根据权利要求1所述的一种便于移动的可调节电缆测量投影仪,其特征在于:所述散热孔(6)共设置有两个,且其分别设置于机座(1)和机架(5)的外侧,并且散热孔(6)为百叶式结构。

5.根据权利要求1所述的一种便于移动的可调节电缆测量投影仪,其特征在于:所述挡板(8)与机架(5)通过轴销(7)为转动连接,且轴销(7)的转动范围为0-90°,并且挡板(8)的面积大于显示器(9)的面积。