欢迎来到知嘟嘟! 联系电话:13336804447 卖家免费入驻,海量在线求购! 卖家免费入驻,海量在线求购!
知嘟嘟
我要发布
联系电话:13336804447
知嘟嘟经纪人
收藏
专利号: 2017210303550
申请人: 漳浦比速光电科技有限公司
专利类型:实用新型
专利状态:已下证
专利领域: 照明
更新日期:2023-11-05
缴费截止日期: 暂无
价格&联系人
年费信息
委托购买

摘要:

权利要求书:

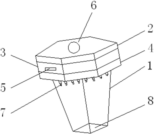
1.一种具有颜色效果的节能太阳能灯,包括灯体(1),其特征在于:所述灯体(1)上安装有防尘罩(4),且防尘罩(4)上端固定有保护平台(3),所述保护平台(3)上安装有开关(5),且保护平台(3)上连接有连接板(2),所述连接板(2)上端设置有太阳能板(6),所述保护平台(3)内部设置有蓄电池组(9),且蓄电池组(9)的下端连接有控制器(10),所述控制器(10)的下端固定有旋转电机(11),且旋转电机(11)的下端设置有转轴外套(12),所述转轴外套(12)的内部安装有转轴(14),且转轴外套(12)和转轴(14)之间设置有卡槽(13),所述防尘罩(4)上设置有散热口(16),所述的灯体(1)内部设置有散热器(15),且灯体(1)的内部设置有反光板(8),所述散热器(15)的下端连接有电路板(17),且电路板(17)的下端安装有灯管(7)。

2.根据权利要求1所述的一种具有颜色效果的节能太阳能灯,其特征在于:所述灯体(1)和防尘罩(4)上均等间距的分布有散热口(16),且防尘罩(4)的表面呈圆弧状结构。

3.根据权利要求1所述的一种具有颜色效果的节能太阳能灯,其特征在于:所述防尘罩(4)上均匀的喷涂有颜色层,且防尘罩(4)上喷涂的颜色层具体为黄色。

4.根据权利要求1所述的一种具有颜色效果的节能太阳能灯,其特征在于:所述太阳能板(6)的结构形状为六边形,且太阳能板(6)的表面呈斜纹状结构。

5.根据权利要求1所述的一种具有颜色效果的节能太阳能灯,其特征在于:所述灯管(7)的数量范围为7-10个,且灯管(7)等间距上的分布在灯体(1)的内部。

6.根据权利要求1所述的一种具有颜色效果的节能太阳能灯,其特征在于:所述卡槽(13)和转轴(14)的表面均呈螺纹状结构。