欢迎来到知嘟嘟! 联系电话:13336804447 卖家免费入驻,海量在线求购! 卖家免费入驻,海量在线求购!
知嘟嘟
我要发布
联系电话:13336804447
知嘟嘟经纪人
收藏
专利号: 2017206233042
申请人: 宁波卫生职业技术学院
专利类型:实用新型
专利状态:已下证
专利领域: 给水;排水
更新日期:2023-08-24
缴费截止日期: 暂无
价格&联系人
年费信息
委托购买

摘要:

权利要求书:

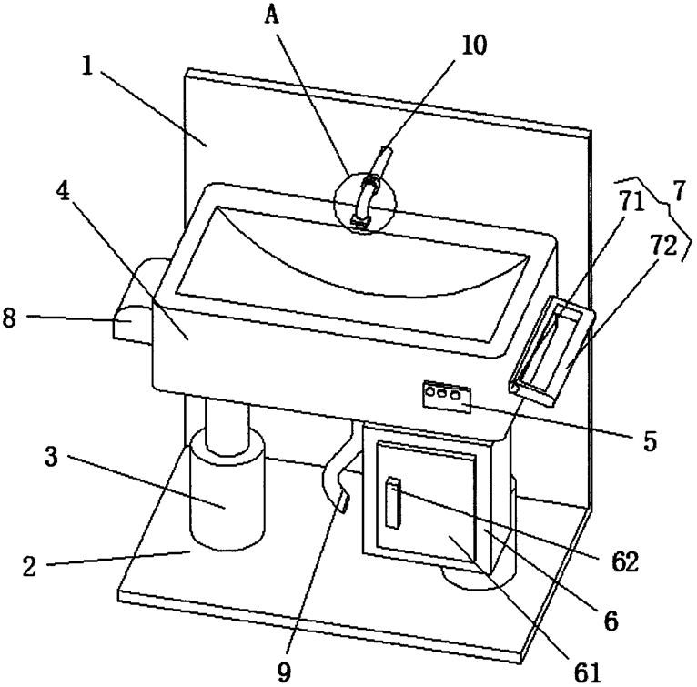
1.一种老人自助式便捷洗漱台,包括墙体板(1)和安装板(2),其特征在于:所述安装板(2)设置在墙体板(1)的侧面,安装板(2)的上表面设有电动伸缩杆(3),电动伸缩杆(3)的伸缩端设有洗漱台(4),洗漱台(4)的外侧表面设有PLC控制器(5),PLC控制器(5)的输入端与外置电源的输出端电连接,电动伸缩杆(3)的输入端与PLC控制器(5)的输出端电连接,洗漱台(4)的下表面设有物品柜(6),洗漱台(4)的侧表面设有毛巾放置装置(7),且洗漱台(4)的下表面设有下水软管(9),墙体板(1)的侧表面开设有通孔,通孔内贯穿有出水管(10)。2.根据权利要求1所述的一种老人自助式便捷洗漱台,其特征在于:所述物品柜(6)的侧表面铰接有柜门(61),柜门(61)的侧表面设有把手(62)。3.根据权利要求1所述的一种老人自助式便捷洗漱台,其特征在于:所述毛巾放置装置(7)包括洗漱台(4)侧表面设置的铰接座(71),铰接座(71)的侧表面设有毛巾架(72)。4.根据权利要求1所述的一种老人自助式便捷洗漱台,其特征在于:所述洗漱台(4)的外侧表面设有烘手器(8),烘手器(8)的输入端与PLC控制器(5)的输出端电连接。5.根据权利要求1所述的一种老人自助式便捷洗漱台,其特征在于:所述出水管(10)的外侧表面设有电磁流量控制阀(11),电磁流量控制阀(11)的输入端与PLC控制器(5)的输出端电连接,出水管(10)的外侧表面设有红外线传感器(12),红外线传感器(12)的输出端与PLC控制器(5)的输入端电连接。