欢迎来到知嘟嘟! 联系电话:13336804447 卖家免费入驻,海量在线求购! 卖家免费入驻,海量在线求购!
知嘟嘟
我要发布
联系电话:13336804447
知嘟嘟经纪人
收藏
专利号: 2017113793518
申请人: 浙江理工大学
专利类型:发明专利
专利状态:已下证
专利领域: 液力机械或液力发动机;风力、弹力或重力发动机;其他类目中不包括的产生机械动力或反推力的发动机
更新日期:2026-03-20
缴费截止日期: 暂无
价格&联系人
年费信息
委托购买

摘要:

权利要求书:

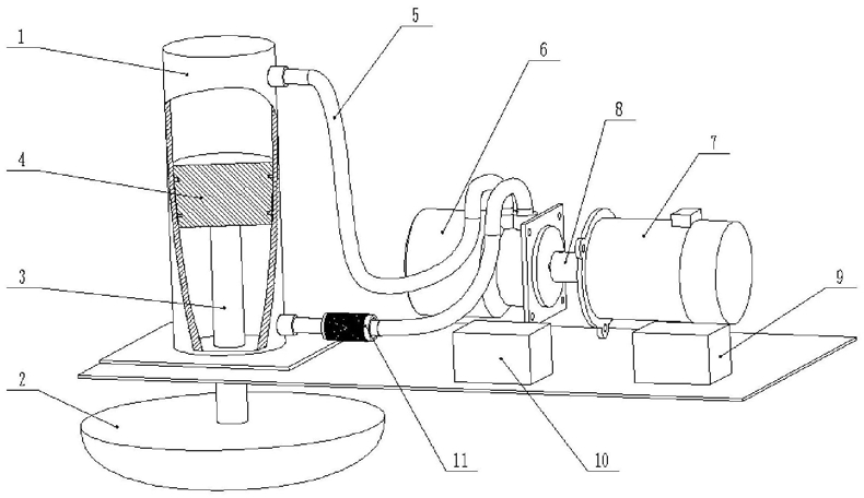
1.一种基于模糊控制的海浪发电系统,其特征在于,包括机械动力装置、控制装置、发电装置、整流及储能装置;其中:所述机械动力装置包括液压缸、浮子、连接杆和波浪板,所述连接杆分别与所述浮子和所述波浪板相连,所述液压缸的内部空间被波浪板分为上、下两个空间,每个空间内装有固定量的磁流变液,并分别与磁流变液管道相连;

所述控制装置包括磁流变液、磁流变液管道、控制模块、输电线路、欧姆龙编码器和电磁线圈,所述磁流变液存在于所述液压缸的内部以及所述磁流变液管道内,所述电磁线圈环绕在所述磁流变液管道上,并通过输电线路分别与所述控制模块及所述整流及储能装置相连,所述欧姆龙编码器与所述控制模块相连接;

所述发电装置包括液压马达和永磁同步发电机,所述液压马达与所述磁流变液管道相连,所述液压马达与所述永磁同步发电机同步相连,所述欧姆龙编码器检测所述永磁同步发电机的转速。

2.根据权利要求1所述的基于模糊控制的海浪发电系统,其特征在于,所述控制模块包括模糊控制器和电流驱动器,所述模糊控制器和所述电流驱动器相连接,所述电流驱动器通过输电线路与所述电磁线圈以及所述整流及储能装置相连。

3.根据权利要求2所述的基于模糊控制的海浪发电系统,其特征在于,所述整流与储能装置包括整流电路和储能模块,所述整流电路与所述永磁同步发电机相连,所述储能模块分别与所述电流驱动器和所述整流电路相连。

4.根据权利要求2所述的基于模糊控制的海浪发电系统,其特征在于,所述电流驱动器包括调整电路、电流取样电路、放大器电路、电流比较放大电路和辅助电源,所述调整电路的输出端与所述电流取样电路的输入端相连接,所述电流取样电路的输出端通过所述电流比较放大电路与所述放大器的输入端相连接,所述辅助电源与所述放大器的输入端和所述电流比较放大电路相连接,所述模糊控制器的输出端与所述电流比较放大电路的输入端相连接,所述电流取样电路的输出端分别与所述电流比较放大电路的输入端和所述电磁线圈相连接,所述调整电路的输入端与所述整流与储能装置相连接。

5.根据权利要求4所述的基于模糊控制的海浪发电系统,其特征在于,所述欧姆龙编码器将所述永磁同步发电机的转速与目标转速的偏差值和偏差变化量输入所述模糊控制器,所述模糊控制器输出对所述电磁线圈的控制信息至所述电流驱动器,所述电磁线圈通过改变磁场强度改变所述磁流变液的粘滞程度,从而通过改变所述液压马达的转速改变所述永磁同步发电机的转速。

6.根据权利要求5所述的基于模糊控制的海浪发电系统,其特征在于,所述海浪发电系统中,所述浮子在波浪上的垂荡运动满足如下方程:其中:m为浮子质量,Ffliud为波浪作用在浮子上的流体力,FPTO为浮子受的液压阻尼力,g为重力加速度,Z(t)为浮子在垂直方向的位移,t为浮子运动的时刻;

所述浮子的瞬时传输功率P(t)和一段时长Δt内浮筒的平均传输功率P1分别为:P(t)=-FPTO(t)V(t)

其中:FPTO为浮子受到的瞬时液压阻尼力,V(t)为浮子的瞬时速度;

所述波浪板作用在液压缸上的作用力为:

F=Ffliud-(mg+m1g)

其中:m为浮子重量,m1为连接杆重量。

7.根据权利要求6所述的基于模糊控制的海浪发电系统,其特征在于,所述浮子捕获的波浪能,通过所述波浪板传递到所述液压缸,因此单个液压缸的功率方程为:FV=p0qv

其中:V为液压缸活塞的速度,p0为液压缸空腔处压力,qv为液压缸的体积输出流量;

所述液压马达的轴系的力矩平衡方程为:

其中:Tm为液压马达的轴系力矩,G和Dm分别为液压马达轴系上的飞轮重量和直径,nm为液压马达转速,Bm为液压马达的轴系黏性阻尼系数,Tg为发电机转矩;

所述永磁同步发电机的转矩关系为:

其中:Tg为发电机转矩,P1为一段时长Δt浮筒的平均传输功率,n1为发电机转速。

8.根据权利要求7所述的基于模糊控制的海浪发电系统,其特征在于,所述模糊控制器选取加速度为振幅为 的正弦波;加速度作用于所述永磁同步发电机时,所述永磁同步发电机的转速控制在365~395转/分,额定转速380转/分为平衡点,则转速的论域为365~

395,控制电流的论域为0~2A。

9.根据权利要求8所述的基于模糊控制的海浪发电系统,其特征在于,加速度和控制电流离散化为5个等级:VS(很小)、S(小)、M(中)、L(大)、VL(很大),速度离散化为7个等级:NL(负大)、NM(负中)、NS(负小)、ZE(零)、PS(正小)、PM(正中)、PL(正大);

加速度、速度和控制电流的模糊集合分别为:A={VS、S、M、L、VL};N={NL、NM、NS、ZE、PS、PM、PL};将加速度、转速和电流的模糊论域定为0~4、365~395和0~2。

记偏差的量化因子为Ke,由偏差的基本论域和模糊论域的表示形式可以得到如下方程:。

10.根据权利要求9所述的基于模糊控制的海浪发电系统,其特征在于,速度量化因子Kn=1;偏差变化率的量化因子为Ka=1;电流比例因子Ki=1。