欢迎来到知嘟嘟! 联系电话:13336804447 卖家免费入驻,海量在线求购! 卖家免费入驻,海量在线求购!
知嘟嘟
我要发布
联系电话:13336804447
知嘟嘟经纪人
收藏
专利号: 201711105134X
申请人: 浙江理工大学
专利类型:发明专利
专利状态:已下证
专利领域: 测量;测试
更新日期:2024-01-05
缴费截止日期: 暂无
价格&联系人
年费信息
委托购买

摘要:

权利要求书:

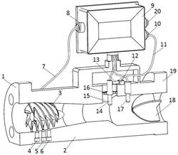
1.一种起旋器叶片磨损下的自调节式旋进旋涡流量计,其特征在于:包括重力传感器Ⅰ(4)、重力传感器Ⅱ(5)、重力传感器Ⅲ(6)、电磁推动装置(12)、伸缩推杆(13)、压电传感器(14)和伸缩式密封隔板组件(16);壳体(2)内部设有内流道,壳体(2)前端与进口法兰(1)相连,壳体(2)后端与出口法兰(19)相连,起旋器(3)和消旋器(18)分别置于壳体(2)的内流道的前端和后端;起旋器(3)下面的壳体(2)内部中安装有重力传感器Ⅰ(4)、重力传感器Ⅱ(5)和重力传感器Ⅲ(6),重力传感器Ⅰ(4)、重力传感器Ⅱ(5)和重力传感器Ⅲ(6)沿壳体(2)内流道轴向间隔布置;壳体(2)内流道中间的顶部开有测量凹槽轨道(15),压电传感器(14)通过伸缩式密封隔板组件(16)竖直密封安装在测量凹槽轨道(15)中,压电传感器(14)探头端向下穿过测量凹槽轨道(15)伸入到壳体(2)内流道中;位于测量凹槽轨道(15)旁的壳体(2)外顶面安装有电磁推动装置(12),电磁推动装置(12)的输出端连接伸缩推杆(13),伸缩推杆(13)的端部顶接到压电传感器(14);

通过电磁推动装置(12)工作带动伸缩推杆(13)推动压电传感器(14)在测量凹槽轨道(15)中沿内流道轴向移动,以实现对不同磨损程度的起旋器(3)所产生旋涡的涡核频率的检测。

2.根据权利要求1所述的一种起旋器叶片磨损下的自调节式旋进旋涡流量计,其特征在于:所述的壳体(2)顶部设有显示及处理装置(9),重力传感器Ⅰ(4)、重力传感器Ⅱ(5)和重力传感器Ⅲ(6)经重力信号传输线(7)连接到显示及处理装置(9)中,压电传感器(14)经频率信号传输线(22)连接到显示及处理装置(9)中,通过频率信号传输线(22)将压电传感器(14)采集到的频率数据传输到显示及处理装置(9)中。

3.根据权利要求1所述的一种起旋器叶片磨损下的自调节式旋进旋涡流量计,其特征在于:所述的壳体(2)上还安装有温度传感器(17),穿过壳体(2)上设置的安装孔伸入到壳体(2)的内流道中,温度传感器(17)经温度信号传输线(23)连接到显示及处理装置(9)中。

4.根据权利要求1所述的一种起旋器叶片磨损下的自调节式旋进旋涡流量计,其特征在于:通过三个重力传感器采集起旋器(3)的重量信号,由重量信号获得起旋器(3)的磨损情况得到所对应的叶片厚度,重力传感器采集的起旋器重量信号经过重力信号输出接口(21)、重力信号传输线(7)和重力信号输入接口(8)传输到中。

5.根据权利要求1所述的一种起旋器叶片磨损下的自调节式旋进旋涡流量计,其特征在于:所述的伸缩式密封隔板组件(16)设有多个从内到外依次嵌套的套框件、隔板内置弹簧(24)和密封垫圈,相邻套框件之间均连接有隔板内置弹簧(24),相邻套框件的接触面之间设有密封垫圈,套框件和壳体(2)的测量凹槽轨道(15)之间也设有密封垫圈,密封垫圈处设有润滑油,使得相邻套框件之间通过润滑密封。