欢迎来到知嘟嘟! 联系电话:13336804447 卖家免费入驻,海量在线求购! 卖家免费入驻,海量在线求购!
知嘟嘟
我要发布
联系电话:13336804447
知嘟嘟经纪人
收藏
专利号: 2017110614253
申请人: 铜陵博锋实业有限公司
专利类型:发明专利
专利状态:已下证
更新日期:2024-02-23
缴费截止日期: 暂无
价格&联系人
年费信息
委托购买

摘要:

权利要求书:

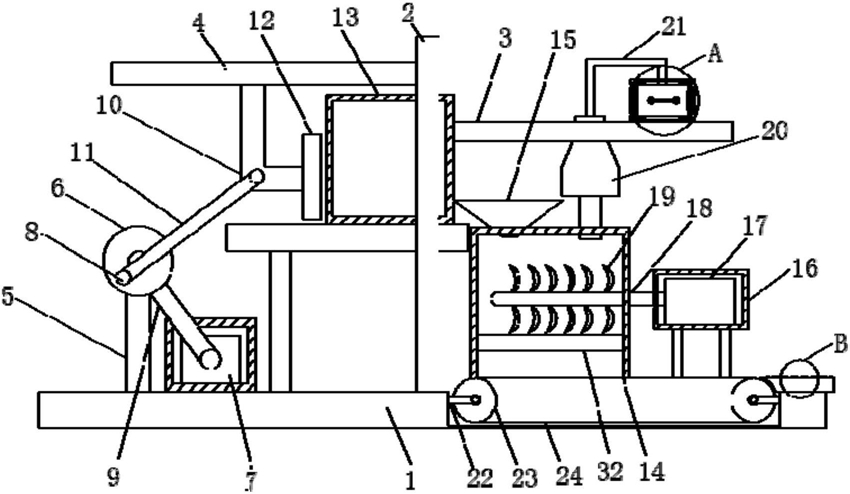
1.一种新型有机膨润土自动化加工装置,包括底板(1),其特征在于,所述底板(1)的上端设有竖板(2),所述竖板(2)的两侧侧壁上设有第一横板(3)和第二横板(4),所述底板(1)的上侧壁还设有第一支撑杆(5),所述第一支撑杆(5)的上端套设有转盘(6),所述底板(1)的上侧壁还设有第一放置箱,所述第一放置箱内设有第一转动电机(7),所述转盘(6)的一侧侧壁上设有转杆,所述转杆和第一转动电机(7)的驱动端之间套设有联动带(9),所述转盘(6)的表面上设有第一套杆(8),所述第二横板(4)的下侧壁开设有滑槽,所述滑槽内设有L型滑板(10),所述L型滑板(10)上设有第二套杆,所述第一套杆和第二套杆上共同套设有连接杆(11),所述L型滑板(10)远离滑槽的一端设有推板(12),所述底板(1)的上侧壁还设有第二支撑杆,所述第二支撑杆的上端设有放置板,所述放置板的一端插设在竖板(2)内,所述放置板的上侧壁设有原料箱(13),所述原料箱(13)内设有有机膨润土原料,所述原料箱(13的两侧侧壁上均开设有与推板(12)大小位置相匹配的凹口,所述底板(1)的上侧壁还设有粉碎箱(14),所述粉碎箱(14)的上侧壁设有进料口(15),所述底板(1)的上端还设有两个第三支撑杆,两个所述第三支撑杆的上端共同连接有第二放置箱(16),所述第二放置箱(16)内设有第二转动电机(17),所述第二转动电机(17)的驱动端连接有粉碎杆(18),所述粉碎杆(18)远离第二放置箱(16)的一端贯穿粉碎箱(14)的侧壁并延伸至粉碎箱(14)的内部,所述粉碎杆(18)位于粉碎箱(14)内的一端侧壁上设有多个粉碎叶片(19),所述粉碎箱(14)的上侧壁还设有第一连通管,所述第一连通管与粉碎箱(14)的内部连通,所述第一连通管远离粉碎箱(14)的一端连接有旋风分离器(20),所述旋风分离器(20)贯穿第一横板(3)连接有第二连通管(21),所述底板(1)的上侧壁开设有凹槽,所述凹槽的两侧内壁上设有U型套板(22),两个所述U型套板(22)内均套设有转轮(23),两个所述转轮(23)上共同套设有传送带(24),所述传送带(24)位于粉碎箱(14)的内底部,所述粉碎箱(14)的内部还设有筛网(32),所述筛网(32)位于传送带(6)的上方,所述底板(1)的上侧壁还设有晾晒板(31),所述晾晒板(31)位于传送带(24)远离竖板(2)的一侧。

2.根据权利要求1所述的一种新型有机膨润土自动化加工装置,其特征在于,所述L型滑板(10)位于滑槽内的一端两侧侧壁上设有限位片。

3.根据权利要求1所述的一种新型有机膨润土自动化加工装置,其特征在于,所述第一横板(3)的上侧壁设有粉尘收集箱,所述粉尘收集箱内开设有空腔,所述空腔的内壁四角处设有L型固定板(26),四个所述L型固定板(26)之间设有粉尘收集盒(27),所述粉尘收集盒(27)的上侧壁设有弹性管(28),所述空腔靠近弹性管(28)的一侧内壁上设有与弹性管(28)大小相匹配的固定槽,所述第二连通管(21)远离旋风分离器(20)的一端贯穿粉尘收集箱的上侧壁并延伸至固定槽的内部。

4.根据权利要求3所述的一种新型有机膨润土自动化加工装置,其特征在于,所述粉尘收集盒(27)的一侧侧壁上设有两个固定孔(29),两个所述固定孔(29)内均插设有固定杆(25),两个所述固定杆(25)上共同套设有握把(30)。

5.根据权利要求4所述的一种新型有机膨润土自动化加工装置,其特征在于,两个所述固定杆(25)均与固定孔(29)的大小相匹配。

6.根据权利要求1所述的一种新型有机膨润土自动化加工装置,其特征在于,其中一个所述U型套板(22)的一侧开设有插口,所述插口内设有转动杆,所述插口直径大于转动杆的直径,所述转动杆与转轮(23)固定连接,所述转动杆远离转轮(23)的一端连接有第三转动电机。

7.根据权利要求1所述的一种新型有机膨润土自动化加工装置,其特征在于,所述晾晒板(31)表面设有多个凹凸不平的凸块。