欢迎来到知嘟嘟! 联系电话:13336804447 卖家免费入驻,海量在线求购! 卖家免费入驻,海量在线求购!
知嘟嘟
我要发布
联系电话:13336804447
知嘟嘟经纪人
收藏
专利号: 2017110105747
申请人: 董春来
专利类型:发明专利
专利状态:授权未缴费
专利领域: 照明
更新日期:2024-12-02
缴费截止日期: 暂无
价格&联系人
年费信息
委托购买

摘要:

权利要求书:

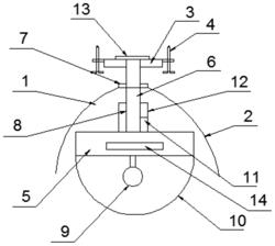
1.一种可预测矿井坍塌的防潮防辐射节能灯,包括装置本体(1),其特征在于,所述节能灯本体(1)的顶端设有安装座(3),所述安装座(3)的顶端设有压力传感器(13),所述安装座(3)的两端均设有螺栓(4),所述安装座(3)的中部设有连接杆(6),所述连接杆(6)的中部设有灯罩(2),所述灯罩(2)的顶端设有螺栓套(7),所述连接杆(6)的底端设有活塞套(5),所述活塞套(5)上设有报警器(14),所述活塞套(5)的底端设有玻璃灯泡罩(10),所述活塞套(5)的底端设有所述节能灯(9),所述节能灯(9)由灯头(91)、灯座(92)和灯管(93)组成,所述灯座(92)的内部设有镇流器(94),所述镇流器(94)的表面设有电磁屏蔽罩(95),所述灯管(93)的表面设有所述电离辐射屏蔽罩(96),所述连接杆(6)的一侧设有电热块(8),所述连接杆(6)的另一侧设有所述湿度传感器(11),湿度传感器(11)的顶端设有控制器(12)。

2.根据权利要求1一种可预测矿井坍塌的防潮防辐射节能灯,其特征在于,所述连接杆(6)的两端均设有螺纹,所述连接杆(6)与所述安装座(3)和所述活塞套(5)均通过螺纹相连,所述玻璃灯泡罩(10)与所述活塞套(5)通过螺纹相连。

3.根据权利要求1一种可预测矿井坍塌的防潮防辐射节能灯,其特征在于,所述湿度传感器(11)和所述压力传感器(13)均与外接电源和所述控制器(12)电性连接,所述控制器(12)分别与所述电热块(8)和所述报警器(14)电性连接。

4.根据权利要求1一种可预测矿井坍塌的防潮防辐射节能灯,其特征在于,所述电磁屏蔽罩(95)采用金属网制成,所述电磁屏蔽罩(95)通过螺钉固定连接在所述灯座(92)的内部。

5.根据权利要求1一种可预测矿井坍塌的防潮防辐射节能灯,所述电离辐射屏蔽罩(96)采用铅玻璃制成,所述电离辐射屏蔽罩(96)采用螺钉固定在所述灯座(92)的侧面。

我要求购
我不想找了,帮我找吧
您有专利需要变现?
我要出售
智能匹配需求,快速出售