欢迎来到知嘟嘟! 联系电话:13336804447 卖家免费入驻,海量在线求购! 卖家免费入驻,海量在线求购!
知嘟嘟
我要发布
联系电话:13336804447
知嘟嘟经纪人
收藏
专利号: 2017109915781
申请人: 上海怡澎实业有限公司
专利类型:发明专利
专利状态:已下证
专利领域: 测量;测试
更新日期:2023-11-07
缴费截止日期: 暂无
价格&联系人
年费信息
委托购买

摘要:

权利要求书:

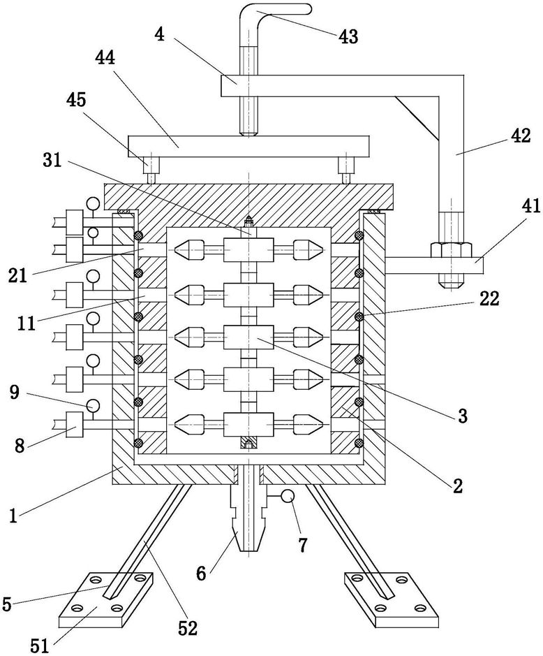
1.一种密封圈非破坏性额定压力检测仪器,其特征在于:包括外壳(1)、试压轴(2)、堵塞模块(3)、压紧模块(4)、支座(5)、快速接头(6)、压力表一(7)、电磁阀(8)、压力表二(9)和卸油管,所述支座(5)包括底板(51)和支撑架(52),所述底板(51)安装于地面,所述支撑架(52)固定在底板(51)上,支撑架(52)用于支撑外壳(1);所述外壳(1)为圆筒状结构,外壳(1)顶部为开口状,外壳(1)侧壁上对称布置有数层出液孔(11),出液孔(11)外连接有卸油管,卸油管上安装有电磁阀(8)和压力表二(9),外壳(1)底部开有供高压软管连接的快速接头(6),快速接头(6)侧面设置有压力表一(7);所述试压轴(2)套在外壳(1)内,试压轴(2)用于放置待测的密封圈;所述堵塞模块(3)安装在试压轴(2)内,堵塞模块(3)用于对密封圈进行逐一检测;所述压紧模块(4)位于试压轴(2)上方,压紧模块(4)用于将试压轴(2)压在外壳(1)内;

所述试压轴(2)为T字型阶梯轴,试压轴(2)与外壳(1)在外壳(1)顶部的接触面上设置有密封体,试压轴(2)下端面上开有圆柱型凹槽,凹槽顶部开有螺纹孔,试压轴(2)侧面均匀开设有数层过液孔(21)和密封圈槽(22),密封圈槽(22)用于放置待测密封圈;

所述堵塞模块(3)包括芯轴(31)、电磁铁(32)、压缩弹簧(33)、顶杆(34)和堵塞头(35),所述芯轴(31)为阶梯轴,芯轴(31)的数量根据过液孔(21)的层数来确定,芯轴(31)顶端有一段为螺纹轴,芯轴(31)下端面上开设有螺纹孔,芯轴(31)之间通过螺纹轴和螺纹孔实现连接,最上方的芯轴(31)安装在试压轴(2)的圆柱型凹槽内,芯轴(31)中部对称布置有导向槽;所述电磁铁(32)安装在导向槽内;所述压缩弹簧(33)放置于导向槽内,压缩弹簧(33)一端连接电磁铁(32),压缩弹簧(33)另一端连接顶杆(34);所述顶杆(34)安装在导向槽内;所述堵塞头(35)用于将过液孔(21)堵住,堵塞头(35)安装在顶杆(34)上。

2.根据权利要求1所述的一种密封圈非破坏性额定压力检测仪器,其特征在于:所述堵塞头(35)为圆台结构,具有自动对准过液孔(21)中心的功能。

3.根据权利要求1所述的一种密封圈非破坏性额定压力检测仪器,其特征在于:所述压紧模块(4)包括固定板(41)、支架(42)、旋转手柄(43)、压板(44)、气缸(45)和锁紧螺母,所述固定板(41)安装在外壳(1)侧壁上;所述支架(42)为L型,支架(42)下端头部为螺纹结构,支架(42)通过螺纹结构安装在固定板(41)上;所述锁紧螺母安装在支架(42)上,锁紧螺母用于将支架(42)锁紧在固定板(41)上;所述旋转手柄(43)头部为螺纹结构,旋转手柄(43)通过螺纹安装在支架(42)上;所述压板(44)安装在旋转手柄(43)端部,压板(44)底面对称安装有气缸(45)。

4.根据权利要求3所述的一种密封圈非破坏性额定压力检测仪器,其特征在于:所述支架(42)通过螺纹连接安装在固定板(41)上,支架(42)能够绕着固定板(41)转动,从而能够使压板(44)偏转一定角度以偏离试压轴(2)正上方,从而方便将试压轴(2)放入和取出。

5.根据权利要求3所述的一种密封圈非破坏性额定压力检测仪器,其特征在于:所述压板(44)通过旋转手柄(43)在支架(42)上的转动而向下移动靠近试压轴(2),气缸(45)动作将试压轴(2)压紧。

6.根据权利要求3所述的一种密封圈非破坏性额定压力检测仪器,其特征在于:所述气缸(45)之间相互联通,保证压板(44)对试压轴(2)施加的压力均衡。