欢迎来到知嘟嘟! 联系电话:13336804447 卖家免费入驻,海量在线求购! 卖家免费入驻,海量在线求购!
知嘟嘟
我要发布
联系电话:13336804447
知嘟嘟经纪人
收藏
专利号: 2017109365067
申请人: 重庆交通大学
专利类型:发明专利
专利状态:已下证
专利领域: 测量;测试
更新日期:2025-12-11
缴费截止日期: 暂无
价格&联系人
年费信息
委托购买

摘要:

权利要求书:

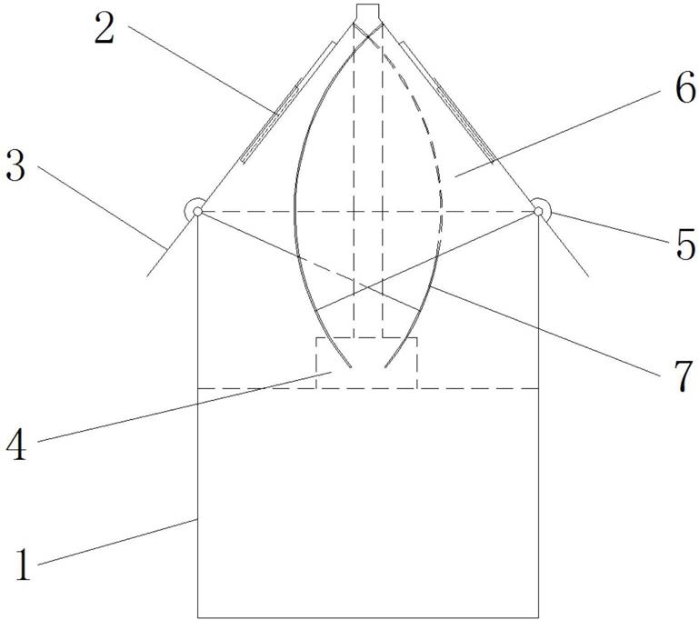
1.一种屋盖坡角可调节的风载荷实测房,其特征在于:包括屋面、双坡屋盖及屋檐,所述双坡屋盖铰接在屋面上方,下端设有插槽,所述屋檐插装在插槽中,且屋檐随双坡屋盖一起在位于双坡屋盖下方的升降机构的驱动下变换角度。

2.根据权利要求1所述的屋盖坡角可调节的风载荷实测房,其特征在于:所述双坡屋盖是由内盖板与外盖板叠合而成的双层结构,所述内盖板与外盖板间设有相互扣合的导槽。

3.根据权利要求2所述的屋盖坡角可调节的风载荷实测房,其特征在于:所述双坡屋盖两侧与屋面间的空隙处设有封堵板。

4.根据权利要求3所述的屋盖坡角可调节的风载荷实测房,其特征在于:所述封堵板为柔性胶板,所述柔性胶板两端分别连接在双坡屋盖与屋面上。

5.根据权利要求3所述的屋盖坡角可调节的风载荷实测房,其特征在于:所述封堵板一端连接在双坡屋盖上,另一端通过滑动导向装置设置在屋面上,所述封堵板可在双坡屋盖的带动下沿滑动导向装置升降。

6.根据权利要求1所述的屋盖坡角可调节的风载荷实测房,其特征在于:所述双坡屋盖与屋檐间设有橡胶密封垫。

7.根据权利要求1~6任一项所述的屋盖坡角可调节的风载荷实测房,其特征在于:还包括风速测量系统及风压测量系统,所述风速测量系统设置在双坡屋盖的屋脊上方,所述风压测量系统设置在双坡屋盖上。