欢迎来到知嘟嘟! 联系电话:13095918853 卖家免费入驻,海量在线求购! 卖家免费入驻,海量在线求购!
知嘟嘟
我要发布
联系电话:13095918853
知嘟嘟经纪人
收藏
一种钥匙
¥10000
专利号: 2017108530141
申请人: 王娟
专利类型:发明专利
专利状态:已下证
专利领域: 锁;钥匙;门窗零件;保险箱
更新日期:2024-11-12
缴费截止日期: 暂无
价格&联系人
年费信息
委托购买

摘要:

权利要求书:

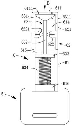
1.一种钥匙,包括钥匙柄(5)和与钥匙柄(5)固定并用于解锁锁芯的钥匙体(6),其特征在于:所述的钥匙体(6)包括壳体(61)、钥匙片(62)和驱动装置(63);

所述的壳体(61)为横截面呈方形的中空柱体,壳体(61)相对于钥匙柄(5)的一端设置有一封板(611),该封板(611)的中部设置有一环形通槽(6111),壳体(61)外壁设置有用于解锁锁芯内锁片组件的槽体(612);

所述的钥匙片(62)包括两个用于解锁锁芯的解锁片(621)和一个连接在两解锁片(621)之间的连接部(622);

所述的解锁片(621)安装在所述壳体(61)的外壁侧,解锁片(621)的外壁设置有用于解锁锁芯内弹珠组件的孔眼(6211);对应该解锁片(621),在所述壳体(61)的外壁设置有用于收纳解锁片(621)的凹槽(613),该凹槽(613)的深度不小于解锁片(621)的厚度;

所述的连接部(622)为U形结构,U形结构的开放端分别与两个解锁片(621)固定连接,封闭端则位于所述壳体(61)的内腔(614)中;内腔(614)中的连接部(622)在朝向所述封板(611)的一侧设置有斜面A(6221),并且内腔(614)中的连接部(622)在U形结构的折向处与所述壳体(61)的内壁之间设置有钥匙片弹簧(623),该钥匙片弹簧(623)呈压缩状态一端顶紧连接部(622)折向处的内壁,另一端顶紧壳体(61)的内壁;

所述的驱动装置(63)设置在所述壳体(61)的内腔(614)中,该驱动装置(63)包括驱动端头(631)、连接杆(632)、压板(633)和主弹簧(634);

所述的驱动端头(631)位于所述的封板(611)与所述的连接部(622)之间,驱动端头(631)靠近连接部(622)的一侧设置有与所述斜面A(6221)相匹配的斜面B(6311);当驱动端头(631)下压连接部(622)时,斜面B(6311)能推动斜面A(6221)向外侧移动并压缩所述的钥匙片弹簧(623),进而驱使所述的解锁片(621)向所述壳体(61)的外侧移动;

所述的连接杆(632)一端与所述的驱动端头(631)固定连接,另一端与所述的压板(633)固定连接;

所述压板(633)与连接杆(632)固定的一侧通过设置于所述壳体(61)内腔(614)中的挡板(615)限位;

所述的主弹簧(634)呈压缩状态一端顶紧在所述压板(633)背离连接杆(632)的一侧,另一端顶紧在所述壳体(61)端部的支撑块(616)上。

2.根据权利要求1所述的一种钥匙,其特征在于:所述的槽体(612)包括相互连通的直槽(6121)和曲槽(6122),其中,曲槽(6122)位于所述壳体(61)上靠近钥匙柄(5)的一侧,直槽(6121)位于壳体(61)上远离钥匙柄(5)的一侧,且直槽(6121)的端部设置有导向口(6123)。

3.根据权利要求1所述的一种钥匙,其特征在于:所述的钥匙片(62)为两个,分别设置在所述壳体(61)的其中一对面上。

4.根据权利要求1‑3中任意一项所述的一种钥匙,其特征在于:位于所述钥匙片弹簧(623)的两端,分别在所述连接部(622)U形结构的折向处和所述壳体(61)的内壁各设置有一凸台A(617、6222),该凸台A(617、6222)用于固定所述的钥匙片弹簧(623)以及对所述钥匙片(62)的移动限位。

5.根据权利要求1‑3中任意一项所述的一种钥匙,其特征在于:位于所述主弹簧(634)的两端,分别在所述压板(633)和所述支撑块(616)上各设置有一凸台B(6331、6161),该凸台B(6331、6161)用于固定所述的主弹簧(634)以及对所述压板(633)的移动限位。