欢迎来到知嘟嘟! 联系电话:13336804447 卖家免费入驻,海量在线求购! 卖家免费入驻,海量在线求购!
知嘟嘟
我要发布
联系电话:13336804447
知嘟嘟经纪人
收藏
专利号: 2017108132229
申请人: 长江大学
专利类型:发明专利
专利状态:已下证
专利领域: 土层或岩石的钻进;采矿
更新日期:2023-08-21
缴费截止日期: 暂无
价格&联系人
年费信息
委托购买

摘要:

权利要求书:

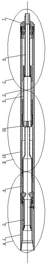
1.一种深井钻井抗摩减阻装置,它由上筒体(1)、下筒体(2)、滚筒(3)、球篮(4)、上滑筒(5)和下滑筒(6)构成;上筒体(1)的一端螺纹安装有下筒体(2);下筒体(2)的端头螺纹安装有密封头(7),其特征在于:上筒体(1)内套装有滚筒(3),滚筒(3)的圆周上均布有限位槽,与滚筒(3)对应的上筒体(1)上设置有限位销钉(11),滚筒(3)通过限位槽和限位销钉(11)的配合与上筒体(1)滑动连接;滚筒(3)一侧的下筒体(2)内套装有球篮(4),球篮(4)的端头通过滑套(13)活动安装有球座(14),球篮(4)一侧的下筒体(2)内套装有上滑筒(5),上滑筒(5)一端的中心孔内套装有下滑筒(6),下滑筒(6)的端头螺纹安装有钻柱(27),钻柱(27)的一端通过密封头(7)延伸至下筒体(2)外端; 所述的球篮(4)为变径体,球篮(4)下端小径处的球篮圆周上均布有过流孔(12);球篮(4)外表圆周上和下筒体(2)内壁上分别设置有台肩,台肩之间的球篮(4)上套装有复位弹簧(18);所述的上滑筒(5)一端的圆周上均布有滑键(22),与上滑筒(5)对应的下筒体(2)内壁上均布键槽(23),滑键(22)与键槽(23)对应的端头分别呈锥形,上滑筒(5)与下筒体(2)之间通过滑键(22)与键槽(23)的配合滑动连接;所述的上滑筒(5)中心孔内的下滑筒(6)圆周上均布有下滑筒滑键(24),与下滑筒滑键(24)对应的上滑筒(6)内壁上均布有上滑筒滑键槽(25),上滑筒(5)与下滑筒(6)之间通过上滑筒滑键槽(25)和下滑筒滑键(24)的配合滑动连接;上滑筒(5)中心孔内的下滑筒(6)端头装有密封圈(26)。

2.根据权利要求1所述的一种深井钻井抗摩减阻装置,其特征在于:所述的滚筒(3)端头螺纹安装有密封帽(8)。

3.根据权利要求1所述的一种深井钻井抗摩减阻装置,其特征在于:所述的滑套(13)一侧通过套筒(15)螺纹安装有定位套(16),套筒(15)与定位套(16)和滑套(13)之间设置有滚珠(17);滑套(13)通过套筒(15)与滚筒(3)卡接。

4.根据权利要求1所述的一种深井钻井抗摩减阻装置,其特征在于:所述的复位弹簧(18)一端的下筒体(2)内壁上设置有球座凹(19),球座(14)与球座凹(19)滑动接触连接;球座(14)为两个半圆对接形成的圆筒状,球座(14)的内壁截面呈喇叭状。

5.根据权利要求1所述的一种深井钻井抗摩减阻装置,其特征在于:所述的球篮(4)与上滑筒(5)之间设置有垫块(20),垫块(20)呈X型,垫块(20)的圆周上设置有液流槽(21)。

6.根据权利要求1所述的一种深井钻井抗摩减阻装置,其特征在于:所述的钻柱(27)上通过挡块(28)安装有推力轴承(29);上滑筒(5)圆周上设置有凸起,凸起与挡块(28)之间的上滑筒(5)圆周上套装有上滑筒复位弹簧(30)。

7.根据权利要求1所述的一种深井钻井抗摩减阻装置,其特征在于:所述的限位槽由轴向槽(9)和周向槽(10)构成,多个轴向槽(9)在滚筒(3)圆周上均布,轴向槽(9)一端的滚筒(3)圆周上设置有周向槽(10),轴向槽(9)与周向槽(10)连通;所述的周向槽(10)由多个Y型槽相互连通构成。