欢迎来到知嘟嘟! 联系电话:13095918853 卖家免费入驻,海量在线求购! 卖家免费入驻,海量在线求购!
知嘟嘟
我要发布
联系电话:13095918853
知嘟嘟经纪人
收藏
专利号: 2017107643157
申请人: 浙江企信检测有限公司
专利类型:发明专利
专利状态:已下证
专利领域: 运动;游戏;娱乐活动
更新日期:2025-04-21
缴费截止日期: 暂无
价格&联系人
年费信息
委托购买

摘要:

权利要求书:

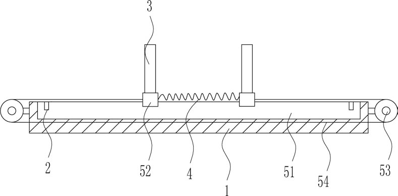
1.一种体育教学用趣味型比赛装置,其特征在于,包括有底板(1)、行程开关(2)、推手(3)、第一弹簧(4)、移动装置(5)和提示装置(6),底板(1)上设有移动装置(5),移动装置(5)左右两侧对称设有行程开关(2),移动装置(5)顶部对称设有推手(3),移动装置(5)的移动部件上设有第一弹簧(4),底板(1)前侧的两端设有左右对称的提示装置(6)。

2.根据权利要求1所述的一种体育教学用趣味型比赛装置,其特征在于,移动装置(5)包括有第一滑块(52)、第一绕线轮(53)和第一拉线(54),底板(1)的顶部设有滑槽(51),滑槽(51)上滑动式设有左右对称的第一滑块(52),第一滑块(52)的顶部连接有推手(3),左右两个第一滑块(52)之间连接有第一弹簧(4),滑槽(51)内顶部的两侧设有左右对称行程开关(2),底板(1)的两侧设有左右对称的第一绕线轮(53),第一绕线轮(53)上绕有第一拉线(54),第一拉线(54)的一端与左侧第一滑块(52)的左端连接,第一拉线(54)的另一端与右侧的第一滑块(52)连接。

3.根据权利要求2所述的一种体育教学用趣味型比赛装置,其特征在于,提示装置(6)包括有第二弹簧(62)、电动绕线轮(63)、第二拉线(64)、第一支杆(65)、第一提示灯(66)和固定块(67),底板(1)前侧的两端设有左右对称的固定块(67),固定块(67)内设有凹槽(61),凹槽(61)的底部设有电动绕线轮(63),电动绕线轮(63)上绕有第二拉线(64),凹槽(61)底部两侧设有前后对称的第二弹簧(62),第二弹簧(62)位于电动绕线轮(63)的两侧,第二弹簧(62)的顶端设有第一支杆(65),第二拉线(64)的尾端与第一支杆(65)的底端连接,第一支杆(65)的顶端设有第一提示灯(66),行程开关(2)与电动绕线轮(63)和第一提示灯(66)之间都有路线连接。

4.根据权利要求3所述的一种体育教学用趣味型比赛装置,其特征在于,还包括有雾化装置(7),雾化装置(7)包括有水箱(71)、第一软管(72)、水泵(73)、第二软管(74)、导套(75)、雾化喷头(76)和第二支杆(77),底板(1)后侧的两端设有左右对称的水箱(71),水箱(71)顶部设有水泵(73),水箱(71)顶部后侧设有通孔,水泵(73)的进水端连接有第一软管(72),第一软管(72)穿过通孔伸入到水箱(71)内,水泵(73)的出水端连接有第二软管(74),第二软管(74)的另一端连接有雾化喷头(76),水箱(71)顶部的前侧设有第二支杆(77),第二支杆(77)的顶端设有导套(75),第二软管(74)穿过导套(75)。

5.根据权利要求4所述的一种体育教学用趣味型比赛装置,其特征在于,还包括有旋转装置(8),旋转装置(8)包括有第一滑轨(81)、第二滑块(82)、第三弹簧(83)、轴承座(84)、齿条(85)、第三拉线(86)、第二提示灯(87)和齿轮(88),水箱(71)顶部的左侧设有第一滑轨(81),第一滑轨(81)上滑动式设有第二滑块(82),第二滑块(82)的顶部设有齿条(85),水箱(71)顶部的左侧设有轴承座(84),轴承座(84)位于第一滑轨(81)的右侧,第二支杆(77)安装在轴承座(84)上,第二支杆(77)上设有齿轮(88),齿轮(88)与齿条(85)啮合,左右两端推手(3)与之间均连接有第三拉线(86)。

6.根据权利要求5所述的一种体育教学用趣味型比赛装置,其特征在于,还包括有滑动装置(9),滑动装置(9)包括有连接杆(91)、第四弹簧(92)、接触轮(93)和波浪板(94),滑槽(51)底部设有波浪板(94),第一滑块(52)底部设有连接杆(91),连接杆(91)底部设有接触轮(93),接触轮(93)与第一滑块(52)之间连接有第四弹簧(92),第四弹簧(92)套在连接杆(91)上,接触轮(93)与波浪板(94)接触。

7.根据权利要求6所述的一种体育教学用趣味型比赛装置,其特征在于,还包括有指示灯(10),固定块(67)的前侧的上方设有指示灯(10)。

8.根据权利要求7所述的一种体育教学用趣味型比赛装置,其特征在于,还包括有防滑垫(11),底板(1)的顶部设有防滑垫(11)。

9.根据权利要求8所述的一种体育教学用趣味型比赛装置,其特征在于,还包括有防滑套(12),推手(3)上套有防滑垫(11)。