欢迎来到知嘟嘟! 联系电话:13336804447 卖家免费入驻,海量在线求购! 卖家免费入驻,海量在线求购!
知嘟嘟
我要发布
联系电话:13336804447
知嘟嘟经纪人
收藏
专利号: 2017107272890
申请人: 浙江师范大学
专利类型:发明专利
专利状态:已下证
专利领域: 发电、变电或配电
更新日期:2025-09-29
缴费截止日期: 暂无
价格&联系人
年费信息
委托购买

摘要:

权利要求书:

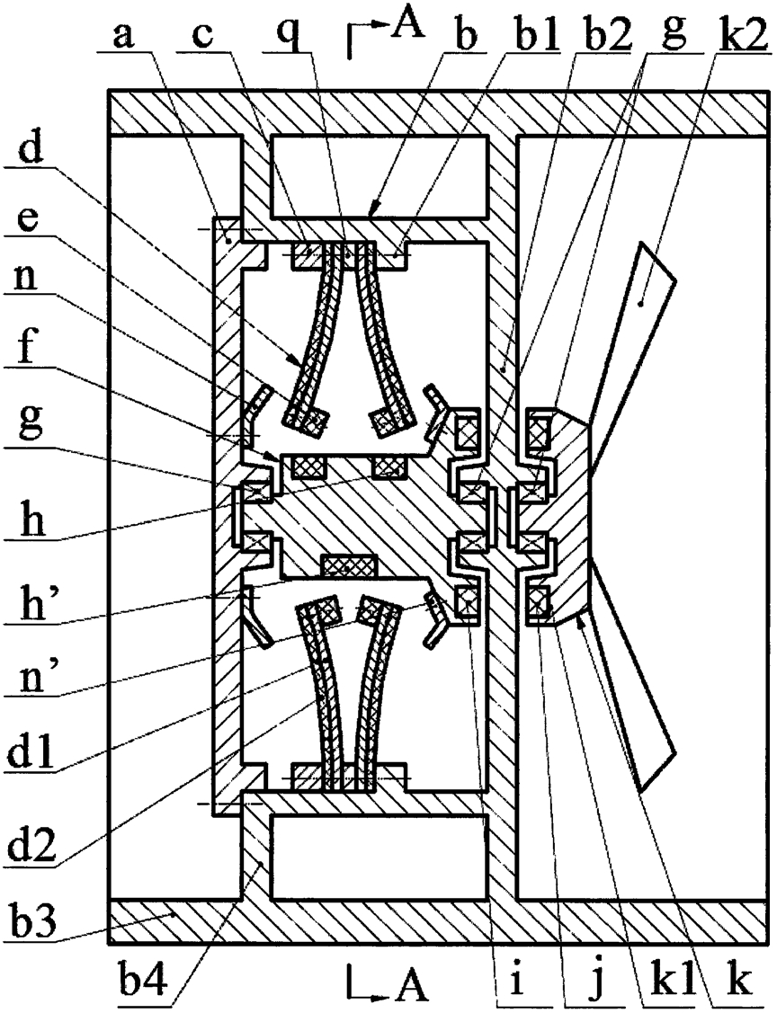
1.一种间接激励式流体压电俘能器,其特征在于:外筒的内部连接有壳体,壳体上装有端盖;壳体的凸环上装有压电振子,压电振子之间压接有垫块,垫块两侧的压电振子的数量相等且对称布置;压电振子的自由端安装有受激磁铁;端盖上与左半轴上装有限位簧片;端盖上设有左右两个半轴,左半轴两端安装在端盖和壳体的底壁上,左半轴的三个截面上都均布地安装有激励磁铁一和激励磁铁二,激励磁铁一与受激磁铁的异性磁极相对安装,激励磁铁二与受激磁铁的异性磁极相对安装;右半轴上经轴承安装在壳体的底壁上,右半轴带有凸环和叶片;凸环的左端面上嵌有驱动磁铁,左半轴的右端面上装有被驱磁铁,驱动磁铁与被驱磁铁的异性磁极相对安装;当受激磁铁与激励磁铁二相对时,压电振子的弯曲变形量最小;当受激磁铁与激励磁铁一相对时,压电振子的弯曲变形量最大,压电片上的最大压应力不超过其许用值。