欢迎来到知嘟嘟! 联系电话:13095918853 卖家免费入驻,海量在线求购! 卖家免费入驻,海量在线求购!
知嘟嘟
我要发布
联系电话:13095918853
知嘟嘟经纪人
收藏
专利号: 2017106487611
申请人: 孙美玲
专利类型:发明专利
专利状态:已下证
专利领域: 农业;林业;畜牧业;狩猎;诱捕;捕鱼
更新日期:2025-07-02
缴费截止日期: 暂无
价格&联系人
年费信息
委托购买

摘要:

权利要求书:

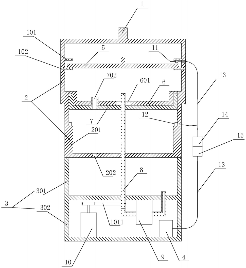
1.一种生活家居用豆芽机,包括上盖、培育桶、基座、控制器以及控制面板,其特征在于,还包括上限长盘、培育盘、下储水限长盘、可旋转上水管、水泵、电机、上压力传感器以及下压力传感器;

所述上盖封盖在所述培育桶的上开口处,所述培育桶设置于所述基座上,所述基座中设置有用作水箱的上空腔以及用于安装机电装置的下空腔;

所述上盖的内周向侧面上设置有环形槽,所述环形槽包括上槽壁与下槽壁,所述上槽壁的下表面上设置有上压力传感器,所述上限长盘搭设在所述环形槽中,且所述上限长盘的盘面为无孔面;

所述下储水限长盘的盘底的中心处设置有用于螺纹连接所述可旋转上水管的内螺纹孔,且所述下储水限长盘的内盘底面上设置有用于溢水的溢流管,所述溢流管的高度大于所述培育盘的盘底的厚度,所示下储水限长盘的周向外侧面上均布设置有若干个导向凹槽;

所述培育盘用于最开始时盛装豆粒,且所述培育盘的盘底为栅格状镂空结构,且所述培育盘的周向外侧面上设置有外螺纹,所述培育盘通过螺纹连接设置在所述培育桶的内桶壁面上,且所述培育盘的盘底上开设有用于允许所述可旋转上水管插入的第一通孔,且所述培育盘的盘底上开设有用于允许所述溢流管插入的第二通孔;

所述上限长盘、培育盘、下储水限长盘从上到下依次布置;

所述可旋转上水管从上到下依次穿透所述培育盘、下储水限长盘、所述培育桶的桶底以及所述水箱的箱底,且所述可旋转上水管的底端露出在所述水箱的箱底的下表面之下,且所述可旋转上水管的中上部的外周向表面上设置有外螺纹,且所述培育盘直接套设在所述可旋转上水管上,所述可旋转上水管与所述下储水限长盘螺纹连接,且所述可旋转上水管的中间的光滑外周向表面与所述培育桶的桶底通过塑料轴承转动连接,且所述可旋转上水管的底部的光滑外周向表面与所述水箱的箱底旋转密封连接,所述可旋转上水管的位于所述培育盘的第一通孔中的部分上设置有用于仅向所述下储水限长盘上供水的出水孔,所述可旋转上水管的上端口密封;

所述培育盘的盘内腔部的外径小于所述下储水限长盘的盘内腔部的内径以允许所述培育盘的盘内腔部可以插入所述下储水限长盘的盘内腔中,且所述培育盘的盘内腔部的腔高大于所述下储水限长盘的盘内腔的腔高以使得所述培育盘的外盘底面可以与所述下储水限长盘的内盘底面无缝接触;

所述上限长盘与下储水限长盘之间的最大竖直间距小于豆芽苗在自然生长条件下的平均长度;

所述培育桶的桶底上设置有用于向所述水箱回流水的回流孔,且所述培育桶的下部的内桶壁面上设置有用于限制所述下储水限长盘下行的下限位置的限位凸台,所述限位凸台上设置有所述下压力传感器,所述培育桶的内桶壁面上设置有用于与所述导向凹槽配合以对所述下储水限长盘的下降发挥导向功能的导向凸条;

所述水泵设置于所述水箱的外底面上,所述水泵的进水管与所述水箱连通,所述水泵的出水管与所述可旋转上水管的底端口旋转密封连通;

所述电机设置于所述基座的下空腔中,所述电机的动力输出轴通过传动带与所述可旋转上水管的底部传动连接以带动所述可旋转上水管旋转;

所述控制器设置于所述基座的下空腔中,所述水泵与所述控制器电连接,所述电机与所述控制器电连接,所述上压力传感器通过电线与所述控制器电连接,所述下压力传感器通过电线与所述控制器电连接,所述控制面板与所述控制器电连接;

所述上盖、上限长盘、培育盘、下储水限长盘、培育桶以及可旋转上水管为塑料材质;

所述生活家居用豆芽机的工作过程为:

1)首先将准备好的豆粒放置在培育盘上,然后安装好该豆芽机,同时将带有豆粒的培育盘放置在培育桶中;

此时控制下储水限长盘上的溢流管插入培育盘上的第二通孔,且培育盘的盘内腔部插入下储水限长盘的盘内腔,且培育盘的外盘底面与下储水限长盘的内盘底面无缝接触,且溢流管的上管口高于培育盘的内盘底面;

2)打开水泵,水沿可旋转上水管上行,最终从可旋转上水管的出水孔处流出,水不断在下储水限长盘上积聚,液面逐渐升高,最终从下储水限长盘上的溢流管中溢流,落到培育桶的桶底,然后水经过培育桶的桶底上的回流孔返回基座中的水箱,此时下储水限长盘储存有一定液面高度的水;

由于溢流管的上管口高于培育盘的内盘底面以使得培育盘的内盘底面浸没在下储水限长盘储存的水中,从而使得培育盘上的豆粒能够接触到水,为豆粒的发芽以及后续的生长提供水分;

3)培育盘上的豆粒吸水发芽,继而不断长大,不断向上生长,最终豆芽苗的苗尖触碰到上限长盘的下盘面,由于上限长盘的盘面为封闭的无孔面,没有孔洞,此时豆芽苗不可能穿过上限长盘,即豆芽苗往上方向的长势受到了限制,上限长盘限制了豆芽苗继续向上方向生长,此时豆芽苗的继续自然生长会对上限长盘产生一个顶举力,将上限长盘顶起;

当上限长盘被顶起并最终压迫到上压力传感器时,上压力传感器向控制器发出控制信号,然后控制器控制电机开机,然后电机带动可旋转上水管旋转;

由于可旋转上水管与下储水限长盘为螺纹连接,二者构成丝杠副结构,且此时由于下储水限长盘上的导向凹槽卡在培育桶的内桶壁面上的导向凸台上,导向凸台与导向凹槽的配合起到了丝杠副结构中的导向杆的作用,防止了下储水限长盘绕可旋转上升管的自转,使得下储水限长盘在可旋转上升管的带动下只能在上下方向上作下降运动,不会旋转;

由于豆芽苗的芽根有逐水而生的天性,而水始终在下储水限长盘上,因此豆芽苗的芽根会追着下储水限长盘的向下移动而向下生长;

4)当下储水限长盘向下移动直到碰到培育桶内的限位凸台上的下压力传感器时,下压力传感器向控制器发出控制信号,然后控制器控制电机停机,然后可旋转上水管停止旋转且下储水限长盘停止下降;

此时上限长盘与下储水限长盘都是固定的,二者之间的竖直间距此时最大且就是本家用豆芽机提供的豆芽生长的最大长度;

由于豆芽苗的芽根有逐水而生的天性,而水始终在下储水限长盘上,因此豆芽苗的芽根会追着下储水限长盘的向下移动而向下生长,最终造成了这样一个场面:豆芽苗的苗尖触及上限长盘的下盘面,豆芽苗的芽根在下储水限长盘上,而培育盘是套设在豆芽苗的下部的。

2.根据权利要求1所述的生活家居用豆芽机,其特征在于,所述培育桶的内桶底处盛装有用于净化循环水的柱状活性炭。