欢迎来到知嘟嘟! 联系电话:13336804447 卖家免费入驻,海量在线求购! 卖家免费入驻,海量在线求购!
知嘟嘟
我要发布
联系电话:13336804447
知嘟嘟经纪人
收藏
专利号: 2017105487099
申请人: 宁波大学
专利类型:发明专利
专利状态:已下证
专利领域: 船舶或其他水上船只;与船有关的设备
更新日期:2023-08-24
缴费截止日期: 暂无
价格&联系人
年费信息
委托购买

摘要:

权利要求书:

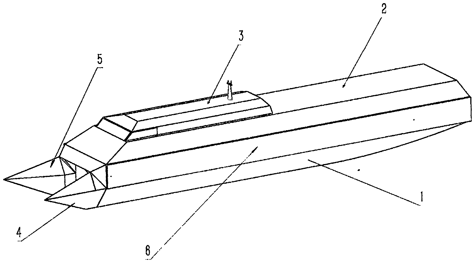
1.一种低能耗双体船结构,包括两个船体(1)以及连接两个船体(1)的甲板桥(2),所述甲板桥(2)上方有上层建筑(3),所述两个船体(1)上附设有过浪装置(5)和抗波浪装置(6),其特征在于:所述两个船体(1)与总船体纵向竖直中心平面对称,两个船身外侧均设置为竖直平直板(1-1)和向船底内侧倾斜的平直板(1-3),外侧的两个竖直平直板(1-1)之间相互平行,所述两个船体(1)的两个船身内侧,船身主体部分设置为竖直平直板(1-4),船尾部分设置为竖直但向船体尾部外侧弯曲的流畅形曲面板(1-5),所述两个船体(1)的船头均设置为三角锥形状的尖端分水头(4),内侧三角面(4-2)竖直但向船体中心偏船尾倾斜设置,尖端分水头(4)上端水平三角平面(4-3)向前的尖角(4-4)设置为19.5°,内侧三角面(4-2)底边(4-2-1)与船身内侧竖直平直板(1-4)一边无缝连接,外侧三角面(4-1)与船身外侧向船底内侧倾斜的平直板(1-3)为同一平面,所述两个船体(1)船底之间架设有水平放置的湍流导向板(7),其中,湍流导向板(7)的前沿与船头尖端分水头(4)的尖端尖角(4-4)的纵向水平距离(8)设置为L/2ctg19.5°,L为两个船体的外侧竖直平直板( 1-1) 之间的距离( 9) 。