欢迎来到知嘟嘟! 联系电话:13336804447 卖家免费入驻,海量在线求购! 卖家免费入驻,海量在线求购!
知嘟嘟
我要发布
联系电话:13336804447
知嘟嘟经纪人
收藏
专利号: 2017105345596
申请人: 周立
专利类型:发明专利
专利状态:已下证
专利领域: 铁路
更新日期:2025-12-11
缴费截止日期: 暂无
价格&联系人
年费信息
委托购买

摘要:

权利要求书:

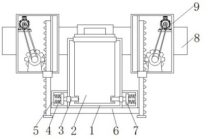
1.一种火车站儿童坠落用救援设备,包括外框(1),其特征在于:所述外框(1)的底部固定连接有底板(6),并且底板(6)顶部的两侧均固定连接有固定框(5),所述固定框(5)靠近外框(1)的一侧贯穿有固定杆(3),所述固定杆(3)位于固定框(5)内壁的一端固定连接有移动板(7),所述移动板(7)的一侧与固定框(5)的一侧之间固定连接有第一弹簧(4),所述底板(6)的两侧均固定连接有升降装置(9),所述升降装置(9)的后侧面固定连接有横板(8),所述横板(8)的顶部固定连接有卡锁装置(11)。

2.根据权利要求1所述的一种火车站儿童坠落用救援设备,其特征在于:所述升降装置(9)包括侧框(91),所述侧框(91)的后侧面与横板(8)的表面固定连接,所述侧框(91)内壁的一侧固定连接有电机(92),并且电机(92)输出轴的一端固定连接有第一皮带轮(93),所述第一皮带轮(93)的表面通过皮带(94)传动连接有第二皮带轮(96),并且第二皮带轮(96)的后侧面固定连接有齿轮(97),所述齿轮(97)的轴心处通过齿轮座与侧框(91)内壁的底部固定连接,所述齿轮(97)的一侧啮合有齿杆(95),所述齿杆(95)的底端贯穿侧框(91)且延伸至侧框(91)的外部,所述齿杆(95)位于侧框(91)外部的一端与底板(6)的一侧固定连接。

3.根据权利要求1所述的一种火车站儿童坠落用救援设备,其特征在于:所述卡锁装置(11)包括卡框(112),所述卡框(112)的底部与横板(8)的顶部固定连接,所述卡框(112)的顶部贯穿有卡杆(115),所述卡杆(115)位于卡框(112)外部的一端固定连接有拉环(111),所述卡杆(115)位于卡框(112)内部的表面固定连接有活动板(114),所述活动板(114)的顶部与卡框(112)内壁的顶部之间且位于卡杆(115)的顶部固定连接有第二弹簧(113),所述卡杆(115)的底端依次贯穿卡框(112)和横板(8)且延伸至横板(8)的内部。

4.根据权利要求1所述的一种火车站儿童坠落用救援设备,其特征在于:所述横板(8)远离升降装置(9)的一侧贯穿有伸缩板(10),并且伸缩板(10)的顶部开设有与卡杆(115)相适配的卡孔。

5.根据权利要求1所述的一种火车站儿童坠落用救援设备,其特征在于:所述外框(1)的顶部贯穿有挡板(2),所述挡板(2)位于外框(1)外部的一端固定连接有把手,并且外框(1)的表面开设有与挡板(2)相适配的开口。

6.根据权利要求5所述的一种火车站儿童坠落用救援设备,其特征在于:两侧固定杆(3)靠近外框(1)的一端分别贯穿外框(1)且延伸至外框(1)的内部,所述挡板(2)的两侧均开设有与固定杆(3)相适配的固定槽。