欢迎来到知嘟嘟! 联系电话:13336804447 卖家免费入驻,海量在线求购! 卖家免费入驻,海量在线求购!
知嘟嘟
我要发布
联系电话:13336804447
知嘟嘟经纪人
收藏
专利号: 201710511237X
申请人: 芜湖扬展新材料科技服务有限公司
专利类型:发明专利
专利状态:已下证
专利领域: 工程元件或部件;为产生和保持机器或设备的有效运行的一般措施;一般绝热
更新日期:2025-07-02
缴费截止日期: 暂无
价格&联系人
年费信息
委托购买

摘要:

权利要求书:

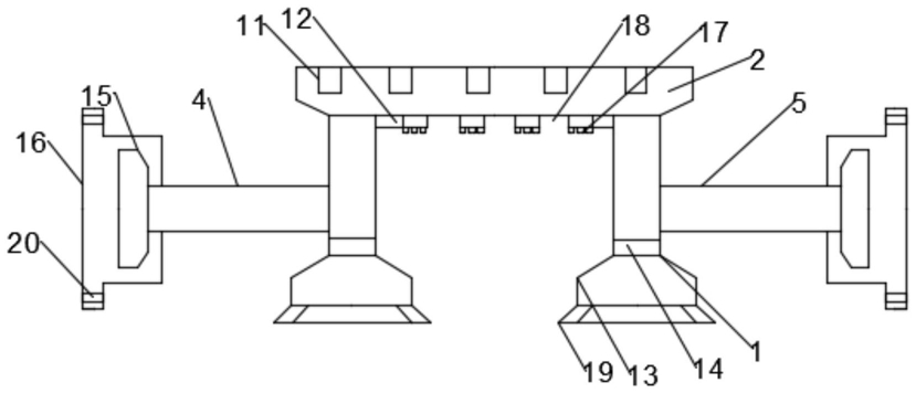
1.一种发动机的平衡轴机构,其特征在于:包括平衡轴支架(1)、安装板(2)、偏心装置(3)、第一平衡轴(4)和第二平衡轴(5),所述偏心装置(3)分别设置在第一平衡轴(4)和第二平衡轴(5)相对的一端,所述偏心装置(3)包括固定盘(6)和连接盘(7),所述连接盘(7)和第一平衡轴(4)和第二平衡轴(5)均偏心连接,所述固定盘(6)和连接盘(7)圆心重合,所述固定盘(6)内部连接有若干个环形设置的连接杆(8),所述固定盘(6)外圈设置有若干个凹槽(10),所述凹槽(10)内部设置有金属块(9),所述金属块(9)、凹槽(10)和连接杆(8)的数量均相同,所述连接杆(8)末端设置有液压杆(21),所述液压杆(21)末端设置有磁铁块(22),所述磁铁块(22)和金属块(9)相互吸引,所述连接杆(8)外端设置有阻挡座(23),所述第一平衡轴(4)、第二平衡轴(5)均和连接盘(7)连接在一起,所述固定盘(6)顶端之间通过安装板(2)连接在一起,所述安装板(2)表面设置有若干个固定孔(11),所述安装板(2)表面设置有消音壁(12),所述第一平衡轴(4)和第二平衡轴(5)底端之间通过平衡轴支架(1)连接在一起,所述平衡轴支架(1)包括两个底座(13)和两个连接块(14),所述底座(13)通过连接块(14)和固定盘(6)连接在一起,所述第一平衡轴(4)和第二平衡轴(5)外端均安装有轴承(15),所述轴承(15)安装在轴承座(16)内部。

2.根据权利要求1所述的一种发动机的平衡轴机构,其特征在于:所述消音壁(12)采用若干个凸起条(17)组成,所述凸起条(17)之间组成消音槽(18)。

3.根据权利要求2所述的一种发动机的平衡轴机构,其特征在于:所述凸起条(17)内部采用空心结构,所述凸起条(17)采用泡沫铝材料。

4.根据权利要求3所述的一种发动机的平衡轴机构,其特征在于:所述凸起条(17)表面设置由于若干个凸起块(18)。

5.根据权利要求1所述的一种发动机的平衡轴机构,其特征在于:所述底座(13)采用镍基合金材料,所述底座(13)底端设置有固定板(19)。

6.根据权利要求1所述的一种发动机的平衡轴机构,其特征在于:所述轴承座(16)表面设置有若干个安装孔(20)。

7.根据权利要求1所述的一种发动机的平衡轴机构,其特征在于:所述安装板(2)和底座(13)内部均采用抽真空处理的空心结构。

8.根据权利要求1所述的一种发动机的平衡轴机构,其特征在于:所述阻挡座(23)和液压杆(21)平行且位于同一端,所述阻挡座(23)表面采用螺纹结构。