欢迎来到知嘟嘟! 联系电话:13336804447 卖家免费入驻,海量在线求购! 卖家免费入驻,海量在线求购!
知嘟嘟
我要发布
联系电话:13336804447
知嘟嘟经纪人
收藏
专利号: 2017104383656
申请人: 浙江肯优流体输送技术有限公司
专利类型:发明专利
专利状态:授权未缴费
专利领域: 工程元件或部件;为产生和保持机器或设备的有效运行的一般措施;一般绝热
更新日期:2024-03-29
缴费截止日期: 暂无
价格&联系人
年费信息
委托购买

摘要:

权利要求书:

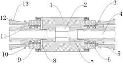
1.一种快速管连接接头,其特征在于:包括连接件主体(1)、外连接件(11),所述连接件主体(1)内部设置有过滤芯(2),所述过滤芯(2)两侧设置有旋转套(7),所述旋转套(7)外部设置有所述外连接件(11),所述外连接件(11)中间设置有完全贯穿的流通孔(4),所述外连接件(11)外部设置有弹性固定件(12),所述弹性固定件(12)上设置有箍环(10),所述弹性固定件(12)与所述连接件主体(1)之间设置有外封盖(9),所述外封盖(9)上设置有连接法兰(19),所述连接法兰(19)上设置有固定孔(20),所述外封盖(9)内部设置有密封圈(6),所述外封盖(9)与所述连接件主体(1)之间设置有密封垫(8),所述外连接件(11)包括外连接端(17)、内连接端(14),所述外连接端(17)侧面设置有外凸台(16),所述外凸台(16)外缘上设置有螺纹孔(18),所述外凸台(16)侧面设置有内凸台(15),所述内凸台(15)侧面设置有所述内连接端(14),所述外连接端(17)和所述内连接端(14)上均设置有外螺纹槽,所述内连接端(14)通过螺纹安装在所述旋转套(7)上,所述弹性固定件(12)采用弹性橡胶制成,

所述弹性固定件(12)包括固定端(3)、活动端(5),所述活动端(5)上设置有卡槽(13),所述箍环(10)嵌套在靠近所述固定端(3)一侧,所述固定端(3)外部为正六边形结构,所述固定端(3)上成型有与所述螺纹孔(18)位置相对应的螺钉孔。

2.根据权利要求1所述的一种快速管连接接头,其特征在于:所述活动端(5)为锥型凸台结构,所述卡槽(13)成型在所述活动端(5)外缘较大的一端,所述活动端(5)外端部设置限位挡圈。

3.根据权利要求1所述的一种快速管连接接头,其特征在于:所述连接件主体(1)两端成型有与所述固定孔(20)位置、尺寸相对应的螺钉安装孔,所述外封盖(9)通过所述螺钉安装在所述连接件主体(1)两端,所述连接法兰(19)与所述连接件主体(1)之间设置有防漏纸垫。

4.根据权利要求1所述的一种快速管连接接头,其特征在于:所述过滤芯(2)、所述旋转套(7)均嵌套在所述连接件主体(1)内部,所述过滤芯(2)、所述旋转套(7)中间均设置有与所述流通孔(4)位置、尺寸相对应的通孔,所述过滤芯(2)、所述旋转套(7)不可以横向移动。

5.根据权利要求1所述的一种快速管连接接头,其特征在于:所述密封圈(6)嵌套在所述内凸台(15)上,所述密封圈(6)外缘与所述外封盖(9)内壁紧配合安装,所述内凸台(15)上共设置有两个所述密封圈(6)。