欢迎来到知嘟嘟! 联系电话:13336804447 卖家免费入驻,海量在线求购! 卖家免费入驻,海量在线求购!
知嘟嘟
我要发布
联系电话:13336804447
知嘟嘟经纪人
收藏
专利号: 2017103943576
申请人: 西南交通大学
专利类型:发明专利
专利状态:已下证
专利领域: 测量;测试
更新日期:2024-01-05
缴费截止日期: 暂无
价格&联系人
年费信息
委托购买

摘要:

权利要求书:

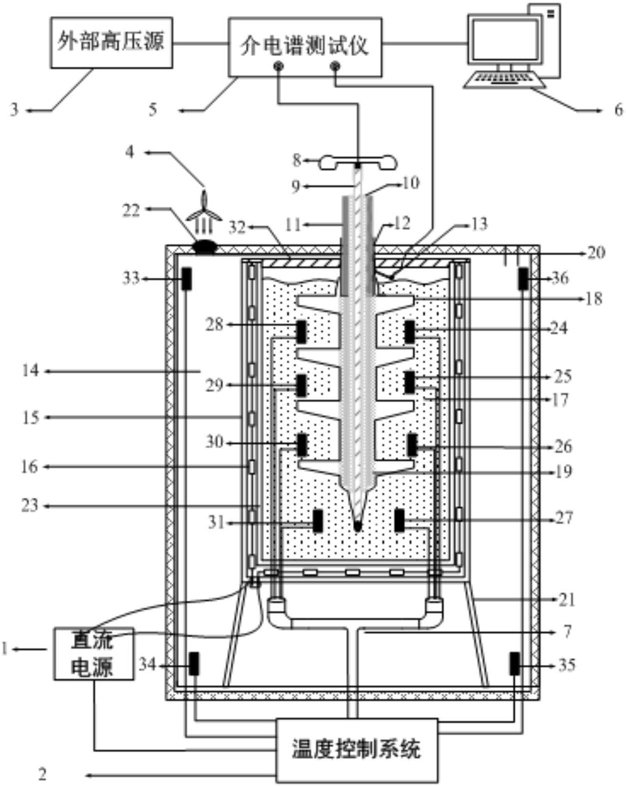
1.一种不同温度条件下的车载电缆终端频域介电谱实验系统,其特征在于,由高温加热模拟系统,低温环境模拟系统,温度控制系统和频域介电谱测试系统组成;高温加热模拟系统置于低温环境模拟系统的腔体内,温度控制系统和频域介电谱测试系统统置于低温环境模拟系统的腔体外,具体构成为:高温加热模拟系统构成为:试验油杯(15)通过支架(21)支撑在低温试验箱(14)内;试验油杯(15)分为外壁和内壁,内壁(23)为绝缘导热层,热电阻(16)布置在试验油杯(15)杯壁夹层中,具有八只传感器的传感器组分两列依附在试验油杯(15)内壁,在内壁深度方向等距排列;有机玻璃盖(32)封住杯口并预留用于通过被测电缆终端(19)和电气导线的通孔;所述电气导线包括用作试验油杯内的热电阻(16)和传感器组与外部直流电源(1)、温度控制系统(2)连接的电气导线;

所述低温环境模拟系统具有低温试验箱(14),低温试验箱(14)顶部设置有换气孔(22)和排气管(20),排气管(20)与外部换气系统相通;四个传感器两两分置于低温试验箱内上部和下部;低温试验箱(14)顶部预留有相应通孔以容纳被测电缆终端和电气导线通过;

所述温度集成控制系统的温度控制系统(2)与所述各传感器连接;直流电源(1)通过导线分别与热电阻(16)和温度控制系统(2)相连;PC机(3)与温度控制系统(2)相连,并根据各传感器和温度控制系统(2)采集处理的数据对气流调节系统(4)进行控制;

所述频域介电谱测试系统主要由PC机(6),介电谱测试仪(5)和外部高压源(3)构成:其中介电谱测试仪(5)通过导线和防晕罩(8)相连,防晕罩(8)连接缆芯导体,同时介电谱测试仪(6)通过另一导线与接地线(13)相连,接地线(13)连接屏蔽层(12)进而形成测试回路。试验时对所测电缆终端(19)施加不同电压的扫频信号,记录不同温度条件下介电谱测试仪(5)的数据。

2.根据权利要求1所述的一种不同温度条件下的车载电缆终端频域介电谱实验系统,其特征在于,低温试验箱(14)采用复合结构,外部为PCM钢板,夹层采用硬质聚氨酯发泡材料作为保温隔层,试验油杯(15)用有机玻璃材料制成,试验油杯(15)外部高度为600mm,下部支架(21)垂直高度200mm,试验油杯(15)为双层,油杯内层直径为300mm,外层直径为

340mm,其中夹层20mm,热电阻(16)宽度为10mm,有机玻璃盖(32)厚度10mm,其中有机玻璃盖(32)上开口宽度为56mm。

3.采用权利要求1或2所述实验系统的不同温度条件下的车载电缆终端频域介电谱实验方法,其特征于,包括以下步骤:

1)电缆终端(19)通过有机玻璃盖(32)进入试验油杯(15),绝缘油(17)完全浸没绝缘伞裙(18),接通低温试验箱(14)、温度控制系统(2)和直流电源(1),对试验油杯(15)进行降温或者升温;

2)待温度稳定后,开启外部高压源(3)和介电谱测试仪(5)对车载电缆终端(19)进行频域介电谱测试;

3)开启风扇(4)、进气孔(22)和排气孔(20),加快试验系统内部对流速度,配合改变试验温度;

4)利用温度控制系统(2),设置测试温度及持续时间,改变试验温度;

5)待试验温度稳定后,再启动外部高压源(3)和介电谱测试仪(5)对车载电缆终端(19)进行频域介电谱测试;

6)重复步骤4)和步骤5),完成不同温度条件下车载电缆终端(19)的频域介电谱实验测量,完成对车载电缆终端(19)老化状态评估。