欢迎来到知嘟嘟! 联系电话:13095918853 卖家免费入驻,海量在线求购! 卖家免费入驻,海量在线求购!
知嘟嘟
我要发布
联系电话:13095918853
知嘟嘟经纪人
收藏
专利号: 2017103249518
申请人: 墙煌新材料股份有限公司
专利类型:发明专利
专利状态:已下证
专利领域: 道路、铁路或桥梁的建筑
更新日期:2024-11-18
缴费截止日期: 暂无
价格&联系人
年费信息
委托购买

摘要:

权利要求书:

1.一种市政工程使用的防攀爬护栏,其特征在于:它包括连接机构、护栏机构,其中多个护栏机构均通过连接机构连接;

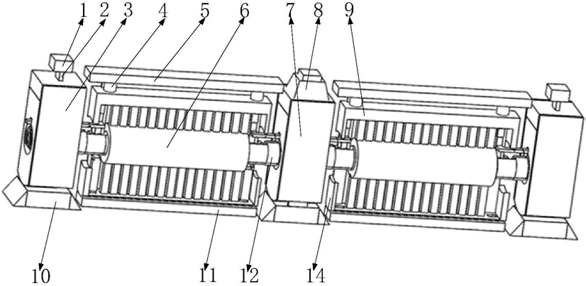
上述连接机构包括固定轴、第一涡卷弹簧、第一弹簧、转动连接、伸缩杆、第一触发杆、传动轮、第一连接杆、连接底板、支撑块、连接圆环、连接侧板、第二触发杆、连接顶板、第五弹簧、第四连接杆、触发块、导轨壳、连接底座、第二弹块、第六弹簧、第二限位弹块、第八触发杆、圆形槽、卡块槽、侧板卡块、第三触发杆、第四触发杆、第五触发杆、卡块、连接槽、第二涡卷弹簧、限位槽、限位孔,其中连接底座的上端面开有限位孔,连接底座的下端开有限位槽,且限位槽位于限位孔的下侧;四个连接侧板的下端均竖直安装在连接底座的上端,四个连接侧板首尾相接且相邻连接侧板之间成90度;连接顶板上开有一个方形通孔,且连接顶板安装在四个连接侧板的上端;连接底板中开有一个方形通孔;连接底板安装在四个连接侧板下端的内侧;靠近护栏机构的两侧所安结构完全相同且相互对称;对于其中任意一侧,靠近护栏机构的连接侧板的中间开有圆形槽,圆形槽的上侧开有一个方形孔;圆形槽内圆面的下侧安装有两个对称的侧板卡块,传动轮的一侧开有卡块槽;传动轮安装在两个侧板卡块之间;且远离卡块槽的一侧位于两个侧板卡块内;固定轴的一端安装在传动轮靠近护栏机构一侧的端面上;固定轴的另一端安装有支撑块;两个连接半环的一端安装在侧板靠近护栏机构一侧的端面上;且两个连接半环位于固定轴的外侧;两个连接半环之间的上下两侧均留有间隙;两个连接半环与固定轴之间安装有第一涡卷弹簧;且涡卷弹簧的內端安装在固定轴的外圆面上,涡卷弹簧的外端安装在两个侧板卡块中靠近护栏机构的一个侧板卡块的端面上;卡块的一侧开有圆形孔;圆形孔的侧面上开有轴孔;第四连接杆的一端安装在卡块的另一侧;第一连接杆的一端安装在第四连接杆的另一端;第一连接杆与第四连接杆与两个连接半环之间的间隙配合;卡块安装在卡块槽内,且卡块与卡块槽之间安装有第一弹簧;且第一弹簧的上端安装在卡块的下端面上;第一弹簧的下端安装在卡块槽的下侧面上;转动连接的一端开有连接槽,转动连接的另一端安装在卡块中的轴孔中;转动连接上开有连接槽一端的外圆面上开有对称的两个销孔,伸缩杆的两端分别开有一个销孔;两个卡块通过伸缩杆的两端的销孔与相对应的转动连接上的两个销孔配合连接;两个对称的传动轮之间安装有第五弹簧,且第五弹簧的两端分别安装在两个传动轮背向护栏机构一端的端面上;导轨壳安装在连接顶板的上侧;触发块安装在导轨壳的内侧;第二触发板的上端安装在触发块的下端面上;第一触发杆的上端安装在第二触发板的下端;第八触发杆的一端安装在第一触发杆下端的侧面上;第三触发杆的上端安装在第八触发杆的另一端;第四触发杆的一端安装在第三触发杆下端的侧面;第五触发杆的上端安装在第四触发杆另一端的下侧;第二限位弹块安装在限位槽的上端;第二限位弹块与限位槽之间安装有第六弹簧;且第六弹簧的上端安装在第二限位弹块的下端;第六弹簧的下端安装在限位槽的下端面上;

第二弹块的下端安装在第二限位弹快的上端;第二弹块的上端位于连接底板上的方形通孔中;且第二弹块与第五触发杆配合;

上述护栏机构包括第一触发板、连接柱、支撑杆、第二触发板、连接圆柱、护栏底座、护栏底壳、第二弹簧、栏杆轴、第六触发杆、第七触发杆、支撑板、齿条、圆形腔、栏杆轴套、栏栅、第三弹簧、齿轮、压缩快、齿条套、第二连接杆、护栏顶板、方形腔、方形槽、第一弹块、第四弹簧、第一限位弹块、导槽、方形孔、护栏顶壳、圆形孔、压缩腔、第三连接杆、护栏底壳,其中护栏底座的两端对称地开有两个方形槽;护栏底座上位于两个方形槽的下端开有两个方形腔;护栏底壳的两端对称地开有两个方形孔;且两个方形孔与两个方形槽配合;护栏底壳安装在护栏底座上侧;两个护栏底侧壳分别对称的安装在护栏底壳的两侧;连接圆柱的两端分别安装在两个相邻的连接机构中相对的连接半环上;连接圆柱的外圆面上对称安装有两组均匀分布的栏栅;且其中一组栏栅的下端位于护栏底壳的上端;护栏顶板安装在两组栏栅中的另一组的上侧;护栏顶板的两侧对称地开有两个圆形孔,护栏顶板上两个圆形孔的下端开有两个圆形腔;两个护栏顶壳分别安装在护栏顶板的两端;第二触发板下端的两侧分别安装有一个支撑杆;且支撑杆位于第二触发板的前侧;两个压缩块分别安装在两个支撑杆的下端;且两个压缩块位于圆形腔内;两个第二弹簧的上端分别安装在两个压缩块的下端面上;两个第二弹簧的下端分别安装在两个圆形腔的底面上;两个支撑板固定安装在护栏底壳上端且分别位于两端;两个齿条套分别安装在两个支撑板上;两个齿条分别安装在第二触发杆两端的下侧且两个齿条分别穿过两个齿条套;两个齿条分别与两个齿轮啮合;两个第二连接杆的一端分别安装在两个齿条的侧面上;且两个第二连接杆分别位于两个齿轮与两个齿条套之间;两个第三连接杆分别安装在两个第二连接杆的另一端;两个第六触发杆的一端分别安装在齿条的下端;两个第七触发杆的上端分别安装在两个第六触发杆的另一端;两个第七触发杆分别与两个第一弹块配合;两个栏杆轴套对称地安装在连接圆柱的内圆面上;栏杆轴安装在两个栏杆轴套的内圆面上;且栏杆轴的两端分别安装在两个齿轮相对的端面上;如图15所示,第三弹簧的两端分别安装在连个栏杆轴套相对的端面上;且第三弹簧嵌套在栏杆轴的外圆面上;

上述护栏机构与连接机构之间通过第三连接诶杆与第四连接杆连接,且第三连接杆位于第四连接杆的上侧;两个支撑块分别安装在与其相对应的两个护栏顶壳的侧面。

2.根据权利要求1所述的一种市政工程使用的防攀爬护栏,其特征在于:上述栏杆轴通过轴承与栏杆轴套配合安装。

3.根据权利要求书1所述的一种市政工程使用的防攀爬护栏,其特征在于:上述第一弹簧为压缩弹簧。

4.根据权利要求书1所述的一种市政工程使用的防攀爬护栏,其特征在于:上述伸缩杆通过转动连接与卡块配合的替换方案为上述伸缩杆通过球铰链与卡块配合。

我要求购
我不想找了,帮我找吧
您有专利需要变现?
我要出售
智能匹配需求,快速出售