欢迎来到知嘟嘟! 联系电话:13336804447 卖家免费入驻,海量在线求购! 卖家免费入驻,海量在线求购!
知嘟嘟
我要发布
联系电话:13336804447
知嘟嘟经纪人
收藏
专利号: 2017103243403
申请人: 周辰峰
专利类型:发明专利
专利状态:无效专利
专利领域: 医学或兽医学;卫生学
更新日期:2024-02-26
缴费截止日期: 暂无
价格&联系人
年费信息
委托购买

摘要:

权利要求书:

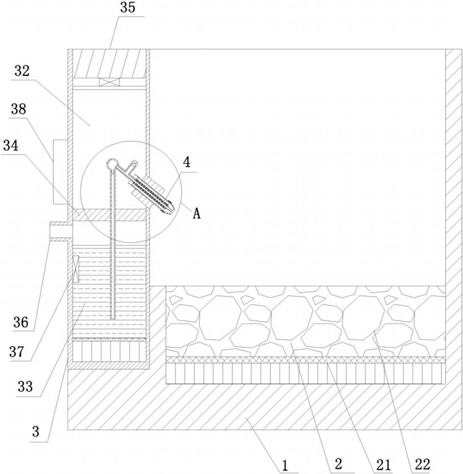
1.一种家用干湿混蒸桑拿装置,其特征在于,包括底座,固定在底座上的干蒸桑拿组件和混蒸桑拿组件;所述干蒸桑拿组件包括与底座安装到一起的加热盘,所述加热盘上铺设有桑拿石;所述混蒸桑拿组件包括固定在所述桑拿石一侧的筒体,所述筒体内空间被密封座密封分隔为上部的鼓风室和下部的热水室,所述鼓风室顶部安装有鼓风机,所述鼓风室内部连通有二流体喷管,所述二流体喷管的喷头朝向所述桑拿石方向,所述二流体喷管的进风口与所述鼓风室连通,所述二流体喷管的进液口连通到三通管的输出端,所述三通管的进液端与输水管连通,所述三通管的进气端设有电控阀门,所述输水管穿过所述密封座延伸到热水室底部。

2.根据权利要求1所述的家用干湿混蒸桑拿装置,其特征在于,所述二流体喷管还包括加热管和套设在所述加热管外的外管,所述加热管内部中空构成进液通道,所述进液通道顶端与所述喷头的出液口连通,其末端通过所述三通管与所述输水管连通;所述外管与所述加热管之间留有进气空隙,所述进气空隙顶端与所述喷头的出气口连通,末端与所述鼓风室连通。

3.根据权利要求2所述的家用干湿混蒸桑拿装置,其特征在于,所述三通管末端安装有转接球,所述转接球下部设有进水嘴。

4.根据权利要求3所述的家用干湿混蒸桑拿装置,其特征在于,所述热水桶上还设有与外界连通的注水嘴。

5.根据权利要求4所述的家用干湿混蒸桑拿装置,其特征在于,所述喷头包括喷液管和套设在所述喷液管外部的喷气管,所述加热管顶端设有连接圈,所述喷液管末端设有对应套接在所述连接圈外侧的环形槽,所述喷液管与所述加热管通过所述环形槽与所述连接圈对应连接在一起,且所述喷气管与所述外管连接处的外侧还套设有弹性密封胶圈。

6.根据权利要求5所述的家用干湿混蒸桑拿装置,其特征在于,所述外管外壁设有防滑凸起,所述密封胶圈内侧设有卡接槽,所述密封胶圈套通过所述卡接槽和所述防滑凸起对应卡接到外管外侧。

7.根据权利要求6所述的家用干湿混蒸桑拿装置,其特征在于,所述外管末端设有管接头,所述三通管的输出端固定到所述管接头上,且所述加热管的末端插装到所述三通管内。

8.根据权利要求7所述的家用干湿混蒸桑拿装置,其特征在于,所述热水室内还设有温度探头,所述筒体外侧安装有控制器,所述控制器分别与所述温度探头、所述加热管、所述鼓风机和所述电磁阀电连接。